PRODEMAND 139105 Front Shock Absorber

SECURE FRONT SHOCK ABSORBER
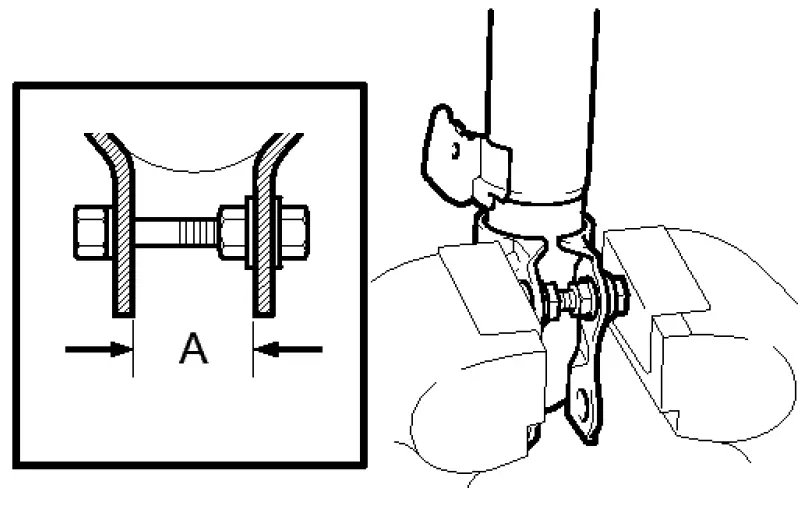
Install the bolt and nut to the front shock absorber as shown in the illustration and secure the front shock absorber in a vise.
Identifying Front Shock Absorber Bolt And Nut

INSTALL FRONT COIL SPRING LOWER INSULATOR
Install the front coil spring lower insulator to the front shock absorber.
NOTE
Make sure that the front coil spring lower insulator is positioned in the depression of the lower spring seat.
INSTALL FRONT SPRING BUMPER
INSTALL FRONT COIL SPRING
- Using SST, compress the front coil spring.
- SST: 09727-30021
- 09727-00010
- 09727-00021
- 09727-00031
Compressing Front Coil Spring

NOTE
Do not use an impact wrench. It will damage SST. Install the front coil spring.
Identifying Front Coil Spring
NOTE
Fit the lower end of the front coil spring into the gap of the spring lower seat.
INSTALL FRONT COIL SPRING UPPER INSULATOR
Install the front coil spring upper insulator to the front shock absorber with the protrusion on the insulator facing the outside of the vehicle.
Installing Front Coil Spring Upper Insulator
INSTALL FRONT COIL SPRING UPPER SEAT
Install the front coil spring upper seat to the front shock absorber assembly with the mark facing the outside of the vehicle.
Identifying Front Coil Spring Upper Seat & Protrusion

NOTE
- Align the cutout of the front coil spring upper seat with the protrusion on the front coil spring upper insulator.
- Check that the slot on the piston rod and the slot on the front coil spring upper seat are aligned.
INSTALL FRONT SUSPENSION SUPPORT DUST SEAL
Install a new front suspension support dust seal.
INSTALL FRONT SUSPENSION SUPPORT SUB-ASSEMBLY
TEMPORARILY TIGHTEN FRONT SUPPORT TO FRONT SHOCK ABSORBER NUT. Temporarily tighten a new front support to front shock absorber nut.
Identifying Front Support To Front Shock Absorber Nut
Remove SST from the front coil spring..
NOTE
Do not use an impact wrench. It will damage SST.
INSTALL FRONT SHOCK ABSORBER WITH COIL SPRING
Install the front shock absorber with coil spring (upper side) with the 3 nuts.
Locating Front Shock Absorber Nuts


Torque: 50 Nm 510 kgf cm, 37 ft lbf
Install the front shock absorber with coil spring (lower side) to the steering knuckle with the 2 bolts and 2 nuts.
Torque: 240 Nm 2447 kgfcm, 177 ft lbf .Fully tighten the front support to front shock absorber nut.
Locating Front Shock Absorber Nut

Torque: 47 Nm 479 kgfcm, 35 ft.lbf. Apply No. 2 MP grease into the suspension support subassembly. bb
Locating Grease Applying Area On Suspension Support Sub Assembly
NOTE
Do not apply grease to the rubber surfaces of the front suspension support sub-assembly.
INSTALL FRONT SUSPENSION SUPPORT DUST COVER
Install the front suspension support dust cover.
Identifying Front Suspension Support Dust Cover


INSTALL FRONT SPEED SENSOR
Install the front speed sensor and front flexible hose to the front shock absorber with the bolt.
Locating Front Speed Sensor Bolt
Torque: 29 Nm (296 kgfcm, 21 ft lbf
NOTE
Do not twist the front speed sensor when installing it.
HINT
Install the speed sensor harness bracket first and then the front flexible hose.
Identifying Front Speed Sensor Clamp

INSTALL FRONT STABILIZER LINK ASSEMBLY
Install the front stabilizer link assembly to the front shock absorber with coil spring with the nut.
Installing Front Stabilizer Link Assembly
Torque: 74 Nm 755 kgfcm, 55 ft lbf
NOTE
If the ball joint turns together with the nut, use a hexagon wrench (6 mm) to hold the stud bolt.
- INSTALL OUTER COWL TOP PANEL.
- INSTALL WINDSHIELD WIPER MOTOR AND LINK ASSEMBLY.
- INSTALL COWL TOP VENTILATOR LOUVER LH.
- INSTALL COWL TOP VENTILATOR LOUVER RH.
- INSTALL HOOD TO COWL TOP SEAL.
- INSTALL FRONT WIPER ARM AND BLADE ASSEMBLY RH.
- INSTALL FRONT WIPER ARM AND BLADE ASSEMBLY LH.
- INSTALL FRONT WIPER ARM HEAD CAP.
- INSTALL FRONT WHEEL
- Torque: 103 Nm 1050 kgfcm, 76 ft lbf
INSPECT AND ADJUST FRONT WHEEL ALIGNMENT
HINT
Inspect and adjust front wheel alignment.

INSTALL FRONT COIL SPRING UPPER SEAT

















