KB KAIBO KX-09BP WiFi Print Camera

Instruction Before Use
- Please tear off the protective film of the lens before.

- The print needs taking a while to warm up, so the first pictures are blurry.

Function Keys
- Up Key
- Confirm / Delete Key
- Down Key
- Back Key / Main Menu
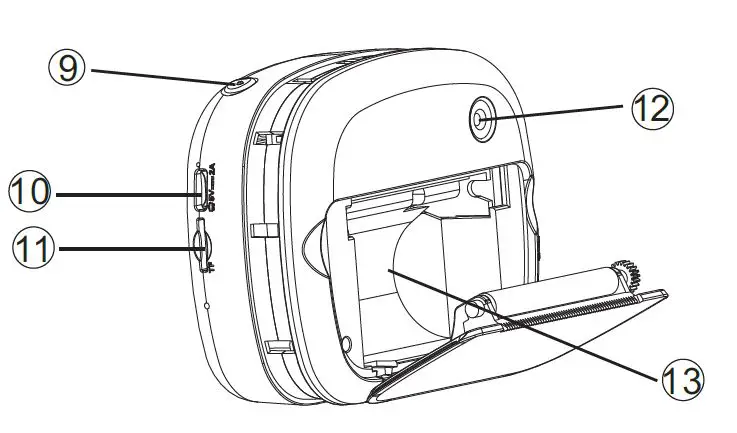
- Photo Sticker: Press this button enter the Sticker Mode and press up/down key to choose different sticker
- Power on/off: Long press for 3 seconds to turn on/off
- Front Camera
- Display

- Photo / Video / Camera Switch / Video Play
Key: Press this button for photo & video; Long press it to switch the front / rear camera; Choose a video from album page and press this button to play the video - Charging Port
- Memory Card Jack
- Rear Camera
- Print Paper Compartment

WiFi Operating Guidance
- Step 1: Scan the QR code to download APP;
Step 2: Select the corresponding APP to download: FR_PRINT: (IOS Android)
- Step 3: Click the menu button and turn on the WiFi;
- Step 4: Enter wlan list of your mobile phone and select the Wifi name of: FR_PRINT;
- Step 5: Enter the password: 12345678 to connect
Replace the Printing Paper
Notice: Tear the photo paper in the zigzag direction.
Step 1: Hold the two buckles and outwards to open the cover of compartment;
Step 2: Load the printing paper as shown.
TF Card Installation
- Hold the TF card slot in the correct direction until the TF card is fixed in the card slot. When removing the TF card, please gently press down the TF card. After the TF card is ejected, you can take it out. (The TF card must be a high-speed card above C10 to be used.Please do not plug or unplug the TF card while the machine is working to avoid damage to the machine and memory card)
- Please pay attention to the direction in which the TF card is inserted. If it is inserted upside down, it may damage the machine, TF card and card slot.
- When you insert the TF card into the machine, the machine will set the TF card as the default storage device. The data in the original TF card may not be readable. Please make a data backup first.
- If the TF card is not compatible with the machine, please use the format option in the memory menu of the machine to format the TF card or try another TF card.

Charging Instruction
1 . The indicator light is always on during charging, and the full indicator light is off.
2 . When there is input over-voltage, output under-voltage and over-voltage, output short circuit or chip over-temperature, and the battery is not connected, the indicator light flashes at a frequency of 1.3HZ.
3 . It takes 70-130 minutes to fully charge the battery.
Battery & Safety
- This machine uses a built-in 7.4V/800mAh polymer lithium battery, which cannot be removed or replaced. If it is damaged, contact the seller for repair.
- The battery must be charged under adult supervision. When the battery is charging, the toy switch should be turned off.
- The power terminals must not be short-circuited. Do not connect more than the recommended quantity or the recommended adapter specification to the power supply with a voltage greater than the recommended voltage : 5V___2A).
- .During the use of the toy, check whether the wire plug shell and other parts are damaged regularly. If the damage is found, stop using it until the repair is complete.
- When the machine is not used for a long time, please charge the battery fully before turning off the power switch.
Setting Details
Step 1. Press the set button to enter the menu page;
Step 2 .Press the up/down button to select the corresponding requirement.
- Language Settings

- Printing Density
Note: Larger numbers are higher printing density. - Cyclic Record

- Sound

- Video Quality

- Record Audio

- Image Quality

- Continuous Shooting

- Camera Timer

- Format

- Recovery Setting

- Auto Power-off

Specification
- Dimensions
90*112*42mm - Display
2.4-inch color screen - Battery specification
7.4V/800mAh lithium battery - Pho to pape r specification
57X27mm glossy - Shooting mode:
Single shot, 3-20 seconds timer - Photo resolution
4032*3024, 1920*1440, 1280*960 - Video resolution
1080FHD, 720P - Maximum support
32G - Print density
1highest, 2high, 3medium, 4low, 5lowest - Function
WIFI Photographing Video Printing - System language
Chinese, Japanese , English, Russian, etc. - Continuous shooting
3-10 shots - Loop photography
1-10 minutes - Transmission interface
Type-C - Support system
WINDOWS XP/7/8 - Body weight
178g - Working temperature
-5℃ to 40℃
Q & A
Q Paper does not come out
Ans
- The printing paper should be reserved about 1cm outside the cover
- Check if the paper cover is tightly closed
- Check whether the camera’s print switch is turned on, or the print switch is abnormal
Q Blurred printing
Ans
- The thermal paper needs to be preheated, and 2-5 sheets are required
- The camera has a layer of protective film, which should be removed before use, which will affect the sharpness of the shooting
- Adjust the printing density to be high, medium, and low (setting interface→find printing density→select high, medium and low→OK)
- The printing paper is not from the original factory (need to be replaced with original printing paper)
Q Printing paper jam
Ans
- The printing paper is not put properly, the printing paper needs to be rolled tightly
- Repeated paper jams, restart the camera or reset the keyhole
Q Print with missing edges
Ans Check whether the paper is in the correct position
Q Streaks in print
Ans Reload the paper and pack two more sheets to see if there are still streaks
Q Cannot print out the screen
Ans Check whether the printing paper is put in the correct direction
Q
The camera shows a memory card error
Ans
- Format the memory card
- The camera freezes or restarts repeatedly, and the memory card needs to be replaced
- The memory card is not compatible with the camera (the original memory card is required)
Q The memory card tray cannot be ejected
A Check whether there are foreign objects in the memory card socket and whether the SD is normal





Step 2: Select the corresponding APP to download: FR_PRINT: (IOS Android)


Note: Larger numbers are higher printing density.




























