
Operating Instructions
2400W Electronic Micathermic Heater with Wifi

Model: GMH295
General Care and Safety Guide
YOUR SAFETY IS IMPORTANT TO US. PLEASE ENSURE YOU TAKE NOTE OF THE INSTRUCTIONS AND WARNINGS OUTLINED IN THIS MANUAL.
CAUTION: In order to avoid a hazard due to inadvertent resetting of the thermal cut-out, this appliance must not be supplied through an external switching device, such as a timer, or connected to a circuit that is regularly switched on and off by the utility.
- This appliance is not intended for use by persons (including children) with reduced physical, sensory or mental capabilities or lack of experience and knowledge unless they are supervised or have been given instruction concerning the use of the appliance by a person responsible for their safety.
- Children should be supervised to ensure that they do not play with the appliance.
- If the supply cord is damaged, it must be replaced by the manufacturer, its service agent, or similarly qualified persons in order to avoid a hazard.
WARNING: You must not cover this appliance. Covering this appliance presents a fire risk and will activate the safety fuse; permanently disabling the unit.
WARNING: Do not use this appliance in small rooms when they are occupied by persons not capable of leaving the room on their own unless constant supervision is provided.
WARNING: To reduce the risk of fire, keep textiles, curtains, or any flammable material a minimum distance of 1 meter from the air outlet.
- Use only the voltage specified on the rating label of the appliance.
- Keep all objects at least 1 meter from the front and 150mm from the sides of the appliance.
- This appliance is intended for household use only and not for commercial or industrial use.
- Indoor use only.
- Use this appliance only as described in this manual. Any other use is not recommended by the manufacturer and may cause fire, electric shock or injury.
- Do not use the appliance if it has been dropped or damaged.
- The common cause of overheating is deposits of dust or fluff in the appliance.
Ensure these deposits are removed regularly by unplugging the appliance and vacuum cleaning the air vents and grills.
General Care and Safety Guide
- Never use the appliance to dry clothes.
- Always unplug appliances when not in use.
- When the appliance has been unpacked, check it for transport damage and ensure all parts have been delivered. If parts are missing or the appliance has been damaged, contact the Customer Services Team.
- Do not use if there are visible signs of damage to the appliance.
- Do not connect the appliance to the mains supply until completely assembled and adjusted.
- Ensure hands are dry before handling the plug or main unit.
- Ensure the appliance is on a flat, stable, heat-resistant surface.
- Do not operate with cord set coiled up as a heat build-up is likely, which could be sufficient to become a hazard.
- Carry out regular checks of the supply cord to ensure no damage is evident
- Do not operate this appliance with a damaged cord, plug or after the appliance malfunctions or has been dropped or damaged in any manner. Take to a qualified electrical person for examination, electrical service or repair.
- Do not twist, kink or wrap the cord around the appliance, as this may cause the insulation to weaken and split. Always ensure that all cord has been removed from any cord storage area and is unrolled before use.
- It is recommended that this appliance is plugged directly into the wall socket. Power boards are not rated to supply power to high-wattage appliances.
- A correctly specified, undamaged extension cord may be used with this appliance provided it is used in a safe manner.
- Do not remove the plug from the power socket until the appliance has been switched off.
- Do not remove the plug from the power socket by pulling the cord; always grip the plug.
- Do not place a cord under the carpet or cover it with rugs or furniture. Arrange the cord so it cannot be tripped over.
- Don’t place appliances on bedding or on thick & long carpets where the openings may get blocked.
- Switch off and use the handle provided when moving
- Do not place the appliance close to a radiant heat source.
- Do not insert or allow foreign objects to enter any ventilation or exhaust opening, as this may cause an electric shock, fire or damage to the appliance.
- Do not sit on the appliance.
- Do not use abrasive cleaning products on this appliance. Clean with a damp cloth (not wet) and rinsed in hot soapy water only. Always remove the plug from the mains supply before cleaning.
- Do not operate in areas where petrol, paint, or other flammable liquids are used or stored.
- Do not use this appliance in the immediate surroundings of a bath, a shower, a swimming pool or other liquids.
- The appliance must not be immersed in any liquids.
- There are no user-serviceable parts installed in the unit.
- Do not place the unit in wardrobes or other enclosed spaces as this may cause fire hazards.
- This unit is not supposed to be used in or around locations where foodstuffs, works of art or delicate articles of science, etc. are stored.
- If your appliance does not work or is not working properly, contact the place of purchase or the Customer Services Team.
The remote control supplied with this appliance uses a CR2025 coin type battery.
DANGER IF SWALLOWED
Keep batteries out of reach of children. Swallowing may lead to serious injury or death in as little as 2 hours due to internal burns. If swallowed, go straight to a hospital emergency room. Dispose of used batteries immediately.

Assembly Instructions
WARNING: Heater must not be used without the feet, castors, wheels fitted.
WARNING: Operate the appliance in normal upright position only with wheel assemblies attached to the bottom. Any other position could create a hazardous situation.
Before using this appliance, it must have the castor plates with castors fitted.

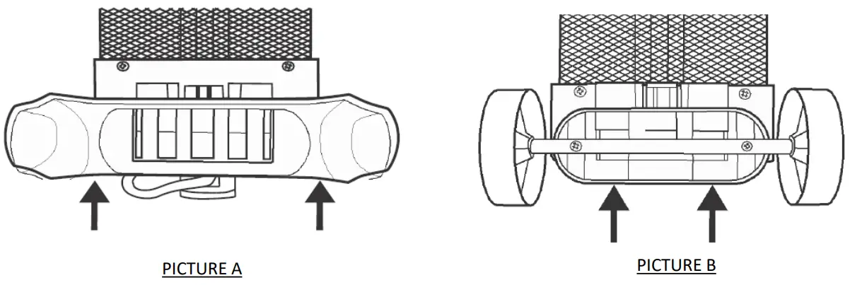
ASSEMBLY INSTRUCTIONS
- Carefully turn the Main Body upside-down on a scratch-free and stable surface. Be careful to prevent damage to the cosmetic finish or your floor surfacing.
- Slide the wheelset fully into the grooves in the base of the heater nearest to the back of the heater as shown in Picture A.
- Slide the foot set fully into the grooves at the control panel/power cord end of the heater as shown in Picture B.
- Turn the heater the right way up.
Operating Your Heater
Always choose a safe location for the heater, keeping in mind the safety precautions outlined. Ensure all packaging has been removed from the unit before use. Please follow the below instructions.
WARNING: In order to avoid overheating or fire, do not cover the heater.
WARNING: Keep all objects at least 1 meter from the front, sides and rear of the appliance.
WARNING: Do not use this heater with a programmer, separate timer, remote-control system or any other device that switches the heater on automatically, since a fire risk exists if the heater is covered or positioned incorrectly.
WARNING: Never leave this heater unattended when in use. Ensure the heater is on a flat, stable, heat-resistant surface. Once the heater is in a safe operating position and all switches are in the off position, insert the power plug into the main outlet and switch on.
CAUTION: Ensure the power cord is not tight because if pulled it may partially pull the plug from the socket. A partially inserted plug will overheat the plug and socket and could result in fire.
Note: When the appliance is turned on for the first time, it may release a slight odor or smoke. This odor or smoke is a normal occurrence caused by the initial heating of the heating elements and should not occur again.
Operating Your Heater
HEATER POWER SWITCH
- Check that the heat control switch at the back of the heater is set to Off position before plugging the heater in and turning on the mains supply.
- Turn the Power Switch at the back of the heater to the “I” position.
CONTROL PANEL

HEAT CONTROLS
- Press the Power button to switch the appliance ON.
- The LED will display the current room temperature.
- The “▲” and “▼” buttons can be used to select High Heat (2400W) or Low Heat (1200W). This is indicated by the segments under the temperature display.
THERMOSTATIC CONTROL
- Press the Temperature button then use the “+” and “-” buttons to adjust the temperature to your desired setting (from 5-36°C). Once you have set the desired temperature, the LED will display the room temperature again and will rise as the room temperature increases.
NOTE: the temperature is read from a thermostat in the heater, for a more accurate reading, position a separate thermometer in another part of the room.
To find your preferred comfort level, Set the thermostat to the maximum setting. When the room reaches a comfortable temperature for you, look at the temperature reading on the heater and then set the heater to this temperature. The heater will now cycle on and off to maintain the set temperature.
TIMER
- Press the Timer button then use the “▲” and “▼” buttons to adjust the length of time from 1–18 hours that you would like the heater to run for before turning off automatically.
- Each press of the “▲” and “▼” buttons will adjust the length of time by an hour.
- Once the timer has been set, the timer will count down the hours, hour by hour until the heater turns itself off.
- To turn off the Timer function, press the “▼” button back down to “0” hours or simply turn the unit off.
CHILD LOCK
Hold down both the “▲” and “▼” buttons to lock your heater. The Child Lock symbol will appear on the LED next to the “▲” and “▼” buttons. Hold them down again to
disable Child Lock.
REMOTE CONTROL
The remote will operate all of the controls the same as the control panel. This remote requires a CR2025 battery (included).

WiFi – Downloading and Setting up APP
This APP is supported only on 2.4GHz Wi-Fi channels. Please ensure your phone is 2.4GHz capable
Note this device will only work within your home WIFI system.
This does not operate on 3G or 4G internet connections. You will need a connection to your home Wi-Fi.

Download Goldair mobile APP
- Open the APP Store or Google Play on your mobile phone.
- Open ‘Search’ and enter ‘Goldair’
- Click ‘GET’ and begin to download and install.
Once downloaded to your phone open the APP
- Tap REGISTER near the bottom of the screen.
- Read and agree to the Privacy Policy.
- Add your email address.
- Tap ‘Obtain verification code’
You will then receive an email with a verification code.
- Enter the verification code from your email
- Create a password.
- Then tap confirm.
If you haven’t received a verification code via email, tap the resend button, and when the verification code is received follow the above steps.

Your APP is now registered and ready for pairing to your device.
Pairing APP to Device
Details for pairing this heater to the Goldair App can be found at the below website link.
Either scan the QR code below or enter the website into your browser.
![]() | ![]() |
| https://www.goldair.co.nz/goldair-app | https://www.goldair.com.au/goldair-app |
Pairing Mode
To connect to the Goldair app you must ensure that your device is in pairing mode which is where the Wifi Icon is flashing. Most products will be in pairing mode after switching the device on but if it is not:
– Put the device on STAND-BY mode (ON at the wall but the device is OFF)
– Hold down the small black button on the back of the heater for around 5 seconds or until the Wifi icon begins to flash.
Quick Connection
– Turn your phone’s Bluetooth ON
– Ensure your device is in Pairing Mode (see instructions above)
– Tap the + on the top right corner to navigate to the main device screen. Tap ‘Auto Scan’ – your device will appear. Tap the device and follow the instructions.
– If Quick Connection does not work, follow the manual via the QR Code above
Operating Your Heater
SAFETY DEVICES
This appliance has two protection devices:
- Tilt Switch – this will automatically turn the appliance off if the appliance is not in the correct operating position.
- Resettable thermal link – this will automatically disconnect the power to the appliance at a pre-set overheat temperature. After cooling down it will reset and power on again. If this occurs, investigate what is causing the appliance to overheat.
CAUTION: The appliance generates heat during use. Precautions must be
taken to prevent the risk of burns, scalds, fires or other damage to persons.
CARE AND CLEANING
The heater requires regular cleaning to ensure trouble-free operation:
- Unplug the heater from the main supply before cleaning.
- Ensure that the heater has been allowed to cool down completely before cleaning.
- The common cause of overheating is deposits of dust or fluff in the appliance.
Ensure these deposits are removed regularly by unplugging the appliance and vacuum cleaning the air vents and grills. - Use a damp cloth (not wet) to wipe the exterior of the heater to remove dust and dirt.
- Never use solutions such as petrol, thinners or polishing agents.
- Ensure the heater is dry before plugging back into the main supply.
- Do not attempt to dismantle the appliance.
- There are no user-serviceable parts. For service or repair, contact an authorized electrical service technician.

PROOF OF PURCHASE
To receive a warranty retain the receipt as proof of purchase.
SUPPORT AND TECHNICAL ADVICE
| Goldair – New Zealand Monday – Friday 8am-5pm Phone +64 (0)9 917 4000 Phone 0800 232 633 [email protected] | Goldair – Australia Monday – Friday 8am-5pm Phone +61 (0)3 9365 5100 Phone 1300 465 324 [email protected] |
Three Year Warranty
Thank you for purchasing this Goldair Platinum product. Your product is warranted against faults and manufactured when used in normal domestic use for a period of three years. In non-domestic use Goldair limits the voluntary warranty to three months. Goldair undertakes to repair or replace this product at no charge if found to be defective due to a manufacturing fault during the warranty period.
This warranty excludes damage caused by misuse, neglect, shipping accident, incorrect installation, or work carried out by anyone other than a qualified electrical service technician.
PLEASE KEEP YOUR RECEIPT AS THIS WILL HELP VERIFY YOUR WARRANTY.
The benefits given to you by this warranty are in addition to other rights and remedies available to you under law in relation to the goods or services to which this warranty relates.
In Australia, our goods come with guarantees that cannot be excluded under the Australian Consumer Law. You are entitled to a replacement or refund for a major failure and compensation for any other reasonably foreseeable loss or damage. You are also entitled to have the goods repaired or replaced if the goods fail to be of acceptable quality and the failure does not amount to a major failure.
In New Zealand, this warranty is additional to the conditions and guarantees of the Consumers Guarantee Act (1993).
| Goldair – New Zealand CDB Goldair PO Box 100-707 N.S.M.C Auckland Phone +64 (0)9 917 4000 Phone 0800 232 633 www.goldair.co.nz | Goldair – Australia CDB Goldair Australia Pty PO Box 574 South Morang Victoria, 3752 Phone +61 (0)3 9365 5100 Phone 1300 GOLDAIR (1300 465 324) www.goldair.com.au |
Goldair Three Year Warranty (IMPORTANT: Please complete and retain this warranty card)
Name………..
Address……………..
Place Of Purchase…………………
Date Of Purchase……………..
Name Of Product………….
Model Number……………….
Attach a copy of the purchase receipt to this warranty card
Due to continual design improvements, the product illustrated in this User Manual may differ slightly from the actual product.
This page is intentionally left blank

![]()
New Zealand
PO Box 100707,
North Shore Mail Centre,
Auckland, 0745
www.goldair.co.nz
Australia
PO Box 574,
South Morang,
Victoria, 3752
www.goldair.com.au





















