STE403NP SINGLE PROGRAMMING ELECTRONIC THERMOSTAT
User Guide 
WARNING
Before installing and operating this product, the owner and/or installer must read, understand and follow these instructions and keep them handy for future reference. If these instructions are not followed, the warranty will be considered null and void and the manufacturer deems no further responsibility for this product. Moreover, the following instructions must be adhered to in order to avoid personal injuries or property damages, serious injuries, and potentially fatal electric shocks.
All electric connections must be made by a qualified electrician, according to the electric and building codes effective in your region. Do NOT connect this product to a supply source other than 347 VAC, and do not exceed the load limits specified.
Protect the heating system with the appropriate circuit breaker or fuse. You must regularly clean dirt accumulations on the thermostat. Do NOT use fluid to clean the thermostat air vent.
Note:
When a part of the product specification must be changed to improve operability or other functions, priority is given to the product specification itself. In such instances, the instruction manual may not entirely match all the functions of the actual product.
Therefore, the actual product and packaging, as well as the name and illustration, may differ from the manual.
The screen/LCD display shown as an example in this manual may be different from the actual screen/LCD display.
DESCRIPTION
The electronic thermostat STE403NP can be used to control electric heating units such as electric baseboards, convectors, or aeroconvectors. It keeps the temperature of a room at the requested set point with a high degree of accuracy. This product is designed for installations with electrical current – with a resistive load – ranging from 1.2 A to 16.7 A (400 to 5750 W at 347 VAC).
This thermostat is not compatible with the following installations:
- electrical current higher than 16.7 A with a resistive load (5750 W @ 347 VAC);
- electrical current lower than 1.2 A with a resistive load (400 W @ 347 VAC);
- inductive load (presence of a contractor or a relay); and
- central heating system.
Parts supplied:
- one (1) thermostat;
- two (2) mounting screws; and
- two (2) solderless connectors suitable for copper wires.
INSTALLATION
Selection of thermostat location
The thermostat must be mounted on a connection box on a wall facing the heating unit, at around 1.5 m (5 feet) above the floor level, on a section of the wall exempt from pipes or air ducts.
Do not install the thermostat in a location where temperature measurements could be altered. For example:
- close to a window, on an external wall, or close to a door leading outside;
- exposed directly to the light or heat of the Sun, a lamp, a fireplace, or any other heat source;
- close or in front of an air outlet;
- close to concealed ducts or a chimney; and
- in a location with poor airflow (e.g. behind a door), or with frequent air draft conditions (e.g. head of stairs).
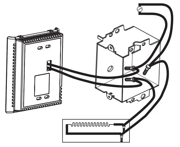
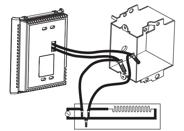
Thermostat mounting and connection
- Cut off the power supply on lead wires at the electrical panel in order to avoid any risk of electric shock.
- Ensure that the air vents of the thermostat are clean and clear of any obstruction.
- Make the required connections using the following figures by selecting the proper type of installation (2 wires or 4 wires), and using solderless connectors. For connections with aluminum wires, you must use CO/ALR connectors. Please note that the thermostat does not have polarity.
2-WIRE INSTALLATION
4-WIRE INSTALLATION
- Using a screwdriver, loosen the screw retaining the mounting base and front part of the thermostat. Remove the front part of the thermostat from the mounting base by tilting it upward.

- Align and secure the mounting base to the connection box using the two screws supplied.

- Reinstall the front part of the thermostat on the mounting base and tighten the screw at the bottom of the unit.

- Turn on the power.
- Set the thermostat to the desired setting (see the following section). Important: you must activate the Fan mode when the heating unit is equipped with a fan; failure of the heating unit could occur if not doing so.
OPERATION

Ambient temperature
The figures displayed above the
icon indicate the ambient temperature, ± 0.5 degrees.
Temperature can be displayed in degrees Celsius or Fahrenheit (see “Display in degrees Celsius/ Fahrenheit”).
Temperature set point
The figures displayed above the
icon indicate the temperature set point. It can be displayed in degrees Celsius or Fahrenheit (see “Display in degrees Celsius/Fahrenheit”).
To adjust the set point, just press down the right button to increase the value, or the left button to decrease it. Set points can be adjusted by increments of 0.5°C or 1°F. To quickly scroll through the set point values, press and hold down the button.
The minimum set point is 3°C (37°F), and the maximum set point is 30°C (86°F).
In Day mode, you can turn off the thermostat by lowering the set point below 3°C. The set point value displayed will be –.-, and heating system start-up will be impossible.
Day mode and Night mode![]()
The thermostat includes a Day mode and a Night mode, both of them having their own independently adjustable and recorded set point. When switching from one mode to the other, the system will automatically use the temperature set point corresponding to the Day/Night mode selected. The standard factory set point adjustment is 21°C for the Day mode, and 18°C for the Night mode.

The current Day/Night mode selection is indicated on the display by the Sun or Moon icon. In order to manually switch from one mode to the other, simultaneously press down the two buttons and release them immediately.
Night mode timer
The Night mode features a timer that automatically returns to the Day mode after a selectable time period. This timer allows the temporary use of a temperature set point. The standard factory adjustment of the timer is 8 hours. With this adjustment, the thermostat automatically returns to Day mode 8 hours after being switched to the Night mode.
For example, if you want a night temperature lower than the day temperature, both Day/Night mode set points will first have to be set at the desired temperatures. Before bedtime, the Night mode temperature set point will be activated by switching manually to the Night mode. The timer is set for the duration of the night. The thermostat will automatically return to the Day mode at the end of the night, and the Day mode temperature set point, which is higher, will become effective at this time.
Night mode timer adjustment procedure
- If necessary, adjust the Day/Night mode set points at the desired temperatures. If needed, switch from one mode to the other by simultaneously pressing down the two buttons and releasing them immediately.
- From the Night mode, simultaneously press down the two buttons for more than 3 seconds until the icon starts to blink, indicating that the adjustment of the Night mode timer is effective. The figures displayed above the icon indicate the current adjustment of the timer.
- If needed, adjust the timer by pressing down the right button to increase the value, or the left button to decrease it. The adjustment range is from 1 hour to 999 hours. To quickly scroll through timer values, press and hold down the button.
- When the adjustment is completed, release the buttons and wait for 5 seconds to exit the adjustment function.
NOTE: The Night mode timer will be automatically reinitialized to the latest recorded value when switching from the Day mode to the Night mode. It is not necessary to readjust the timer every time you switch to the Night mode. The timer is also reinitialized when this value is adjusted.
Once the timer has completed its cycle and when the thermostat is in the Day mode, you must manually return to the Night mode. If you want to automatically return to the Night mode, the Single programming mode must be selected.
Single programming mode![]()
The Single programming mode, which is associated to the Night mode timer, allows alternating between the Day/Night modes and the two corresponding set points over a 24-hour period. Once activated, this mode allows an automatic return to the Night mode after 24 hours.
The Single programming model allows you to define two periods in a single day with different set points.
For example, if the Single programming mode is activated and the Night mode timer is set at 8 hours, the thermostat will be operating in the Night mode for 8 hours at the night temperature set point. Then, it will return to the Day mode for 16 hours operating at the day temperature set point. At the end of the 24-hour cycle, the thermostat will return to Night mode, and the cycle will start again.
The 24-hour cycle starts with the Night mode as soon as the Single programming mode is activated. The Single programming mode activation should be made when you want to return to the Night mode. The normal course of a cycle in the Single programming mode is as follows:
- Night mode: activated for the duration of the Night mode timer cycle. It returns to the Day mode when the timer cycle is completed.
- Day mode: activated for the remaining time of the 24-hour cycle. It returns to the Night mode at the end of the 24-hour cycle.
Adjustment procedure of the Single programming mode:
- If necessary, adjust the Day/Night set point at the desired temperatures. If needed, switch from one mode to the other by simultaneously pressing down the two buttons and releasing them immediately.
- From the Night mode, simultaneously press down the two buttons for more than 3 seconds, until the icon starts to blink, indicating that the adjustment of the Night mode timer is effective. The figures displayed above the icon indicate the current timer adjustment.
If needed, adjust the timer by pressing down the right button to increase the value, or the left button to decrease it. The Night mode timer adjustment range is from 1 hour to 23 hours in the Single programming mode. To quickly scroll through the timer values, press and hold down the button.
NOTE: If you set the timer to any value exceeding 23 hours, it will be impossible to activate the Single programming mode and if it was activated, the Single programming mode will be deactivated. - Activate the Single programming mode by simultaneously pressing down the two buttons for at least 3 seconds. The Single programming mode icon will appear. If the Single programming model was already activated, the same procedure should be used to deactivate it.
- When the adjustment is completed, release the buttons and wait for 5 seconds to exit the adjustment function.
NOTE: It is always possible to manually change the Day/Night mode during a 24-hour cycle. However, any manual return to the Night mode will re-initialize the Night mode timer to the latest value recorded, which modifies the cycle in progress. In all cases, at the end of the 24-hour cycle, the thermostat will return to Night mode and start a new cycle. It is thus not necessary to readjust the Single programming mode when a manual change is made to the Day/Night mode.
Frost-free warning![]()
The Snowflake icon is displayed when the temperature set point is between 3°C (37°F) and 5°C (41°F). A minimum temperature will be maintained to ensure frost control.
Display in degrees Celsius/Fahrenheit
The thermostat can display the ambient temperature and the set point in degrees Celsius (standard factory setting) or Fahrenheit.
Selection procedure for degree Celsius/Fahrenheit display
- From the Day mode, simultaneously press down the two buttons for more than 3 seconds until the
icon starts to blink. - Press down the right button to switch from the degrees Celsius to the degrees Fahrenheit, and conversely. The degree Celsius or Fahrenheit symbol will be displayed.
- When the adjustment is completed, release the buttons and wait for 5 seconds to exit the adjustment function.
Fan mode![]()
When the thermostat is used to control a heating system equipped with a fan, the Fan mode MUST be activated. This mode prevents the system to continuously start and stop, which could cause fan failure. The Fan mode is by default deactivated at the factory. The status of this mode is indicated on the display by the Fan icon.
Adjustment procedure for the Fan mode
- From the Day mode, simultaneously press down the two buttons for more than 3 seconds, until the
icon starts to blink. - Press down the left button to activate or deactivate the Fan mode. The Fan icon will be displayed or not, as applicable.
- When the adjustment is completed, release the buttons and wait for 5 seconds to exit the adjustment function.
Lock option![]()
It is possible to impose a maximum temperature set point by activating this mode. Then, it becomes impossible to exceed this set point, regardless of the current mode (Day/Night).
However, it is still possible to lower the set point at your discretion. All the other functions remain unchanged. To unlock the set point, you must cut off the power supply of the thermostat for security purposes.
Locking procedure
- From the Day mode, adjust the set point at the maximum desired value.
- From the Day mode, simultaneously press down the two buttons for more than 10 seconds, until the Lock icon displays (note that the icon will also blink after 3 seconds).
- Release the buttons. The thermostat is now locked.
Unlocking procedure
- Cut off the power supply of the thermostat at the electrical panel.
- Wait at least 20 seconds.
- Restore the power supply of the thermostat at the electrical panel.
- The Lock icon is blinking on the thermostat display, meaning that it is possible to unlock the thermostat.
- While the Lock icon is blinking, simultaneously press down the two buttons for more than 10 seconds, until the Lock icon disappears.
- Release the buttons. The thermostat is now unlocked.
NOTE: If the thermostat isn’t unlocked within 5 minutes after the restoration of the power supply, the Lock icon will stop blinking and it will be impossible to unlock the thermostat unless cutting off the power supply again.
Heating power indicator
The level of power used to maintain the temperature at the set point is expressed as a percentage indicated by the number of bars in the thermometer displayed. The heating power used is displayed as follows:
![]() | 0 bar = no heat 1 bar = 1% to 25% 2 bars = 25% to 50% 3 bars = 50% to 75% 4 bars = 75% to 100% |
Power failure
In the case of a power failure, the adjustments are automatically saved and recovered when power is restored. Note that the Day/Night mode is recovered only if the Single programming mode was previously deactivated. Otherwise, the thermostat comes back in Day mode, and the Single programming mode icon blinks, meaning that the Single programming mode was previously activated and that it is now deactivated. Blinking will stop as soon as a button is pressed down.
TROUBLESHOOTING
| PROBLEM | DEFECTIVE PART OR PART TO CHECK |
| The thermostat is hot. | In normal operating conditions, the thermostat housing can reach nearly 40°C at maximum load. That is normal and will not affect the effective operation of the thermostat. |
| The heating is always on. | Check if the thermostat is properly connected. Refer to the installation section. |
| The heating does not run even if the thermostat indicates it is on. | Check if the thermostat is properly connected. Refer to the installation section. |
| The display does not turn on. | Check if the thermostat is properly connected. Refer to the installation section. Check the power supply at the electrical panel. Check if the heating unit has a switch. If so, ensure that this switch is turned on. |
| The display turns off a few minutes and then turns on again. | The thermal protection of the heating unit has opened due to overheating. Check if the heating unit is in good condition of operation and that clearance around the appliance is according to the manufacturer’s specifications. |
| The display has low contrast when heating is on. | The load is lower than the minimum load. Install a heating unit that is within the load limits of the thermostat. |
| The displayed ambient temperature is incorrect. | Check the presence of an air stream or a heat source near the thermostat, and correct the situation. |
| The display indicates El or E2. | Faulty thermal sensor. Contact customer service. |
| The weak luminosity of the display. | Possibility of bad contact. Check thermostat wirings. Refer to the installation section. |
N.B. If you are unable to solve the problem after having verified these points, please communicate with our customer service. Consult our website for the phone numbers.
TECHNICAL SPECIFICATIONS
| Supply voltage: 120 to 347 VAC, 50/60 Hz Minimum electrical current with a resistive load: 1.2 A 400 W @ 347 VAC Maximum electrical current with a resistive load: 16.7 A 5750 W @ 347 VAC Temperature display range: 0°C to 40°C (32°F to 99.5°F) | Temperature display resolution: 0.5°C (0.5°F) Temperature set point range: 3°C to 30°C (37°F to 86°F) Temperature set point increments: 0.5°C (1°F) Storage temperature: -20°C to 50°C (-4°F to 120°F) Certification: cCSAus |
LIMITED WARRANTY
This unit has a 3-year warranty. If at any time during this period the unit becomes defective, it must be returned to its place of purchase with the invoice copy, or simply contact our customer service department (with an invoice copy in hand). In order for the warranty to be valid, the unit must have been installed and used according to instructions. If the installer or the user modifies the unit, he will be held responsible for any damage resulting from this modification. The warranty is limited to the factory repair or the replacement of the unit, and does not cover the cost of disconnection, transport, and installation.
E-mail: [email protected]
Web site: www.stelpro.com
4-WIRE INSTALLATION























