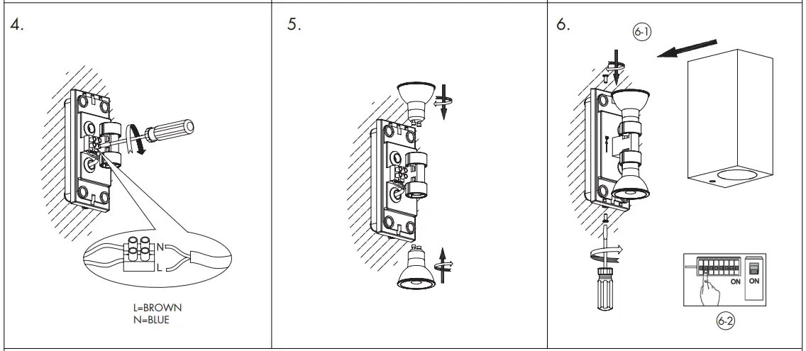
QAZQA 102677 Baleno II WL Plastic Wall Lamp
INSTRUCTION FOR USE




QAZQA 102677 Baleno II WL Plastic Wall Lamp




Download manual
Here you can download full pdf version of manual, it may contain additional safety instructions, warranty information, FCC rules, etc.