KitchenAid Microwave Hood Combination
Installation Guide

MICROWAVE HOOD COMBINATION SAFETY
Your safety and the safety of others are very important.
We have provided many important safety messages in this manual and on your appliance. Always read and obey all safety messages.
This is the safety alert symbol. This symbol alerts you to potential hazards that can kill or hurt you and others. All safety messages will follow the safety alert symbol and either the word “DANGER” or “WARNING.” These words mean:
DANGER You can be killed or seriously injured if you don’t immediately follow instructions.
WARNING You can be killed or seriously injured if you don’t follow instructions.
All safety messages will tell you what the potential hazard is, tell you how to reduce the chance of injury, and tell you what can happen if the instructions are not followed.

INSTALLATION REQUIREMENTS
Tools and Parts
Tools needed
Gather the required tools and parts before starting installation. Read and follow the instructions provided with any tools listed here.
- Measuring tape
- Pencil
- Masking tape or thumbtacks
- Scissors
- No. 3 Phillips screwdriver for 1/4 – 20 x 3″ (7.6 cm) bolts
- Drill
- 3/16″ (5 mm), 3/8″ (1 cm), 5/8″ (1.6 cm) drill bits
- 3/4″ (1.9 cm) hole saw
- Diagonal wire cutting pliers
- Stud finder
- 7/16″ socket wrench (or box wrench) for 1/4″ x 2″ lag screws 1½” (3.8 cm) diam. hole drill bit for wood or metal cabinet
- Keyhole saw
- Caulking gun and weatherproof caulking compound
- Duct tape
Parts supplied
For information on reordering, see the “Replacement Parts” section.
NOTE: The hardware items listed here are for wood studs. For other types of wall structures, be sure to use appropriate fasteners.

- A. 3/16-24 x 3″ (7.6 cm) round-head bolts (2)
- B. 1/4-20 x 3″ (7.6 cm) flat-head bolts (2)
- C. Washers (2)
- D. 3/16″ (5 mm) toggle nuts (2)
- E. 1/4″ x 2″ (0.6 cm x 5.1 cm) lag screws (2)
- F. Sheet metal screws 5/32″ x 5/16″ (0.4 cm x 0.8 cm) (2)
- G. Power supply cord bushing (1)
- H. Damper assembly (for wall or roof venting)
- J. Exhaust vent cover (2)
Not Shown:
■ Mounting plate (Located on the upper polyfoam)
■ Grease filters
■ Charcoal filters
NOTE: Depending on model, grease filter and charcoal filter may be combined.
Materials Needed
Standard fittings for wall or roof venting. See the “Venting Design Specifications” section.
Location Requirements
IMPORTANT: Check the opening where the microwave oven will be installed. The location must provide:
■ Minimum installation dimensions. See the “Installation Dimensions” illustration.
■ Minimum one 2″ x 4″ (5.1 x 10.2 cm) wood wall stud and minimum 3/8″ (1.0 cm) thickness drywall or plaster/lath within cabinet opening.
■ Support for weight of 150 lbs (68 kg) which includes microwave oven and items placed inside the microwave oven and upper cabinet.
■ Grounded electrical outlet inside upper cabinet. See the “Electrical Requirements” section.
NOTE: Some cabinet and building materials are not designed to withstand the heat produced by the microwave oven for cooking. Check with your builder or cabinet supplier to make sure that the materials used will not discolor, delaminate, or sustain other damages.
Special Requirements
For Wall Venting Installation Only:
■ Cutout must be free of any obstructions so that the vent fits
properly and the damper blade opens freely and fully.
For Roof Venting Installation Only:
■ If you are using a rectangular-to-round transition piece, the 3″ (7.6 cm) clearance needs to exist above the microwave oven so that the damper blade can open freely and fully. See “Rectangular to Round Transition” illustration in the “Venting Design Specifications” section.
Installation Dimensions
NOTE: The grounded 3 prong outlet must be inside the upper cabinet. See the “Electrical Requirements” section.

*24″ (61 cm) is typical for 60″ (152.4 cm) installation height. Exact dimensions may vary depending on type of range/cooktop below.
NOTE: To ensure good performance, do not obstruct top vent airflow. If cabinets are deeper than 14″ (35.6 cm) but no more than 15″ (38.1cm), use the bump out mounting kit replacing the mounting plate from the wall. The bump out mounting kit (part # W11185746) is not provided but can be purchased from Whirlpool.

Product Dimensions
*Overall depth of product will vary slightly depending on door design.

Electrical Requirements
WARNING
![]()
Electrical Shock Hazard
Plug into a grounded 3 prong outlet.
Do not remove ground prong.
Do not use an adapter.
Do not use an extension cord.
Failure to follow these instructions can result in death, fire, or electrical shock.
Observe all governing codes and ordinances.
Required:
■ A 120 V, 60 Hz, AC only, 15 or 20 A electrical supply with a
fuse or circuit breaker Recommended:
■ A time-delay fuse or time-delay circuit breaker
■ A separate circuit serving only this microwave oven
GROUNDING INSTRUCTIONS
■ For all cord connected appliances: The microwave oven must be grounded. In the event of an electrical short circuit, grounding reduces the risk of electric shock by providing an escape wire for the electric current. The microwave oven is equipped with a cord having a grounding wire with a grounding plug. The plug must be plugged into an outlet that is properly installed and grounded.
WARNING: Improper use of the grounding plug can result in a risk of electric shock. Consult a qualified electrician or serviceman if the grounding instructions are not completely understood, or if doubt exists as to whether the microwave oven is properly grounded.
Do not use an extension cord. If the power supply cord is too short, have a qualified electrician or serviceman install an outlet near the microwave oven.
SAVE THESE INSTRUCTIONS
INSTALLATION INSTRUCTIONS
The Microwave oven is set for recirculation installation. For wall or roof venting, changes must be made to the venting system. NOTE: Skip below sections if you are using recirculation installations. Go to section “Locate Wall Stud(s).” Keep the damper assembly in case the venting method is changed or the microwave oven is reinstalled in another location where wall or roof venting may be used.

Wall Venting Installation Only
1. Using diagonal wire cutting pliers, gently snip out the rectangular vent cover on the damper plate.

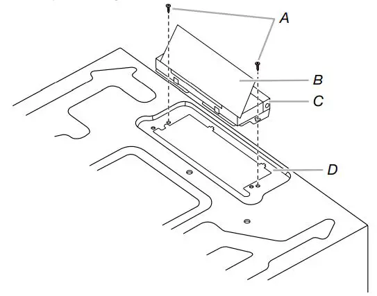
Install Damper Assembly
(for wall venting only)
1. Check that damper blade moves freely, and opens fully.
2. Position the damper assembly on the back of the microwave oven so that the damper blade hinge is at the top, and the damper blade opens away from the microwave oven.

A. Back of microwave oven
B. Damper assembly
C. Damper blade
D. Sheet metal screw 5/32″x 5/16″ (4 mm x 8 mm)
3. Secure damper assembly with 2 Sheet metal screws 5/32″ x 5/16″ (4 mm x 8 mm).
Roof Venting Installation Only
1. Remove screws attaching damper plate to top of microwave oven exterior. Slide damper plate toward the front of the microwave oven and lift up.
A. Screws
B. Damper plate
Install Damper Assembly
(for roof venting only)
1. Check that damper blade moves freely, and opens fully.
2. Position the damper assembly on the top of microwave oven so that the damper blade hinge is at the top, and the damper blade opens away from the microwave oven.
A. Screws
B. Damper blade
C. Damper assembly
D. Top of the microwave oven
3. Secure damper assembly with 2 Sheet metal screws 5/32″ x 5/16″ (4 mm x 8 mm).
NOTE: To ensure good performance of airflow, for Wall and Roof venting, remove the charcoal filter from the bottom plate before operating the microwave oven.

Vent Cover Installation
(for both upper vent and wall vent installation)
1. Remove screws attaching B and C cover. Slide them out. Keep C for step 2 use.
A. Screws
B. Recirculation vent covers
C. Recirculation lighting cover
NOTE: Keep B for future recirculation vent installation.
2. Rotate C 180 degrees, place it as shown below.
C. Recirculation lighting cover
3. Take J from packaging upper foam (see item in “Parts Supplied” section), attach both of them as shown below with screws removed from step 1. 
Locate Wall Stud(s)
NOTE: If no wall studs exist within the cabinet opening, do not install the microwave oven. See illustrations in “Possible Wall Stud Configurations.”
1. Using a stud finder, locate the edges of the wall stud(s) within the opening.
2. Mark the center of each stud and draw a plumb line down each stud center. See illustrations in “Possible Wall Stud Configurations.”
Possible Wall Stud Configurations
These depictions show examples of preferred installation configurations with the mounting plate.
No Wall Studs at End Holes
No Wall Studs at End Holes
NOTE: If wall studs is within 6″ (15.2 cm) of the vertical centerline (see “Mark Rear Wall” section), only recirculation or roof venting installation can be done.
Wall Studs at End Holes
A. End holes (on mounting plate)
B. Cabinet opening vertical centerline
C. Wall stud centerlines
D. Holes for lag screws
E. Support tabs
F. Mounting plate center markers
Wall Studs at End Holes

A. End holes (on mounting plate)
B. Cabinet opening vertical centerline
C. Wall stud centerlines
D. Holes for lag screws
E. Support tabs
F. Mounting plate center markers
Prepare Upper Cabinet
You can find the quick reference guide direct from the mounting plate marking, or use this installation guide for installation. See below install steps:
- Disconnect power to outlet.
- Remove all contents from upper cabinet.
- Mark centerline on bottom of upper cabinet. Place mounting plate against the bottom of the upper cabinet. Make sure the mounting plate centerline aligns with the vertical centerline on the rear wall. The “Rear wall” arrows must be against the rear wall so that the holes cut into the upper cabinet align with the holes in the top of the microwave oven.
NOTE: If the wall behind the microwave oven (as installed) has a partial wall covering (for example, tile backslash), be sure the “Rear Wall” arrows align to the thickest part of the rear wall (for example, the thickness of the tiles rather than the drywall).

4. Place mounting plate against the bottom of upper cabinet line and mark power supply hole “G” and 2 mounting holes “D” and “E” as shown. Make sure the 103/4″ (27.3 cm) dimension from the rear wall to “D” and “E” on the mounting plate is maintained. And 11/2″ (3.8 cm) diameter for “G” hole. Then cut the holes of “D”, “E”, and “G”.

NOTE: If upper cabinet is metal, the supply cord bushing needs to be installed around the supply cord hole as shown.
5. Drill 3/8″ (1.0 cm) holes at points “D” and “E” on the template. These are for two 1/4-20 x 3″ (7.6 cm) bolts and washers used to secure the microwave oven to the upper cabinet.
NOTE: If replacing a range hood that has the direct wire power supply coming from the wall, install outlet box accessory kit in upper cabinet. The Outlet Box Kit (part #W11082816) is not provided but can be purchased from Whirlpool.
Roof Venting Installation Only
6. If venting through the roof, mark and trace the corner punches on the mounting plate. Set mounting plate aside, cut the venting area out from the bottom of the upper cabinet using a keyhole saw.

Mark Rear Wall
The microwave oven must be installed on a minimum of 1 wall stud, preferably 2, using a minimum of 1 lag screw, preferably 2. 1. Fold 2 mounting tabs forward into the tab cutout. Note that the tabs will NOT be flush after folding.
2. Mark centerline on the back wall. Place mounting template against the back wall, find and clearly mark the vertical centerline of the opening.

3. Align the center markers on the mounting plate to the centerline of the wall. Make sure it is leveled and top of the mounting plate is butted up against the bottom edge of the upper cabinet.
NOTE: If the front edge of the upper cabinet is lower than the back edge, lower the mounting plate so that its top is leveled with the front edge of the cabinet.

A. Rear wall
B. Mounting Template
C. Top of mounting template must align with front edge of cabinet
D. Front edge of upper cabinet
Wall Venting Installation Only
4. If venting through the wall, place mounting plate on the wall and mark the cut-out area. Set mounting plate aside, then using a keyhole saw, cut out hole in the wall at back venting area.

Drill Holes in Rear Wall
In addition to being installed on at least 1 wall stud, the mounting plate must attach to the wall at both end holes. If the end holes are not over wall studs, use two 3/16-24 x 3″ (7.6 cm) round head bolts with toggle nuts; if 1 end hole is over a wall stud, use 1 lag screw and one 3/16-24 x 3″ (7.6 cm) round-head bolt with toggle nut; or if both end holes are over wall studs, use 2 lag screws. Following are
Installation for No Wall Studs at End Holes (Figures 1 and 2)
- Drill 5/8″ (1.6 cm) holes through the wall at both end holes marked in Step 3 of “Mark Rear Wall.”
- Drill 3/16″ (5 mm) hole(s) into the wall stud(s) at the hole(s) marked in Step 6 of “Mark Rear Wall.” Refer to figures 1 and 2 in “Possible Wall Stud Configurations” in the “Locate Wall Stud(s)” section.
Installation for Wall Stud at One End Hole (Figure 3)
- Drill a 3/16″ (5 mm) hole into the wall stud at the end hole marked in Step 3 of “Mark Rear Wall.”
- If installing on a second wall stud, drill a 3/16″ (5 mm) hole into the wall stud at the other hole marked in Step 6 of “Mark Rear Wall.” Refer to Figure 3 in “Possible Wall Stud Configurations” in the “Locate Wall Stud(s)” section.
- Drill a 5/8″ (1.6 cm) hole through the wall at the other end hole.
Installation for Wall Studs at Both End Holes (Figure 4)
1. Drill 3/16″ (5 mm) hole into the wall stud at the end hole marked in Step 3 of “Mark Rear Wall.”
Attach Mounting Plate to Wall
NOTE: Secure the mounting plate to the wall at both end holes drilled into the wall studs and/or drywall using either 3/16-24 x 3″ (7.6 cm) round-head bolts and toggle nuts or 1/4″ x 2″ (0.6 cm x 5.1 cm) lag screws.
Refer to illustrations in “Possible Wall Stud Configurations” in the “Locate Wall Stud(s)” section. For fast wall and roof vent installation, see the quick reference
guide on the mounting plate.
No Wall Studs at End Holes (Figures 1 and 2)
NOTE: The mounting plate must be secured to the wall on at least 1 wall stud as well as at both ends.
1. With the support tabs of the mounting plate facing forward, insert 3/16-24 x 3″ (7.6 cm) round-head bolts through both end holes of mounting plate.
2. Start toggle nuts on bolts from the back of the mounting plate. Leave enough space for the toggle nuts to go through the wall and to open.

3. Position mounting plate on the wall.
4. Push the 2 bolts with toggle nuts through the drywall and finger tighten the bolts to make sure toggle nuts have opened against drywall.
5. Insert lag screw(s) into the hole(s) drilled into wall stud(s) in Step 2 of “Installation for No Wall Studs at End Holes” in the “Drill Holes in Rear Wall” section.
6. Check alignment of mounting plate, making sure it is level.
7. Securely tighten all lag screws and bolts.
Wall Stud at One End Hole (Figure 3)
- With the support tabs of the mounting plate facing forward, insert a 3/16-24 x 3″ (7.6 cm) round-head bolt through the end hole that fits over the 5/8″ (1.6 cm) hole drilled in Step 3 of “Installation for Wall Stud at One End Hole” in the “Drill Holes in Rear Wall” section.
- Start a toggle nut on the bolt from the back of the mounting plate. Leave enough space for the toggle nut to go through the wall and to open.
- Position mounting plate on the wall.
- Push the bolt with toggle nut through the drywall and finger tighten the bolt to make sure toggle nut has opened against drywall.
- Insert a lag screw into the remaining end hole.
- If installing on a second wall stud, insert a lag screw into the other hole drilled in Step 2 of “Installation for Wall Stud at One End Hole” in the “Drill Holes in Rear Wall” section. Check alignment of mounting plate, making sure it is level.
- Securely tighten the lag screw(s) and bolt.
Wall Studs at Both End Holes (Figure 4)
- Position mounting plate on the wall.
- Insert lag screws into both end holes.
- Check alignment of mounting plate, making sure it is level.
- Securely tighten the lag screws.
Install the Microwave Oven
WARNING
Excessive Weight Hazard
Use two or more people to move and install microwave oven. Failure to do so can result in back or other injury.
IMPORTANT: The control side of the microwave oven is the heavy side. Handle the microwave oven gently.
- Place a washer on each 1/4-20 x 3″ (7.6 cm) flat-head bolt and place inside upper cabinet near the 3/8″ (1.0 cm) holes.
- Make sure the microwave oven door is closed and taped shut.
Using 2 or more people, lift microwave oven and hang it on support tabs at the bottom of mounting plate.
NOTE: To avoid damage to the microwave oven, do not grip or use the door or door handle while the microwave oven is being handled.- With front of microwave oven still tilted, thread power supply cord through the power supply cord hole in the bottom of the upper cabinet.
- Rotate microwave oven up toward upper cabinet.
NOTE: If venting through the wall, make sure the damper assembly fits easily into the vent in the wall cutout. - Push microwave oven against mounting plate and hold in place.
NOTE: If microwave oven does not need to be adjusted, skip steps 7 through 9. - If adjustment is required, rotate microwave oven downward. Using 2 or more people, lift microwave oven off of mounting plate and set aside on a covered surface.
- Loosen mounting plate screws. Adjust mounting plate and re-tighten screws.
- Repeat steps 3 through 6.
- With the microwave oven centered, and with at least one person holding it in place, insert bolts through upper cabinet into microwave oven. Tighten bolts until there is no gap between upper cabinet and microwave oven.
NOTES:
■ Some upper cabinets may require bolts longer or shorter than 3″ (7.6 cm). Longer or shorter bolts are available at most hardware stores.
■ Overtightening bolts may warp the top of the microwave oven. To avoid warping, wood filler blocks (installer to provide) may be added. The blocks must be the same thickness as the space between the upper cabinet bottom and the microwave oven.

NOTE: Avoid damage to the mounting nut, screw the bolts into the mounting nut holes around 5/8″-13/16″ (1.5-2.0 cm) by hand first, make sure the bolts thread in properly. Then tighten with tools.

11. Connect vent to damper assembly.

A. Vent B. Damper assembly (under vent) Compact
Complete Installation
1. Install filters. Refer to the User Instructions for filter placement.
WARNING![]()
Electrical Shock Hazard
Plug into a grounded 3 prong outlet.
Do not remove ground prong.
Do not use an adapter.
Do not use an extension cord.
Failure to follow these instructions can result in death, fire, or electrical shock.
2. Plug microwave oven into grounded 3 prong outlet.
3. Reconnect power.
4. Check the operation of microwave oven by placing 1 cup (250 ml) of water on the turntable and programming a cook time of 1 minute at 100% power. Test vent fan and exhaust by operating the vent fan.
5. If the microwave oven does not operate:
■ Check that a household fuse has not blown, or that a circuit breaker has not tripped. Replace the fuse or reset the circuit breaker. If the problem continues, call an electrician.
■ Check that the power supply cord is plugged into a grounded 3 prong outlet.
■ See the User Instructions for troubleshooting information. Installation is now complete. Save Installation Instructions for future use.
VENTING DESIGN SPECIFICATIONS
This section is intended for architectural designer and builder/ contractor reference only.
NOTES:
■ Vent materials needed for installation are not provided with microwave hood combination.
■ We do not recommend using a flexible metal vent.
■ To avoid possible product damage, be sure to vent air outside, unless using recirculation installation. Do not vent exhaust air into concealed spaces, such as spaces within walls or ceilings, attics, crawl spaces, or garages.
For optimal venting installation, we recommend:
■ Using roof or wall caps that have back draft dampers
■ Using a rigid metal vent
■ Using the most direct route by minimizing the length of the vent and number of elbows to provide efficient performance
■ Using uniformly sized vents
■ Using duct tape to seal all joints in the vent system
■ Using caulking compound to seal exterior wall or roof opening around cap
■ Not installing 2 elbows together for optimal hood performance If venting through the wall, be sure that there is proper clearance within the wall for the damper to open fully. If venting through the roof, and rectangular-to-round transition is used, be sure there are at least 3″ (7.6 cm) of clearance between the top of the microwave oven and the transition piece. See “Rectangular-to-Round Transition” illustration.

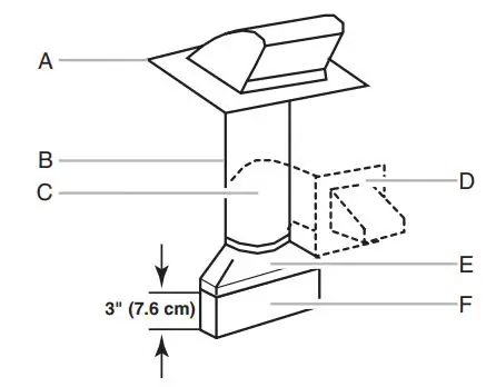
Rectangular-to-Round Transition
NOTE: The minimum 3″ (7.6 cm) clearance must exist between the top of the microwave oven and the rectangular to round transition piece so that the damper can open freely and fully.
A. Roof cap
B. 6″ (15.2 cm) min. diameter round vent
C. Elbow (for wall venting only)
D. Wall cap
E. 3¹/4″ x 10″ to 6″ (8.3 x 25.4 cm to 15.2 cm) rectangular to round transition piece
F. Vent extension piece, at least 3″ (7.6 cm) high
Recommended Vent Length
A 3¹/4″ x 10″ (8.3 x 25.4 cm) rectangular or 6″ (15.2 cm) round vent should be used. The total length of the vent system including straight vent, elbow(s), transitions, and wall or roof caps must not exceed the equivalent of 140 ft (42.7 m) for either type of vent. See the “Recommended Standard Fittings” section for equivalent lengths. For best performance, use no more than three 90° elbows. To calculate the length of the system you need, add the equivalent lengths of each vent piece used in the system. See the following examples.
3¹/4″ x 10″ (8.3 x 25.4 cm) vent system = 73 ft (22.2 m) total.

A. One 3¹/4″ x 10″ (8.3 x 25.4 cm) 90° elbow = 25 ft. (7.6 m)
B. 1 wall cap = 40 ft. (12.2 m)
C. 2 ft. (0.6 m) + 6 ft. (1.8 m) straight = 8 ft. (2.4 m)
6″ (15.2 cm) vent system = 73 ft. (22.2 m) total.

A. Two 90° elbows = 20 ft. (6.1 m)
B. 1 wall cap = 40 ft. (12.2 m)
C. 1 rectangular-to-round transition piece = 5 ft. (1.5 m)
D. 2 ft. (0.6 m) + 6 ft. (1.8 m) straight = 8 ft. (2.4 m)
If the existing vent is round, a rectangular-to-round transition piece must be used. In addition, a rectangular 3″ (7.6 cm) extension vent between the damper assembly and rectangular to round transition piece must be installed to keep the damper from sticking.
ASSISTANCE
Call your authorized dealer or service center. When you call, you will need the microwave oven model number and serial number. Both numbers can be found on the model and serial number plate, which is located behind the microwave oven door on the front frame of the microwave oven. If you need additional assistance, call us at our toll-free number or visit our website listed in the User Guide.
Replacement Parts
If any of the installation hardware needs to be replaced, call us at our toll-free number listed in the User Guide. Following is a list of available replacement parts. You will need your model number located on the front facing of the microwave oven opening, behind the door.
■ Damper assembly
■ Mounting plate
■ Mounting Screw Kit (includes parts A through G in “Parts Supplied” in the “Tools and Parts” section)
NOTES
W11359127A
©2019 All rights reserved. Used under license in Canada.
Using 2 or more people, lift microwave oven and hang it on support tabs at the bottom of mounting plate.


















