KJ-45/KJ-140
Instruction
PATENT
To see all patents visit tormek.com/patents
KJ-45 Centering Knife Jig

Positioning of Machine

Sharpening direction: Edge leading or edge trailing.
Design
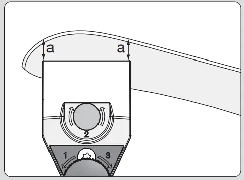
The KJ-45 Centering Knife Jig comprises an adjustable clamp (1) for holding knives of varying thickness and blade geometry centered in the jig, and a handle with two fixed stops (2) for sharpening blades of different heights. The jig is adjusted to the knife thickness with the screw (3). The knife is screwed into the clamp using the knob (4) and locked centered in the jig.
The jig rests with one of the two stops on the Universal Support, which is adjusted to the approximate height. The exact edge angle is set with the Micro Adjust on the Universal Support. Make sure to use the same stop throughout the setting and sharpening process.
Mounting the knife in the jig

- Unscrew the tightening knob (counterclockwise), and the small adjusting screw if needed, so that the blade of the knife fits in the clamp.
- Put your knife blade in the jaws of the clamp, as far in as possible (minimum 2 mm). The clamp is usually attached on the center of the blade. Attach the knife in the jig so that the distance from the clamp to the knife’s edge is the same at both of the outer edges of the clamp (distance a).
Tip For knives with an extreme bend towards the tip of the blade (e.g. skinning knives), you can benefit from attaching the jig at the tip of the blade, with the same principles as above. This makes it easier to trace the shapes of the blade and achieve an even bevel.
- Adjust the jig with the small adjusting screw to fit the thickness of the knife.
- Tighten the knob.
- Make sure the blade is firmly mounted and enclosed before you start sharpening.

Important Make sure the clamp grips the blade so that both jaws of the clamp enclose and are in full contact all the way along the blade so as to ensure that the knife is firmly centered in the jig. Even wedge-shaped blades must be in contact with the clamp along their entire length. You may need to go back and loosen the small adjusting screw slightly before tightening the knob so that the clamp can grip wedge-shaped blades properly.
Minimum blade height

The jig needs to grip the blade by at least 2 mm. You can sharpen knives with a minimum blade height of 12 mm at the attachment point, with a total edge angle of 20°. To sharpen smaller knives, use the SVM-00 Small Knife Holder together with the KJ-45 Centering Knife Jig.
Blade thickness

You can use the KJ-45 Centering Knife Jig with your thinnest knives, up to knives with a blade 10 mm thick. The maximum thickness for knives with a tapered cross-section, tapering from the back to the bevel, is about 6 mm at the back.
Replicating the existing edge angle

- Color the bevel with the
EM-15 Edge Marker so that youcan see where sharpening will occur. - Choose which of the two stops you want to use. For tallerknives, use the bottom stop.
- Adjust and lock the Universal Support so that the heel of the bevel touches the grinding wheel.

- Raise the Universal Support with the Micro Adjust until the whole bevel touches the grinding wheel. Check by moving the grinding wheel by hand to see where sharpening will take place.
You have reached the correct sharpening angle when the ink from the marker is worn off from the entire bevel.
Setting a new edge angle and measuring an edge angle
![]() | ||
| 1. Set the diameter of the grinding wheel on your WM-200 AngleMaster. | 2. Set the desired edge angle on the AngleMaster. Adjust the Universal Support so that the bevel is in contact with the angle setter. | 3. You can measure the edge angle in the grooves of the AngleMaster, provided that the bevels are wide enough. |
Thin Knives
When setting an edge angle on thin knives, the bevel is short and can therefore be difficult to align with the angle setter on your WM-200 AngleMaster. In that case, you can allow the entire blade to remain in contact with the angle setter instead of just the bevel. The angle setter must then be set to half the desired edge angle.
Recommended Edge Angles
It is important for the knife to be sharpened with the correct edge angle. With a narrow edge angle (20°), the knife cuts easily but the edge can be easily damaged and is not as durable.
A larger edge angle (40°) gives a stronger, more durable edge, but the knife does not cut as easily. The optimal edge angle also depends on the quality of the steel.
Sharpening

- Hold the knife and the jig as illustrated. Make sure that you press your thumb or palm against the jig so that the stop is alwaysin contact with the Universal Support. Move the knife back and forth across the grinding wheel at a steady pace. Ensure that the blade is in contact with the entire width of the grinding wheel.
When you reach the curved part of the blade, lift the knife handle forward and upwards so that it has the same bevel as the rest of the blade. Do not pull the handle towards you, this will give a taller bevel on the tip than on the rest of the blade. - Grind until a burr forms along the entire top of the blade. This can be felt by using a finger to lightly stroke the blade from the back of the knife and down over the edge.
Tip Hold the knife so that the water flows evenly over the blade. The blade is then in contact with the entire width of the grinding wheel, which is important for an even bevel.
In good light, the burr will show up as a pale line. When you have a burr along the entire blade, the first side is finished. - When the first side is sharpened, turn the jig upside-down whilethe knife is still fixed in the jig and sharpen the other side. Now the burr appears immediately as it has already appeared on the underside and bends up. Sharpen as much as on the first side to obtain a symmetrical edge.
- The burr will be weakened and more easily removed if you grind the first side again with very light pressure.
Tip Sharpening long knives can be facilitated if you remove the honing wheel.
Edge trailing (away from the edge)
The instruction has shown you how to sharpen knives towards the edge with the Universal Support placed vertically. This way works for all knife lengths. You can also place the Universal Support in the horizontal position and grind with the edge. For sharpening with the edge, there are limitations to which knives you can sharpen as the lower stop or the knob on the clamp may touch the leg of the Universal Support. These limitations are due to several factors.
Factors affecting the option to sharpen with the edge trailing:
- Which Tormek model you have
- How long the knife is
- How tall the blade is
- Where on the blade the jig is attached
- How deeply on the knife blade the jig is attached
- The sharpening angle.
We recommend that you try out what works on the knife you are sharpening at the time, with its conditions.
Honing

Turn the machine so that the honing wheel rotates away from you.
Remove the knife from the jig. Hone and polish the bevels on the honing wheel. Make sure that the entire bevel is in contact with the honing wheel. Move the knife back and forth a few times on each side of the blade until the burr disappears.
You can ensure that the burr is completely removed by drawing the edge gently over a fingernail. This will allow you to easily feel any unevenness. You can also cut a piece of paper. If the knife gets stuck or the cut is uneven, there is still a burr and you need to hone a little more.
If the burr is not completely gone, you need to spend more time on honing. When you have no burr left at all, your knife will be razor sharp with a durable edge
Important Always hone with the edge trailing. Place the machine as shown so that the honing wheel rotates away from you.
You can also keep the knife mounted in the jig and hone on the leather honing wheel at a controlled angle. The same factors apply here for any restrictions on which knives you can hone as for sharpening with the edge trailing.
When honing using the jig on the universal support, in most cases you will need to remove the grinding wheel to avoid striking it with the knife. When you remove the grinding wheel from the machine, remember to replace it with the white transport sleeve on the main shaft so as to keep the main shaft in place.
Straight drawknives and wood splitting knives

- Press the jig down so that the stop is always in contact with the Universal Support. Ensure that sharpening takes place across the entire width of the grinding wheel.
- Hone free-hand. Hold the knife diagonally to clear the grinding wheel. Hone both sides alternately

Positioning of Machine
Sharpening direction: Edge leading or edge trailing.
Design
The KJ-140 Wide Centering Knife Jig comprises an adjustable clamp (1) for holding knives of varying thickness and blade geometry, and two fixed stops (2) for sharpening blades of different heights. The jig is adjusted to the knife thickness with the screw (3). The knife is screwed into the clamp with the knob (4) and locked centered in the jig. 
The KJ-140 Wide Centering Knife Jig is designed to stabilize knives with flexible blades longer than 160 mm, for even and controlled sharpening. It works in the same way as the KJ-45 Centering Knife Jig, but with a wider clamp that gives more support to flexible knife blades. Follow the instructions on pages 4-10 for installation and use instructions. Please note that the KJ-140 Wide Centering Knife Jig does not work with the SVM-00 Small Knife Holder.
Tip For knives with an extreme bend towards the tip of the blade (e.g. skinning knives), you can benefit from attaching the jig at the tip of the blade, with the same principles as above. This makes it easier to trace the shapes of the blade and achieve an even bevel.



In good light, the burr will show up as a pale line. When you have a burr along the entire blade, the first side is finished.

















