JASCO 46562 Z Wave In Wall Smart Switch
Home automation is even smarter with the Z-Wave In-Wall Smart Switch with Quick Fit and Simple Wire. When paired with a compatible hub, the hardwired smart switch operates wall, ceiling and accent lighting through individual commands and programmed settings. Wirelessly control and schedule indoor or outdoor fixtures for effortless management of your home.
Features
Quick Fit
Improved components reduced the housing depth by up to 20 percent compared to previous Z-Wave models and eliminated the need for heat tabs. QuickFit enhancements are the ideal smart solution for older-style switch boxes, multi-gang configurations or any other application with limited space.
Simple Wire
Auto-detecting line/load terminals support fast installation by identifying line and load wires and configuring the switch accordingly. Dual ground ports, which are offset to avoid switch box mounting screws, support daisy-chaining in multi switch setups.
Multi switch compatible
The smart device operates perfectly on its own or seamlessly integrates into multi-switch setups when paired with Z-Wave Add-on Switches. Up to four add-on switches can be connected to the same light, fan or appliance.
Voice control
Enjoy the convenience of voice control with Google Assistant or Amazon Alexa when connected through a compatible Z-Wave hub.
Range extender
The in-wall Z-Wave switch repeats the signal from your hub or other Z-Wave device to extend wireless range by up to 150ft.
PRODUCT OVERVIEW
QUICK FIT

The revolutionary, space-saving QuickFit design features a rounded housing and 20 percent smaller depth compared to previous models. The elimination of heat tabs also offers a more convenient installation and user-experience without reducing the electrical ratings.
SIMPLE WIRE

With the Simple Wire technology, the new smart controls feature auto line-load sensing terminals, which eliminate guesswork or testing line and load wires. The dual offset ground ports are another defining feature that save time, simplify installation and reduce wire congestion in multi switch setups. Neutral wire required.
VERSATILITY

Automating your home not only makes your life easier, but it also saves energy, cuts costs, and boosts your home’s security. Control your lights, fans and appliances, schedule a timed event, or create a custom scene from anywhere in the world at anytime of the day. Compatible with LED, CFL, incandescent and halogen bulbs, and other hardwired devices.
PERSONALIZE

Changeable paddles in a variety of colors like black, brown, and ivory, are available to match your home’s decor. Replace existing switches with easy installation.
Specifications

- Power: 120VAC, 60Hz
- Signal Frequency: 908.4/916MHz
- Maximum Load: 960W Incandescent,1/2 HP Motor 1800W (15A Resistive)
- Range: Up to 150 feet from controller or closest Z-Wave device
- Operating Temperature: 32-104° F (0-40° C)
- Warranty: 2-year limited product warranty Requires neutral wire.
- Switch must be mounted indoors
Design Features
Quick Fit Improved components reduce the housing depth by up to 20 percent compared to previous Z- Wave models and eliminated the need for heat tabs Simple Wire. Auto line load sensing terminals support fast installation by detecting line and switch accordingly. Dual ground ports, which are offset to avoid switch box mounting screws, support daisy-chaining in multi switch setups. Turn the connected device On/Off manually or via Z-Wave hub or controller. Remotely monitor with any mobile device. Works with Google and Alexa requires compatible hub.
- May be used in single pole installation or with up to four Jasco model 45710 or 46560 Add-on switches in 3, 4, 5 or
- Works with all LED, CFL, halogen and incandescent bulbs
- Blue LED indicates switch location in a dark room (with 4 adjustable settings)
- Can be Included in multiple Groups and Scenes
- Utilizes the Z-Wave Firmware Update Meta Data command updates Over the Air· Uses a standard decora wall plate wall plate not included.
- Interchangeable Paddle switch: White & light almond paddle included in package.
- LED status can be inverted manually changed to invert, always OFF and always ON.
- Inline traveler circuit protection.
Z Wave Plus with S2 Security and Smart Start Features
- Improved battery life and up to 50 percent greater wireless range.
- QR codes with unique, industry standard secure key exchange to add a layer of 128- bit encryption.
- Effortless device pairing to Z-Wave.
- Backward compatible with all generations of Z-Wave devices 250% faster processor 400% more memory.
- Supports wireless upgrades to future proof your home.
White/light almond paddles included

PRODUCT SPECIFICATIONS
Single Location Wiring

Space-Saving Screw Terminals

Multi-Location Wiring

Installation Recommendations
- Insert wire into port and tighten screw. Do not wrap wire around screw
- Indoor use only
- Visit http://www.ezzwave.com/hubs for hub compatibility
- Wallplates sold separately.
This device complies with Part 15 of the FCC and Industry Canada license-exempt RSS standards. Operation is subject to the following two conditions
- This device may not cause harmful interterence.
- This device must accept any interference received, including interference that may cause undesired operation.
FCC NOTE
The manufacturer is not responsible for any radio or TV interference caused by unauthorized modifications to this equipment. Such modifications could void the user’s autnority to operate the equipment. NOTE: This equipment has been tested and found to comply with the limits for a Class B digital device, pursuant to Part 15 of the FCC Rules. These limits are designed to provide reasonable protection against harmful interference in a residential installation. This equipment generates, uses and can radiate radio frequency energy, and it not installed and used in accordance with the instructions may cause harmful interference to radio communications. However, there is no guarantee interference will not OCCur in a particular installation. If this equipment does cause harmful interference to radio or television reception, which can be determined by turning the equipment off and on, the user is encouraged to try to correct the interference by one or more OT the following measures
- Reorient or relocate the receiving antenna.
- Increase the separation between the equipment and receiver.
- Connect the equipment into an outlet on a circuit different from which the receiver is connected.
- Consult the dealer or an experienced radio/TV technician for help Important note lo comply with the FCC RF exposure compliance requirements, no change to the antenna or the device is permitted. Any change to the antenna or the device could result in the device exceeding the RF exposure requirements and void user’s authority to operate the device.
Convert any smart control to a multi location switch
For a list of compatible devices, visit ezzwave.com

To purchase an add on switch or for more details, visit ezaddonswitch.com
Multiple Paddle Colors Available
Purchase additional items
EZzwave.com or visit your local retailer.
In Wall Smart Dimmers

In Wall Motion Switch or Dimmer

Enbrighten Smart LED Bulb

Direct Wire, 40A Outdoor Smart Switch

Plug in Smart Dimmers

Plug in Smart Switches

In Wall Smart Fan Control

Portable Smart Multi Sensor

In Wall Tamper Resistant Smart Outlet

In Wall Add on Switches

In-Wall Smart Switches

Hinge Pin Smart Door Sensor

Plug-in Outdoor Smart Switch

Contact our U.S.-based Consumer Care at 1-800-654-8483 between 7AM-8PM, M-F, Central Time. For the most up-to-date product support, accessories, electronic PDF format and more, visit www.byjasco.com/support. No user serviceable parts in this unit.
CONTROLLING APPLIANCES CAUTION
DO NOT EXCEED RATINGS DO NOT USE TO CONTROL ANY DEVICE WHERE UNINTENDED OPERATION COULD CAUSE UNSAFE CONDITIONS HEAT LAMP, SUN LAMR ETC) DO NOT USETO CONTROL RECEPTACLES FOR INDOOR USE ONLY.
Tools You Will Need

IMPORTANT
The fixture controlled by the Z Wave In Wall Smart Switch must not exceed 960W incandescent, 1800w (15A) resistive or 1/2HP motor. The switch is designed only for use with permanently installed fixtures. Getting to know your new Z-Wave device Turn ON/OFF manually or remotely via the Z-Wave controller Can be included in multiple groups and scenes May be used in single-pole installation or with up to four add-on switches (model 46560) in 3-way or 4-way wiring configurations Compatible with all LED/CFL and incandescent bulbs Auto line/load detection Interchangeable paddle switch white & light almond paddle in package Uses a standard, rocker style wallplate for single-gang installations wall plate not included. Blue LED indicates switch location in a dark room Z-Wave certified for simple pairing and integrated home automation Screw terminal installation requires wiring connections for line (hot), load, neutral and ground. Traveler wire required for3-way or 4-way installation This Z-Wave device has advanced features that allow you to customize your experience. These features can only be adjusted by a Z-Wave enabled controller that suppots the Z Wave configuration command class. For a complete list of adjustable configurations, visit www.ezzwave.com/config
- Ground (Green/Bare)
- Line or Load (Black) Line or Load (Black)
- Traveler (Red/Other)
- Neutral (VWhite)


- Top rocker release to turn switch on press.
- Bottom rocker press& release to turn switch off.


Turn OFF the power to the branch circuit for the switch and lighting fixture at the service panel. All wiring connections must be made with the POWER OFF to avoid personal injury and/or damage to the switch. This device is intended for installation in accordance with the National Electric Code and local regulations in the United States or the Canadian Electrical Code and local regulations in Canada. If you are unsure or uncomfortable about performing this installation, consult a qualified electrician.
Multi switch wiring
For 3-way installations, please refer to add-on switch (model 46560) manual
Single switch wiring
Before installation, you may wish to change the paddle color to match your wall plate or décor. Shut off power to the circuit at circuit breaker or fuse box.
IMPORTANT
Verify power is OFF to switch box before continuing. Remove wall plate. Remove the switch mounting screws Carefully remove the switch from the switch box. DO NOT disconnect the wires.
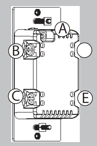
There are up to five screw terminals on the switch these are marked
- A:GROUND Green/Bare
- B:LINE OR LOAD-Black connected to power or lighting.
- C: LINE OR LOAD-Black connected to power or lighting.
- D: TRAVELER Red/Other only in 3 way installations.
- E:NEUTRAL White Match these screw terminals to the wires connected to the existing switch.
Disconnect the wires from the existing switch. Label wires according to the previous terminal connection. Observe important wiring information
IMPORTANT
This switch is rated for and intended to only be used with copper wire.
Wire gauge requirements
Use 14AWG or larger wires suitable for at least 80 C for supplying line hot, load, neutral, ground and traveler connections.
Wire strip length
For attachment using the enclosure’s holes, strip insulation 5/8in 16mm. UL specifies the tightening torque for the screws is 14Kgf-cm 121bf-in.
- Connect the green or bare copper ground wire to the GROUND terminal.
- Connect the black wire from the light to either LINELOAD terminal.
- Connect the black wire from the electrical service panel (hot) to the remaining9 LINE/LOAD terminal.
- Connect the white wire to the NEUTRAL terminal use a jumper wire if needed.
Note
The traveler terminal is only used for 3-way or 4-way wiring and should remain unused if the switch is being installed in a 2 way system (one switch & one load). Insert switch into the switch box being careful not to pinch or crush wires. Switch must be independently mounted vertical position only. Secure the switch to the box using the supplied screws. Mount the wall plate. Reapply power to the circuit at fuse box or circuit breaker and test the system.
Basic operation
The connected fixture can be turned ON/OFF in two ways. Manually from the front panel of the switch Remotely with a Z-Wave controller.
Manual control
The front panel rocker switch allows the user to turn ON/OFF the connected fixture. To turn the connected fixture ON, press and release the top of the rocker. To turn the connected fixture OFF, press and release the bottom of the rocker.
Cycle LED light
The LED below the switch acts as a guide light or status indicator.
- How to cycle through options.
- Press up three times and down once quickly.
- LED is ON when the load is OFF guide light in the dark default.
- LED is ON when the load is ON indicates the switch is ON.
- LED is always OFF LED is always ON illuminates switch in the dark.
Adding your device to a Z Wave network

Follow the instructions for your Z-Wave certified controller to add a device to the Z-Wave network. Once the controller is ready to add your device, press the top or bottom of the wireless smart switch (rocker) You have complete control to turn your fixture ON/OFF according to groups, scenes, schedules and interactive automations programmed by your controller. If your Z-Wave certified controller features remote access, you can control your fixture from your mobile devices. If prompted by the controller to enter the S2 security code, refer to the QR code/security number on the side of the box or the QR code label on the product (see Figure 1). Enter the 5-digit code
To remove and reset the device
- Follow the instructions for your Z-Wave certified controller to remove a device from the Z-Wave network.
- Once the controller is ready to remove your device, press the top or bottom of the wireless smart switch.
- To return your switch to factory defaults Quickly press ON top button three times, then, immediately press the OFF button three times.
- The LED will flash ON/OFF five times when completed successfully.
Note
This should only be used if your network’s primary controller is missing or otherwise inoperable. 
Changing paddle color
This step s optional. Before installation, you may want to change the color of the paddle to match your wallplate or décor Lit the air gap tab at the base of the paddie Push side tabs in on one side and then the other to release paddle. Lift the cover up and off. Simply put the new paddle onto the Switch by inserting the air gap and side tabs and snapping securely into place.
The add on switch is required for multi switch 3 way or 4 way installations
Connecting the traveler terminal of this switch to a standard, non Jasoo switch will cause damage or result in improper function. H this switch is part of a 3-way or 4-way multi-switch installation, do not connect the traveler wire or apply power until add-on switch (model 46560) is correctly installed. For more information on 3-way or 4-way installations, view the manual or quick-start guide for the add on switch.
Z WAVE Interoperability
This product can be included and operate ordinary Z-Wave network with other Z-Wave certified devices from other manufacturer sand/or other applications .Allison battery operated nodes within the network willets repeaters regardless of vendor to increase reliability of the network. This device supports Association Command Class (3 Groups) Association Group1 supports Lifeline. Binary Switch Report Association Group 2 supports Basic 5et and is controlled by pressing the ON OFF with the local lie Association Group 3 supports Basic Set and is controlled by double pressing the ON OFF button Each Association Group supports 5 total nodes.





















