BOSCH GSN54DWCV Series 6 Energy Efficient Upright Freezer

Safety and warning information
Before you switch ON the appliance
Please read the operating and installation instructions carefully! They contain important information on how to install, use and maintain the appliance.
The manufacturer is not liable if you fail to comply with the instructions and warnings. Retain all documents for subsequent use or for the next owner.
Technical Safety
Fire hazard
The tubes of the refrigeration circuit convey a small quantity of an environmentally friendly but flammable refrigerant (R600a). It does not damage the ozone layer and does not increase the greenhouse effect. If refrigerant escapes, it may injure your eyes or ignite.
If damage has occurred
- Keep naked flames and/or ignition sources away from the appliance,
- thoroughly ventilate the room for several minutes,
- switch off the appliance and pull out the mains plug,
- inform customer service.
- The more refrigerant an appliance contains, the larger the room must be in which the appliance is situated. Leaking refrigerant can form a flammable gas-air mixture in rooms which are too small. The room must be at least 1 m³ per 8 g of refrigerant. The amount of refrigerant in your appliance is indicated on the rating plate inside the appliance.
- When installing the appliance, ensure that the mains cable is not trapped or damaged.
- If the power cord of this appliance is damaged, it must be replaced by the manufacturer, Customer Service or a similarly qualified person. Improper installations and repairs may put the user at considerable risk.
- Repairs may be performed by the manufacturer, customer service or a similarly qualified person only.
- Only original parts supplied by the manufacturer may be used. The manufacturer guarantees that only these parts satisfy the safety requirements.
- Do not use multiple sockets, extension leads or adapters.
Fire hazard
Portable multiple outlets or power supplies may overheat, causing a fire.
Never leave portable multiple outlets or portable power supplies behind the appliance.
Important information when using the appliance
- Never use electrical appliances inside the appliance (e.g. heaters, electric ice makers, etc.). Risk of explosion!
- Never defrost or clean the appliance with a steam cleaner! The steam may penetrate electrical parts and cause a short-circuit. Risk of electric shock!
- Do not use additional means to accelerate the defrosting process other than those recommended by the manufacturer. Risk of explosion!
- Do not use pointed or sharp-edged implements to remove frost or layers of ice. You might damage the refrigerant tubes. Leaking refrigerant may cause eye injuries or ignite.
- Do not store products which contain flammable propellant (e.g. spray cans) or explosive substances in the appliance. Risk of explosion!
- Do not stand on or lean heavily against the base of the appliance, drawers, doors, etc.
- For defrosting and cleaning, pull out the mains plug or switch off the fuse. Do not pull out the mains plug by tugging on the power cord.
- Store high-percentage alcohol tightly sealed and in an upright position.
- Keep plastic parts and the door seal free of oil and grease. Otherwise, plastic parts and the door seal will become porous.
- Never cover or block the ventilation openings of the appliance.
- Avoid prolonged touching of frozen food, ice or the evaporator pipes, etc. Risk of low-temperature burns!
- Never put frozen food straight from the freezer compartment in your mouth. Risk of low-temperature burns!
Avoiding placing children and vulnerable people at risk:
- At risk here are children, people who have limited physical, mental or sensory abilities, as well as people who have inadequate knowledge concerning safe operation of the appliance. Check that children and vulnerable people have understood the hazards.
- A person responsible for safety must supervise or instruct children and vulnerable people who are using the appliance.
- Only children aged 8 years and above may use the appliance.
- Supervise children while the appliance is being cleaned or maintained.
- Never allow children to play with the appliance.
- Do not store bottled or canned liquids (especially carbonated drinks) in the freezer compartment. Bottles and cans may burst!
Children in the household
- Keep children away from packaging and its parts. Danger of suffocation from folding cartons and plastic film!
- Do not allow children to play with the appliance!
- If the appliance features a lock: keep the key out of the reach of children!
General regulations
The appliance is suitable
- for freezing food,
- for making ice.
- This appliance is intended for use in the home and the home environment.
- The refrigeration circuit has been checked for leaks.
- This appliance complies with the relevant safety regulations for electrical appliances and is fitted with noise suppression.
- This appliance is intended for use up to a maximum height of 2000 meters above sea level.
Information concerning disposal
Disposal of packaging
The packaging protects your appliance from damage during transit. All utilized materials are environmentally safe and recyclable. Please help us by disposing of the packaging in an environmentally friendly manner.
Please ask your dealer or inquire at your local authority about current means of disposal.
Disposal of your old appliance
Old appliances are not worthless rubbish! Valuable raw materials can be reclaimed by recycling old appliances.
This appliance is labelled in accordance with European Directive 2012/19/EU concerning used electrical and electronic appliances (waste electrical and electronic equipment – WEEE). The guideline determines the framework for the return and recycling of used appliances as applicable throughout the EU.
Warning
Redundant appliances
- Pull out the mains plug.
- Cut off the power cord and discard with the mains plug.
- Do not take out the trays and receptacles: children are therefore prevented from climbing in!
- Do not allow children to play with the appliance once it has spent its useful life. Danger of suffocation!
Refrigerators contain refrigerant and gases in the insulation. Refrigerant and gases must be disposed of professionally. Ensure that tubing of the refrigerant circuit is not damaged prior to proper disposal.
Scope of delivery
After unpacking all parts, check for any damage in transit.
If you have any complaints, please contact the dealer from whom you purchased the appliance or our customer service.
The delivery consists of the following parts:
- Free-standing appliance
- Interior fittings (depending on model)
- Bag containing installation materials
- Operating instructions
- Installation manual
- Customer service booklet
- Warranty enclosure
- Information on the energy consumption and noises
Installation location
A dry, well ventilated room is suitable as an installation location. The installation location should not be exposed to direct sunlight and not placed near a heat source, e.g. a cooker, radiator, etc. If installation next to a heat source is unavoidable, use a suitable insulating plate or observe the following minimum distances from the heat source:
- 3 cm to electric or gas cookers.
- 30 cm to an oil or coal-fired cooker.
The floor of the installation location must not give way; if required, reinforce floor. If the floor is uneven, compensate with supports.
Distance from wall
A gap is not required between the appliance and side wall. The containers and shelves are still fully extendable.
Reversing the door
If required, we recommend that you have the door hinges changed over by our customer service. You can find out the costs for changing over the door hinges from your appropriate customer service.
Warning
While changing over the door hinges, ensure that the appliance is not connected to the power supply. Pull out the mains plug beforehand. To prevent damaging the back of the appliance, place adequate padding underneath. Carefully place the appliance on its back.
Note
If the appliance is placed on its back, ensure that the wall spacer is not fitted.
Ambient temperature and ventilation
Ambient temperature
The appliance is designed for a specific climate class. Depending on the climate class, the appliance can be operated at the following temperatures.
The climate class can be found on the rating plate.

Note
The appliance is fully functional within the room temperature limits of the indicated climatic class. If an appliance of climatic class SN is operated at colder room temperatures, the appliance will not be damaged up to a temperature of +5 °C.
Ventilation
The air on the rear panel of the appliance heats up. Conduction of the heated air must not be obstructed. Otherwise, the refrigerating unit must work harder. This increases power consumption.
Therefore: Never cover or block the ventilation openings!
Connecting the appliance
After installing the appliance, wait at least 1 hour until the appliance is switched on. During transportation the oil in the compressor may have flowed into the refrigeration system. Before switching on the appliance for the first time, clean the interior of the appliance (see chapter “Cleaning the appliance”).
Electrical connection
The socket must be near the appliance and also freely accessible following installation of the appliance.
Warning
Risk of electric shock!
- If the length of the mains cable is inadequate, never use multiple sockets or extension leads. Instead, please contact Customer Service for alternatives.
- The appliance complies with protection class I. Connect the appliance to 220–240 V/50 Hz alternating current via a correctly installed socket with protective conductor.
- The socket must be protected by a 10 A to 16 A fuse.
- For appliances operated in non-European countries, check whether the indicated voltage and current type match the values of your electricity supply. This information can be found on the rating plate,

Warning
Never connect the appliance to electronic energy saver plugs.
Our appliances can be used with mains and sine-controlled inverters. Mains-controlled inverters are used for photovoltaic systems which are connected directly to the national grid. Sine-controlled inverters must be used for isolated applications (e.g. on ships or in mountain lodges) which are not connected directly to the national grid.
Getting to know your appliance

Please fold out the illustrated last page. These operating instructions refer
to several models.
The features of the models may vary. The diagrams may differ.
Not all models.
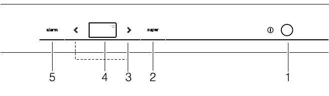
- 1–5 Controls
- 6 Light (LED)
- 7 No Frost System
- 8 Freezer compartment flap
- 9 Glass shelf
- 10 Ice maker/Ice cube container
- 11 Frozen food container (small)
- 12 Frozen food container (large)
- 13 Height-adjustable feet
- 14 Door ventilation
Controls

- On/Off button
Serves to switch the whole appliance on and off. - “super” button
Switches super freezing on and off. Illuminates when super freezing is on. - Temperature selection button
The required temperature is set with this button. - Temperature display
Indicates the set temperature of the freezer compartment. - Alarm button
Used to switch off the warning signal, see chapter “Alarm function”.
Switching the appliance on
Switch on the appliance with the On/Off button 1.
A warning signal sounds.
The temperature display 4 flashes and the alarm button 5 is lit.
Press the alarm button 5. The warning signal switches off.
When the freezer compartment has reached the set temperature, the temperature display 4 is lit.
Operating tips
- After the appliance has been switched on, it may take several hours until the set temperature has been reached. Do not put any food
in the appliance beforehand. - The fully automatic No Frost system ensures that the freezer compartment remains free of ice. Defrosting is not required.
- The sides of the housing are sometimes heated slightly. This prevents condensation in the area
of the door seal. - If the freezer compartment door cannot be immediately re-opened after it has been closed, wait until
the resulting low pressure has equalized.
Setting the temperature
Freezer
- The temperature can be set from -16 °C to -26 °C.
- Keep pressing temperature setting button 3 until the required freezer compartment temperature is set.
- The value last selected is saved. The set temperature is indicated on temperature display 4.
Alarm functions
Door alarm
A warning signal is switched on if the appliance door is left open for a while. Close the door to switch off the warning signal.
Thaw alarm
- When the alarm button 5 is pressed, the temperature display indicates for five seconds the warmest temperature reached in the freezer compartment. Then this value is deleted.
- The display 4 indicates the set freezer compartment temperature without flashing.
- Henceforth the “warmest temperature” will be redefined and saved.
Temperature alarm
- The temperature alarm switches on if the freezer compartment is too warm and the frozen food is at risk of thawing.
- The temperature display 4 flashes and the alarm button 5 is lit.
- The alarm may switch on without any risk to the frozen food:
- when the appliance is switched on,
- when large quantities of fresh food are placed in the appliance,
- if the freezer compartment door is open too long.
Power failure alarm
The power failure alarm switches on if the freezer or refrigerator compartment is too warm due to a power failure and the food is at risk of thawing.
The alarm button 5 is lit and “PI” appears on the temperature display 4.
Note
Do not refreeze thawing or thawed food. Only ready meals (boiled or fried) may be refrozen.
No longer store the frozen produce for the max. storage period.
Switching off the alarm
Press the alarm button 5 to switch off the warning signal.
Usable capacity
Information on the usable capacity can be found inside your appliance on the rating plate.

Fully utilizing the freezer volume
The maximum amount of food can be placed in the freezer by removing all fittings. The food can be stacked directly on the shelves and in the bottom of the freezer compartment.
Removing the fittings
- Pull out the frozen food container all the way, lift at the front and remove.

- If appliances feature an ice maker, the latter can be taken out.

- Freezer compartment flap

- Open freezer compartment flap halfway,
- detach holder from one side of the appliance,
- pull freezer compartment flap forwards and remove from the holder,
- detach holder from the other side of the appliance.
Freezer compartment
Use the freezer compartment
- To store deep-frozen food.
- To make ice cubes.
- To freeze food.
Note
Ensure that the freezer compartment door has been closed properly. If the door is open, the frozen food will thaw. The freezer compartment will become covered in thick ice. Also: waste of energy due to high power consumption!
Freezing capacity
Information on the freezing capacity can be found on the rating plate.
Prerequisites for freezing capacity
- Switch on fast freezing 24 hours before placing fresh products in the compartment (see chapter “Fast freezing”).
- The food can be stacked directly on the shelves and in the bottom of the freezer compartment.
Note
Do not cover the ventilation slots on the rear panel with frozen food. - Freeze large quantities of food preferably in the very top compartment where food freezes particularly quickly and therefore also gently.
- If the top compartment does not have enough space, store the remaining foodstuff in the compartment underneath.
Freezing and storing food
Purchasing frozen food
- Packaging must not be damaged.
- Use by the “use by” date.
- Temperature in the supermarket freezer must be -18 °C or lower.
- If possible, transport deep-frozen food in an insulated bag and place quickly in the freezer compartment.
Note when loading products
- Preferably freeze large quantities of food in the top compartment, where food freezes particularly quickly and therefore also gently.
- Do not cover the ventilation slots on the rear panel with frozen food.
- Place the food over the whole area of the compartments or the frozen food containers.
Note
Food which is already frozen must not come into contact with the food which is to be frozen. If required, move the frozen food to the frozen food container. - To ensure air circulation in the appliance, insert frozen food container all the way.
Freezing smaller amounts of food
How you freeze smaller amounts of food, so that they are frozen solid extremely quickly, can be found in the section Automatic super freezing.
Freezing fresh food
- Freeze fresh and undamaged food only.
- To retain the best possible nutritional value, flavor and color, vegetables should be blanched before freezing. Auberges, peppers, zucchini and asparagus do not require blanching.
- Literature on freezing and blanching can be found in bookshops.
Note
Keep food which is to be frozen away from food which is already frozen.
- The following foods are suitable for freezing: Cakes and pastries, fish and seafood, meat, game, poultry, vegetables, fruit, herbs, eggs without shells, dairy products such as cheese, butter and quark, ready meals and leftovers such as soups, stews, cooked meat and fish, potato dishes, soufflés and desserts.
- The following foods are not suitable for freezing: Types of vegetables, which are usually consumed raw, such as lettuce or radishes, eggs in shells, grapes, whole apples, pears and peaches, hard-boiled eggs, yoghurt, soured milk, sour cream, crème fraiche and mayonnaise.
Packing frozen food
To prevent food from losing its flavor or drying out, place in airtight containers.
- Place food in packaging.
- Remove air.
- Seal the wrapping.
- Label packaging with contents and date of freezing.
Suitable packaging:
Cling wrap, tubular film made of polyethylene, aluminium foil, freezer containers.
These products are available from specialist outlets.
Unsuitable packaging:
Wrapping paper, greaseproof paper, cellophane, bin liners and used shopping bags.
Items suitable for sealing packaged food:
Rubber bands, plastic clips, string, cold-resistant adhesive tape, etc.
Bags and tubular film made of polyethylene (PE) can be sealed with a film heat sealer.
Shelf life of frozen food
Storage duration depends on the type of food.
At a temperature of -18 °C:
- Fish, sausage, ready meals and cakes and pastries: up to 6 months
- Cheese, poultry and meat: up to 8 months
- Vegetables and fruit: up to 12 months
Super freezing
Food should be frozen solid as quickly as possible in order to retain vitamins, nutritional value, appearance and flavor.
The appliance runs constantly when super freezing has been switched on. The freezer compartment temperatures are much lower than in normal operation.
Switching on super freezing
Depending on the amounts of food to be frozen, you can use super freezing in different ways.
Note
When super freezing is switched on, increased operating noise may occur, and super button is lit,
Automatic super freezing
Smaller amounts of food are frozen solid extremely quickly if you freeze them as follows:
- in the second frozen food container from below
- from the outer right
- over a large area
Automatic super freezing automatically switches on when warm food items are placed inside the freezer.
Manual super freezing
- Freeze larger quantities of food preferably in the top compartment. This is where food freezes particularly quickly and therefore also gently.
- Several hours before placing fresh food in the freezer compartment, switch on super freezing to prevent an unwanted temperature rise.
- If the freezing capacity according to the rating plate is to be used, switch on super freezing 24 hours before the fresh products are placed in the freezer compartment.
- Press 2 super button.
- If super freezing has been switched on, the button is lit.
Switching off super freezing
Press 2 super button.
Super freezing is now switched off.
When super freezing has finished, the appliance automatically switches to normal mode.
- With automatic super freezing: As soon as the smaller amounts of food to be frozen have frozen solid.
- With manual super freezing: After approx. 2½ days.
Thawing frozen food
Depending on the type and application, select one of the following options:
- at room temperature
- in the refrigerator
- in an electric oven, with/without fan assisted hot-air
- in the microwave
Caution
- Do not refreeze thawing or thawed food. Only ready meals (boiled or fried) may be refrozen.
- No longer store the frozen produce for the max. storage period.
Interior fittings
Frozen food container (large)
For the storage of large frozen items, e.g. turkey, duck and goose.
Ice maker
Use only drinking water to make ice cubes.
- Take out water container and fill with drinking water up to the mark.
Note
If too much drinking water is added, the function of the ice maker may be impaired. The ice cubes cannot be removed individually from the ice tray. Too much drinking water was added and is running into the storage container, causing any ice cubes to freeze together. - Pour drinking water into the filler opening.
- Re-insert water container.
- When the ice cubes are frozen, press lever down and release.
The ice cubes loosen and fall into the storage container. - Pull out storage container and remove ice cubes.
Freezer calendar
- To prevent the quality of the frozen food from deteriorating, do not exceed the storage duration. The storage period depends on the type of produce.
- The figures next to the symbols indicate the permitted storage period
- of the produce in months. In the case of commercially available frozen food observe the date of manufacture or use-by date.
Ice pack
- The ice pack can be removed to cool food temporarily, e.g. in a cold bag.
- If a power failure or malfunction occurs, the ice pack can be used to slow down the thawing process.
- To save space, the ice pack can be stored in the door compartment.
Ice cube tray
- Fill the ice cube tray ¾ full of drinking water and place in the freezer compartment.
- If the ice tray is stuck to the freezer compartment, loosen with a blunt implement only (spoon-handle).
- To loosen the ice cubes, twist the ice tray slightly or hold briefly under flowing water.
Switching off and disconnecting the appliance
Turn off appliance
Press the On/Off button 1. Temperature display 4 goes out, refrigeration unit switches off.
Disconnecting the appliance
If you do not use the appliance for a prolonged period:
- Switch off the appliance.
- Pull out mains plug or switch off fuse.
- Clean the appliance.
- Leave the appliance door open.
Defrosting
Freezer compartment
The fully automatic No Frost system ensures that the freezer compartment remains free of ice. Defrosting is no longer required.
Cleaning the appliance
Caution
- Do not use abrasive, chloride or acidic cleaning agents or solvents.
- Do not use scouring or abrasive sponges.
The metallic surfaces could corrode. - Never clean shelves and containers in the dishwasher.
The parts may become deformed!
Note
Approx. 4 hours before cleaning
the appliance, switch on super freezing so that the food drops to a very low temperature and can therefore be stored at room temperature for a longer period.
Proceed as follows:
- Before cleaning: Switch off the appliance.
- Pull out mains plug or switch off fuse.
- Take out the frozen food and store in a cool location. Place the ice pack (if enclosed) on the food.
- Wait until the layer of frost has thawed.
- Clean the appliance with a soft cloth, lukewarm water and a little pH neutral washing-up liquid. The rinsing water must not run into the light.
- Wipe the door seal with clear water only and then wipe dry thoroughly.
- After cleaning reconnect and switch the appliance back on.
- Put the frozen food back into the appliance.
Interior fittings
All variable parts of the appliance can be taken out for cleaning (see chapter Interior fittings).
Cleaning the ice maker
Clean the ice maker regularly. This will prevent ice cubes, which were made quite a long time ago, from shrinking, having a stale taste or sticking together.
- Take out the ice maker.

- Remove and empty the storage container.
- Remove cover from the ice maker.
- Clean all parts of the ice maker with warm water.
- Leave parts to dry completely.
- Assemble ice maker and insert.
Light (LED)
Your appliance features a maintenance-free LED light.
These lights may be repaired by customer service or authorized technicians only.
Tips for saving energy
- Install the appliance in a dry, well ventilated room! The appliance should not be installed in direct sunlight
or near a heat source (e.g. radiator, cooker).
If required, use an insulating plate. - Do not block the ventilation openings in the appliance.
- Allow warm food and drinks to cool down before placing in the appliance.
- Thaw frozen food in the refrigerator compartment and use the low temperature of the frozen food to cool refrigerated food.
- Open the appliance as briefly as possible.
- Ensure that the freezer compartment door is always closed properly.
- To avoid increased power consumption, occasionally clean the back of the appliance.
- If available:
- Fit wall spacers to obtain the indicated energy rating of the appliance. A reduced wall gap will not restrict the function of the appliance.
- The energy rating may then increase slightly.
- The arrangement of the fittings does not affect the energy rating of the appliance.
Operating noises
Quite normal noises
Note
When super freezing is switched on, increased operating noises may occur.
Droning
Motors are running (e.g. refrigerating units, fan).
Bubbling, humming or gurgling noises
Refrigerant is flowing through the tubing.
Clicking
Motor, switches or solenoid valves are switching on/off.
Cracking
Automatic defrosting is running.
Preventing noises
The appliance is not level
Please align the appliance with a spirit level. Use the height-adjustable feet or place packing underneath them.
The appliance is not free-standing
Please move the appliance away from adjacent units or appliances.
Containers or storage areas wobble or stick
Please check the removable parts and re-insert them correctly if required.
Eliminating minor faults yourself
Before you call customer service:
Please check whether you can eliminate the fault yourself based on the following information.
Customer service will charge you for advice – even if the appliance is still under guarantee!

Appliance self-test
Your appliance features an automatic self-test program which shows you sources of faults which may be repaired by customer service only.
Starting the appliance self-test
- Switch off the appliance and wait 5 minutes.
- Switch on appliance and hold down the super button, for 3–5 seconds within the first 10 seconds until an acoustic signal sounds.
- The self-test programme starts. While the self-test is running, a long acoustic signal sounds.
When the self-test ends and an acoustic signal sounds twice, your appliance is in working order.
If the super button flashes for 10 seconds and 5 acoustic signals sound, there is a fault. Inform customer service.
Ending the appliance self-test
When the programme has ended, the appliance switches over to normal operation.
Customer service, product / production number and technical data
Customer service
- If you have any queries, are unable to rectify faults on the appliance yourself or if your appliance needs to be repaired, contact Customer Service.
- You can solve many problems yourself by consulting the information on troubleshooting in these instructions or on our website. If this is not the case, contact our Customer Service.
- We will always find an appropriate solution and try to avoid unnecessary visits being made by a Customer Service technician.
- With any warranty claims, we will make sure that your appliance is repaired by trained Customer Service technicians using genuine spare parts, including after the manufacturer’s warranty has expired.
- For safety reasons, repairs to the appliance should only be carried out by trained specialist staff. The warranty claim becomes void if repairs or interventions have been carried out by persons not authorized by us for that purpose or if our appliances have been fitted with spare, supplementary or accessory parts that were not genuine parts and then resulted in a defect.
- Function-relevant genuine spare parts according to the corresponding Eco-design Directive can be obtained from Customer Service for a period of at least 10 years from the date on which your appliance was placed on the market within the European Economic Area.
Note
- Under the terms of the manufacturer’s warranty applicable to the location, the use of Customer Service is free of charge.
- The minimum duration of the warranty (manufacturer’s warranty for private consumers) in the European Economic Area is 2 years (except for Denmark and Sweden, where it is 1 year) according to the terms of warranty applicable to the location. The terms of warranty do not affect other rights or claims held by yourself under local legislation.
- Detailed information about the warranty period and terms of warranty in your country are available from Customer Service, your dealer or our website.
- When contacting after-sales service, you will need the product number (E no.) and the production number (FD no.) of your appliance.
- The contact details for Customer Service can be found in the enclosed Customer Service directory or on our website.
Product number (E no.) and production number (FD no.)
The product number (E no.) and the production number (FD no.) can be found on the rating plate of the appliance.
Make a note of your appliance’s details and the Customer Service telephone number to find them again quickly.
Technical data
Refrigerant, net volume and further technical specifications can be found on the rating plate. 
More information about your model can be found online at https://www.bsh-group.com/energylabel (only applies to countries in the European Economic Area). This web address is linked to the official EU EPREL product database. At the time of printing its web address had not yet been published. Please then follow the instructions on how to search for models. The model identifier is made up of the characters before the slash in the product number (E no.) on the rating plate. Alternatively you can also find the model identifier in the first line of the EU energy label.
Repair order and advice on faults
Contact information for all countries can be found on the enclosed customer service list.
GB 0344 892 8979 Calls charged at local or mobile rate.
IE 01450 2655 0.03 € per minute at peak. Off peak 0.0088 € per minute.
US 800 944 2904 toll-free






















