Model CR 18DB
Cordless Reciprocating Saw
Designed for operating in USA & Canada only.
When this product is used in areas other than the USA & Canada,
we cannot guarantee the product quality and performance.
SAFETY INSTRUCTIONS AND INSTRUCTION MANUAL
WARNING
IMPROPER OR UNSAFE use of this power tool can result in death or serious bodily injury!
This manual contains important information about product safety. Please read and understand this manual BEFORE operating the power tool. Please keep this manual available for other users and owners before they use the power tool. This manual should be stored in a safe place.
IMPORTANT SAFETY INFORMATION
Read and understand all of the safety precautions, warnings, and operating instructions in the Instruction Manual before operating or maintaining this power tool.
Most accidents that result from power tool operation and maintenance are caused by the failure to observe basic safety rules or precautions. An accident can often be avoided by recognizing a potentially hazardous situation before it occurs, and by observing appropriate safety procedures.
Basic safety precautions are outlined in the “SAFETY” section of this Instruction Manual and in the sections which contain the operation and maintenance instructions.
Hazards that must be avoided to prevent bodily injury or machine damage are identifi ed by WARNINGS on the power tool and in this Instruction Manual.
NEVER use this powerful tool in a manner that has not been specifi cally recommended by Metabo HPT.
MEANINGS OF SIGNAL WORDS
WARNING indicates a potentially hazardous situation that, if ignored, could result in death or serious injury.
CAUTION indicates a potentially hazardous situation that, if not avoided, may result in minor or moderate injury, or may cause machine damage.
NOTE emphasizes essential information.
SAFETY
GENERAL POWER TOOL SAFETY WARNINGS
WARNING
Read all safety warnings, instructions, illustrations, and specifi cations provided with this power tool.
Failure to follow all instructions listed below may result in electric shock, fire, and/or serious injury.
Save all warnings and instructions for future reference.
The term “power tool” in the warnings refers to your mains-operated (corded) power tool or battery-operated (cordless) power tool.
1) Work area safety
a) Keep the work area clean and well-lit.
Cluttered or dark areas invite accidents.
b) Do not operate power tools in explosive atmospheres, such as in the presence of flammable liquids, gases, or dust.
Power tools create sparks that may ignite dust or fumes.
c) Keep children and bystanders away while operating a power tool.
Distractions can cause you to lose control.
2) Electrical safety
a) Power tool plugs must match the outlet.
Never modify the plug in any way.
Do not use any adapter plugs with earthed (grounded) power tools.
Unmodifi ed plugs and matching outlets will reduce the risk of electric shock.
b) Avoid body contact with earthed or grounded surfaces, such as pipes, radiators, ranges, and refrigerators.
There is an increased risk of electric shock if your body is earthed or grounded.
c) Do not expose power tools to rain or wet conditions.
Water entering a power tool will increase the risk of electric shock.
d) Do not abuse the cord. Never use the cord for carrying, pulling, or unplugging the power tool.
Keep cord away from heat, oil, sharp edges, or moving parts.
Damaged or entangled cords increase the risk of electric shock.
e) When operating a power tool outdoors, use an extension cord suitable for outdoor use.
The use of a cord suitable for outdoor use reduces the risk of electric shock.
f) If operating a power tool in a damp location is unavoidable, use a residual current device (RCD) protected supply.
The use of an RCD reduces the risk of electric shock.
3) Personal safety
a) Stay alert, watch what you are doing, and use common sense when operating a power tool.
Do not use a power tool while you are tired or under the influence of drugs, alcohol, or medication.
A moment of inattention while operating power tools may result in serious personal injury.
b) Use personal protective equipment. Always wear eye protection.
Protective equipment such as a dust mask, non-skid safety shoes, hard hat, or hearing protection is used for appropriate conditions will reduce personal injuries.
c) Prevent unintentional starting. Ensure the switch is in the off -position before connecting to a power source and/or battery pack, picking up or carrying the tool.
Carrying power tools with your fi nger on the switch or energizing power tools that have the switch on invites accidents.
d) Remove any adjusting key or wrench before turning the power tool on.
A wrench or a key left attached to a rotating part of the power tool may result in personal injury.
e) Do not overreach. Keep proper footing and balance at all times.
This enables better control of the power tool in unexpected situations.
f) Dress properly. Do not wear loose clothing or jewelry. Keep your hair and clothing away from moving parts.
Loose clothes, jewelry, or long hair can be caught in moving parts.
g) If devices are provided for the connection of dust extraction and collection facilities, ensure these are connected and properly used.
The use of dust collection can reduce dust-related hazards.
h) Do not let familiarity gained from frequent use of tools allow you to become complacent and ignore tool safety principles.
A careless action can cause severe injury within a fraction of a second.
4) Power tool use and care
a) Do not force the power tool. Use the correct power tool for your application.
The correct power tool will do the job better and safer at the rate at which it was designed.
b) Do not use the power tool if the switch does not turn on and off.
Any power tool that cannot be controlled with the switch is dangerous and must be repaired.
c) Disconnect the plug from the power source and/or remove the battery pack, if detachable, from the power tool before making any adjustments, changing accessories, or storing power tools.
Such preventive safety measures reduce the risk of starting the power tool accidentally.
d) Store idle power tools out of the reach of children and do not allow persons unfamiliar with the power tool or these instructions to operate the power tool.
Power tools are dangerous in the hands of untrained users.
e) Maintain power tools and accessories. Check for misalignment or binding of moving parts, breakage of parts, and any other condition that may affect the power tool’s operation.
If damaged, have the power tool repaired before use.
Many accidents are caused by poorly maintained power tools.
f) Keep cutting tools sharp and clean.
Properly maintained cutting tools with sharp cutting edges are less likely to bind and are easier to control.
g) Use the power tool, accessories and tool bits, etc. in accordance with these instructions, taking into account the working conditions and the work to be performed.
Use of the power tool for operations diff erent from those intended could result in a hazardous situation.
h) Keep handles and grasping surfaces dry, clean, and free from oil and grease.
Slippery handles and grasping surfaces do not allow for safe handling and control of the tool in unexpected situations.
5) Battery tool use and care
a) Recharge only with the charger specifi ed by the manufacturer.
A charger that is suitable for one type of battery pack may create a risk of fi re when used with another battery pack.
b) Use power tools only with specifi cally designated battery packs.
Use of any other battery packs may create a risk of injury and fi re.
c) When the battery pack is not in use, keep it away from other metal objects, like paper clips, coins, keys, nails, screws, or other small metal objects, that can make a connection from one terminal to another.
Shorting the battery terminals together may cause burns or a fi re.
d) Under abusive conditions, liquid may be ejected from the battery; avoid contact. If contact accidentally occurs, flush with water.
If liquid contacts the eyes, additionally seek medical help.
Liquid ejected from the battery may cause irritation or burns.
e) Do not use a battery pack or tool damaged or modified.
Damaged or that is modifi ed batteries may exhibit unpredictable behavior resulting in fire, explosion, or risk of injury.
f) Do not expose a battery pack or tool to fi re or excessive temperature.
Exposure to fi re or temperature above 265 °F may cause an explosion.
g) Follow all charging instructions and do not charge the battery pack or tool outside the temperature range specifi ed in the instructions.
Charging improperly or at temperatures outside the specifi ed range may damage the battery and increase the risk of fire.
6) Service
a) Have your power tool serviced by a qualified repair person using only identical replacement parts.
This will ensure that the safety of the power tool is maintained.
b) Never service damaged battery packs.
Service of battery packs should only be performed by the manufacturer or authorized service providers.
– WARNING –
To reduce the risk of the instruction manual.
SPECIFIC SAFETY RULES
- Hold power tool by insulated gripping surfaces, when performing an operation where the cutting accessory may contact hidden wiring.
Cutting accessory contacting a “live” wire may make exposed metal parts of the power tool “live” and could give the operator an electric shock. - Use clamps or another practical way to secure and support the workpiece to a stable platform.
Holding the workpiece by hand or against your body leaves it unstable and may lead to loss of control.
ALWAYS wear ear protectors when using the tool for extended periods.
Prolonged exposure to high-intensity noise can cause hearing loss.- NEVER touch moving parts.
NEVER place your hands, fingers, or other body parts near the tool’s moving parts. - NEVER operate without all guards in place.
NEVER operate this tool without all guards or safety features in place and in proper working order. If maintenance or servicing requires the removal of a guard or safety feature, be sure to replace the guard or safety feature before resuming the operation of the tool. - Use the right tool.
Don’t force a small tool or attachment to do the job of a heavy-duty tool.
Don’t use tools for purposes not intended —for example— don’t use a circular saw for cutting tree limbs or logs. - NEVER use a power tool for applications other than those specified.
NEVER use a power tool for applications other than those specifi ed in the Instruction Manual. - Handle the tool correctly.
Do not drop or throw the tool. - Keep all screws, bolts, and covers tightly in place.
Keep all screws, bolts, and plates tightly mounted. Check their condition periodically. - Do not use power tools if the plastic housing or handle is cracked.
Cracks in the tool’s housing or handle can lead to electric shock. Such tools should not be used until repaired. - Blades and accessories must be securely mounted to the tool.
Prevent potential injuries to yourself or others. Blades, cutting implements, and accessories that have been mounted to the tool should be secure and tight. - Handle the blades very carefully.
- Check the blade carefully for cracks or damage before operation. Replace cracked or damaged blade immediately.
- Avoid cutting nails. Inspect and remove all nails from the workpiece before operation.
- Always hold the body handle and front cover of the power tool fi rmly. Otherwise, the counterforce produced may result in inaccurate and even dangerous operations. (Fig. 19)
- Keep motor air vent clean.
The tool’s motor air vent must be kept clean so that air can freely fl ow at all times. Check for dust build-up frequently. - NEVER use a tool that is defective or operating abnormally.
If the tool appears to be operating unusually, making strange noises, or otherwise appears defective, stop using it immediately and arrange for repairs by a Metabo HPT authorized service center. - NEVER leave the tool running unattended. Turn power off.
Don’t leave the tool until it comes to a complete stop. - Carefully handle power tools.
Should a power tool be dropped or struck against hard materials inadvertently, it may be deformed, cracked, or damaged. - Do not wipe plastic parts with solvent.
Solvents such as gasoline, thinner benzene, carbon tetrachloride, and alcohol may damage and crack plastic parts. Do not wipe them with such solvents.
Wipe plastic parts with a soft cloth lightly dampened with soapy water and dry thoroughly.
ALWAYS wear eye protection that meets the requirement of the latest revision of ANSI Standard Z87.1.- ALWAYS wear a mask or respirator to protect yourself from dust or potentially harmful particles generated during operation.
- ALWAYS fi rmly grip the handle while operating.
- ALWAYS be careful with buried objects such as underground wiring.
Touching these active wiring or electric cable with this tool, you may receive an electric shock.
Confi rm if there are any buried objects such as electric cable within the wall, floor, or ceiling where you are going to operate here after. - Defi nitions for symbols used on this tool
V ………………volts
……………..direct current
no …………….no-load speed
—/min ………. revolutions or reciprocation per minute - Do not touch the blade immediately after operation: it may be extremely hot and could burn your skin.
- During use, do not touch the metal portion of the tool.
- Because the cordless power tool operates by battery power, be aware of the fact that it can begin to operate at any time.
- When working at elevated locations, clear the area of all other people and be aware of conditions below you.
- Do not use the product if the tool or the battery terminals (battery mount) are deformed.
Installing the battery could cause a short circuit that could result in smoke emission or ignition. - Keep the tool’s terminals (battery mount) free of swarf and dust.
○ Prior to using, make sure that swarf and dust have not collected in the area of the terminals.
○ During use, try to avoid swarf or dust on the tool from falling on the battery.
○ When suspending operation or after use, do not leave the tool in an area where it may be exposed to falling swarf or dust.
Doing so could cause a short circuit that could result in smoke emission or ignition. - Always use the tool and battery at temperatures between 23°F (-5°C) and 104°F (40°C).
IMPORTANT SAFETY INSTRUCTIONS FOR BATTERY CHARGER
WARNING
Death or serious bodily injury could result from improper or unsafe use of battery chargers. To avoid these risks, follow this basic safety instruction:
READ ALL INSTRUCTIONS
- This manual contains important safety and operating instructions for battery charger Model UC18YFSL.
- Before using the battery charger read all instructions and cautionary markings on (1) battery charger, (2) battery, and (3) product using the battery.
- To reduce the risk of injury, charge Metabo HPT rechargeable batteries. Another type of battery may burst to cause personal injury and damage.
- Use of an attachment not recommended or sold by the battery charger manufacturer may result in a risk of fi re, electric shock, or injury to persons.
- To reduce the risk of damage to the electric plug and cord, pull the plug when disconnecting the battery charger.
- Make sure the cord is located so that it will not be stepped on, tripped over, or otherwise subjected to damage or stress.
- An extension cord should not be used unless absolutely necessary. The use of an improper extension cord could result in a risk of fi re and electric shock.
If an extension cord must be used make sure:
a. That blades of extension cord are the same number, size, and shape as those of plug on battery charger:
b. That extension cord is properly wired and in good electrical condition; and
c. That wire size is large enough for the AC ampere rating of the battery charger as specifi ed in Table 1.Table 1 RECOMMENDED MINIMUM AWG SIZE FOR
EXTENSION CORDS FOR BATTERY CHARGERSAC Input Rating Amperes* AWG Size of Cord Equal to or greater than but less than Length of Cord. Feet (Meter) 25 (7.5) 50 (15) 100 (30) 150 (45) 0
2
32
3
418
18
1818
18
1818
16
1616
14
14* If the input rating of a battery charger is given in watts rather than in amperes, the corresponding ampere rating is to be determined by dividing the wattage rating by the voltage rating–for example:

- Do not operate a battery charger with a damaged cord or plug replace them immediately.
- Do not operate the battery charger if it has received a sharp blow, been dropped, or otherwise damaged in any way; take it to a qualifi ed serviceman.
- Do not disassemble the battery charger; take it to a qualifi ed serviceman when service or repair is required. Incorrect reassembly may result in a risk of electric shock or fire.
- To reduce the risk of electric shock, unplug the charger from the receptacle before attempting any maintenance or cleaning. Removing the battery will not reduce this risk.
IMPORTANT SAFETY INSTRUCTIONS FOR THE USE OF THE BATTERY AND BATTERY CHARGER
You must charge the battery before you can use the power tool. Before using the model UC18YFSL battery charger, be sure to read all instructions and cautionary statements
on it, the battery, and in this manual.
REMEMBER: USE ONLY Metabo HPT BATTERIES.
OTHER TYPES OF BATTERIES MAY BURST AND CAUSE INJURY!
Follow these instructions to avoid the risk of injury:
WARNING: Improper use of the battery or battery charger can lead to serious injury. To avoid these injuries:
- NEVER disassemble the battery.
- NEVER incinerate the battery, even if it is damaged or is completely worn out. The battery can explode in a fi re.
- NEVER short-circuit the battery.
- NEVER insert any objects into the battery charger’s air vents. Electric shock or damage to the battery charger may result.
- NEVER charge outdoors. Keep the battery away from direct sunlight and use only where there is low humidity and good ventilation.
- NEVER charge when the temperature is below 32°F (0°C) or above 104°F (40°C).
- NEVER connect two battery chargers together.
- NEVER insert foreign objects into the hole for the battery or the battery charger.
- NEVER use a booster transformer when charging.
- NEVER use DC power to charge.
- NEVER store the battery or battery charger in places where the temperature may reach or exceed 104°F (40°C) such as inside a metal box or car.
- NEVER expose the battery or battery charger to rain or wet conditions.
- ALWAYS operate the charger on standard household electrical power (120 volts). Using the charger on any other voltage may overheat and damage the charger.
- ALWAYS wait at least 15 minutes between charges to avoid overheating the charger.
- ALWAYS disconnect the power cord from its receptacle when the charger is not in use.
CAUTION ON LITHIUM-ION BATTERY
To extend the lifetime, the lithium-ion battery equips with the protection function to stop the output.
In the cases of 1 to 3 described below, when using this product, even if you are pulling the switch, the motor may stop.
This is not the trouble but the result of the protection function.
- When the battery power remaining runs out, the motor stops.
In such a case, charge it up immediately. - If the tool is overloaded, the motor may stop. In this case, release the switch of tool and eliminate causes of overloading. After that, you can use it again.
- If the battery is overheated under overload work, the battery power may stop.
In this case, stop using the battery and let the battery cool. After that, you can use it again.
Furthermore, please heed the following warning and caution.
WARNING
In order to prevent any battery leakage, heat generation, smoke emission, explosion, and ignition beforehand, please be sure to heed the following precautions.
- Make sure that the swarf and dust do not collect on the battery.
○ During work make sure that swarf and dust do not fall on the battery.
○ Make sure that any swarf and dust falling on the power tool during work do not collect on the battery.
○ Do not store an unused battery in a location exposed to swarf and dust.
○ Before storing a battery, remove any swarf and dust that may adhere to it, and do not store it together with metal parts (screws, nails, etc.). - Do not pierce the battery with a sharp object such as a nail, strike with a hammer, step on, throw or subject the battery to severe physical shock.
- Do not use an apparently damaged or deformed battery.
- Do not use the battery for a purpose other than those specified.
- If the battery charging fails to complete even when a specified recharging time has elapsed, immediately stop further recharging.
- Do not put or subject the battery to high temperatures or high pressure such as into a microwave oven, dryer, or high-pressure container.
- Keep away from fi re immediately when leakage or foul odor are detected.
- Do not use it in a location where strong static electricity generates.
- If there is battery leakage, foul odor, heat generated, discolored or deformed, or in any way appears abnormal during use, recharging, or storage, immediately remove it from the equipment or battery charger and stop use.
- Do not immerse the battery or allow any fluids to flow inside. Conductive liquid ingress, such as water, can cause damage resulting in fi re or explosion. Store your battery in a cool, dry place, away from combustible and fl ammable items. Corrosive gas atmospheres must be avoided.
CAUTION
- If liquid leaking from the battery gets into your eyes, do not rub your eyes and wash them well with fresh clean water such as tap water and contact a doctor immediately.
If left untreated, the liquid may cause eye problems. - If liquid leaks onto your skin or clothes, wash well with clean water such as tap water immediately. There is a possibility that this can cause skin irritation.
If you fi nd rust, - foul odor, overheating, discolor, deformation, and/or other irregularities when using the battery for the first time, do not use and return it to your supplier or vendor.
WARNING
If an electrically conductive foreign object enters the terminals of the lithium-ion battery, a short-circuit may occur resulting in the risk of fire.
Please observe the following matters when storing the battery.
○ Do not place electrically conductive cuttings, nails, steel wire, copper wire, or other wire in the storage case.
○ Either install the battery in the power tool or store it by securely pressing it into the battery cover until the ventilation holes are concealed to prevent short-circuits (See Fig. 3).
REGARDING LITHIUM-ION BATTERY TRANSPORTATION
When transporting a lithium-ion battery, please observe the following precautions.
WARNING
Notify the transporting company that a package contains a lithium-ion battery, inform the company of its power output, and follow the instructions of the transportation company when arranging transport.
- Lithium-ion batteries that exceed a power output of 100 Wh are considered to be in the freight classifi cation of Dangerous Goods and will require special application procedures.
- For transportation abroad, you must comply with international law and the rules and regulations of the destination country.
SAVE THESE INSTRUCTIONS
AND
MAKE THEM AVAILABLE TO OTHER USERS
AND
OWNERS OF THIS TOOL!
FUNCTIONAL DESCRIPTION
NOTE
The information contained in this Instruction Manual is designed to assist you in the safe operation and maintenance of the power tool.
NEVER operate, or attempt any maintenance on the tool unless you have first read and understood all safety instructions contained in this manual.
Some illustrations in this Instruction Manual may show details or attachments that diff er from those on your own power tool.
NAME OF PARTS
- Cordless Reciprocating Saw (CR18DB)

- Battery
(optional accessories…sold separately)
- Battery Charger
(optional accessories…sold separately)
SPECIFICATIONS
- Cordless Reciprocating Saw
Model CR18DB Motor DC motor Capacity Mild Steel Pipe: O.D. 5″ (130 mm) Vinyl Chloride Pipe: O.D. 5″ (130 mm) Wood: 4-23/32″ (120 mm) Mild Steel Plate: 3/4″ (19 mm) No-load speed 0-3,000 /min Stroke 1-1/8″ (29 mm) Battery Type Li-ion battery Model BSL18300 Voltage DC 18V Weight 7.4 lbs. (3.4 kg) (BSL1830C attached) - Battery Charger
Model UC18YFSL Input power source Single-phase: AC 120 V 60 Hz Charging time (At a temperature of 68°F (20°C)) BSL1830C: Approx. 45 min Charging voltage DC 14.4-18 V Charging current DC 3.5 A Weight 1.1 lbs. (0.5 kg) NOTE: The charging time may vary according to temperature and power source voltage.
ASSEMBLY AND OPERATION
APPLICATIONS
- Cutting metal and stainless steel pipe.
- Cutting various lumber.
- Cutting mild steel, aluminum, and copper plate.
- Cutting synthetic resins, such as phenol resin and vinyl chloride.
REMOVAL AND INSTALLATION METHOD OF BATTERY
- How to remove the battery.
Withdraw the battery from the tool handle while pressing the latch (2 pcs) of the battery (Fig. 5). - How to install the battery.
Align the battery with the groove in the tool handle and slip it into place.
Always insert it all the way until it locks in place with a little click, If not, it may accidentally fall out of the tool, causing injury to you or someone around you (Fig. 5).
CHARGING METHOD
NOTE
Before plugging into the receptacle, make sure of the following points.
- The power source voltage is stated on the nameplate.b
- The cord is not damaged.
WARNING
Do not charge at a voltage higher than indicated on the nameplate.
If charged at a voltage higher than indicated on the nameplate, the charger will burn out.
- Connect the charger’s power cord to a receptacle. When the power cord is connected, the charge indicator lamp will blink in red. (At 1-second intervals)

WARNING
Do not use the electrical cord is damaged. Has it been repaired immediately? - Insert the battery into the battery charger.
Firmly insert the battery into the battery charger as shown in Fig. 6.
- Charging
When inserting a battery into the charger, the pilot lamp will light up continuously in red.
When the battery becomes fully recharged, the pilot lamp will blink in red. (At 1- second intervals.) (See Table 2)
(1) Lamp indication
The indications of the pilot lamp will be as shown in Table 2, according to the condition of the battery charger or the battery.
Table 2
| Indications of the pilot lamp | |||
| Pilot lamp (red) | Before charging | Blinks Lights for 0.5 seconds. Does not light for 0.5 seconds. (off for 0.5 seconds) | Plugged into a power source |
| While charging | Lights Lights continuously | ||
| Charging complete | Blinks Lights for 0.5 seconds. Does not light for 0.5 seconds. (off for 0.5 seconds) | ||
| Overheat standby | Blinks Lights for 1 second. Does not light for 0.5 seconds. (off for 0.5 seconds) | Battery overheated. Unable to charge. (Charging will commence when the battery cools) | |
| Charging impossible | Flickers Lights for 0.1 seconds. Does not light for 0.1 seconds. (off for 0.1 seconds) | Malfunction in the battery or the charger | |
(2) Regarding the temperature of the rechargeable battery.
The temperatures for rechargeable batteries are as shown in Table 3, and batteries that have become hot should be cooled for a while before being recharged.
Table 3
| Rechargeable batteries | Temperatures at which the battery can be recharged |
| BSL1830C | 32°F–122°F (0°C–50°C) |
(3) Regarding recharging time (At 68°F (20°C))
Table 4 Charging time
| Battery/Charger | UC18YFSL |
| BSL1830C | Approx. 45 min |
NOTE
The recharging time may vary according to the ambient temperature.
4. Disconnect the battery charger from the receptacle.
CAUTION
Do not pull the plug out of the receptacle by pulling on the cord.
Make sure to grasp the plug when removing it from the receptacle to avoid damaging the cord.
5. Remove the battery from the battery charger.
Supporting the battery charger with a hand, pull out the battery from the battery charger.
NOTE
Be sure to pull out the battery from the battery charger after use, and then keep it.
Regarding electric discharge in case of new batteries, etc. As the internal chemical substance of new batteries and batteries that have not been used for an extended period is not activated, the electric discharge might be low when using them the first and second time. This is a temporary phenomenon, and the normal time required for recharging will be restored by recharging the batteries 2–3 times.
How to make the batteries perform longer
- Recharge the batteries before they become completely exhausted. When you feel that the power of the tool becomes weaker, stop using the tool and recharge its battery. If you continue to use the tool and exhaust the electric current, the battery may be damaged and its life will become shorter.
- Avoid recharging at high temperatures. A rechargeable battery will be hot immediately after use. If such a battery is recharged immediately after use, its internal chemical substance will deteriorate, and the battery life will be shortened. Leave the battery and recharge it after it has cooled for a while.
CAUTION
- When the battery charger has been continuously used, the battery charger will be heated, thus constituting the cause of the failures. Once the charging has been completed, give 15 minutes rest until the next charging.
- If the battery is charged while it is heated because it has been left for a long time in a location subject to direct sunlight or because the battery has just been used, the pilot lamp of the charger lights for 1 second, but does not light for 0.5 seconds (off for 0.5 seconds). The battery will not be recharged. In such a case, let the battery cool before charging.
- When the pilot lamp fl ickers (at 0.2-second intervals), check for and take out any foreign objects in the charger’s battery connector. If there are no foreign objects, it is probable that the battery or charger is malfunctioning. Take it to your authorized Service Center.
BEFORE USE
WARNING
In the following situations, press the lock-off button on the Lockside (right side).
- When stopping or ending work
- When attaching or removing the blade
- When adjusting the position of the base
- When removing or attaching the battery
- When selecting the stroke mode
For how to use the lock-off button, see “(1) Lock-off button” in “1. Switch operation” on page 14.
PRIOR TO OPERATION
WARNING
To avoid serious accidents, ensure the switch is in the OFF position, and pull out the battery.
- Check the work area environment
Check the work area to make sure that it is clear of debris and clutter.
Clear the area of unnecessary personnel. Ensure that lighting and ventilation are adequate. - Power switch
Ensure that the switch is in the OFF position. - Mounting the blade
This unit employs a detachable mechanism that enables mounting and removal of saw blades without the use of a wrench or other tools.
(1) Pivot the blade holder to open the blade clamp.
(2) Insert the saw blade all the way into the slit of the blade holder with the blade holder pivoting.
(3) When you release your hand from the blade holder, the blade is fi xed in place.
You can mount this blade either in the upward or downward direction. (Fig. 8)
(4) Pull the back of the saw blade two or three times by hand and check that the blade is securely mounted. (Fig. 9)
CAUTION
When pulling the saw blade, be absolutely sure to pull it from the back. Pulling other parts of the blade will result in an injury. - Dismounting the blade
CAUTION
Never touch the saw blade immediately after use.
The metal is hot and can easily burn your skin.
(1) After pivoting the blade holder, point the blade downward. The blade should fall out on its own. If the blade fails to fall out, pull it out by hand.
WHEN THE BLADE IS BROKEN
Even when the saw blade is broken and remains inside the slit of the blade holder, it should fall out when the blade holder is pivoted and the blade is pointed downward. If the blade fails to fall out on its own, take it out by using the procedures described below.
- If a part of the broken saw blade is sticking out of the slit of the blade holder, pull out the protruding part and take the blade out.
- If the broken saw blade is hidden inside the slit, hook the broken blade using the tip of another saw blade and take it out. (Fig. 10)

MAINTENANCE AND INSPECTION OF SAW BLADE MOUNT
(1) After use, blow away sawdust, earth, sand, moisture, etc., with air or brush them away with a brush, etc., to ensure that the blade mount can function smoothly.
NOTE
Continued use of the tool without cleaning the area where the saw blade is attached can result in sawdust and chip buildup which may adversely aff etc the movement of the blade holder. Should this be the case, pivot the blade holder and clean around the blade holder by wiping or blowing away the buildup?
CAUTION
Do not use any saw blade with a worn-out blade hole. Otherwise, the saw blade can come off, resulting in personal injury. (Fig. 11)
5. Adjusting the base (Fig. 12)
To maximize blade life, the base slides in or out to allow the stroke length to be adjusted for better effi ciency.
(1) Remove the hexagonal bar wrench from its storage spot, and use it to loosen the 2 base stopper screws at the bottom of the front cover.
(2) Adjust the attachment position of the base.
(3) Firmly tighten the 2 base stopper screws that were loosened.

WARNING
To avoid injury and damage, do not operate the saw without the base in place. The blade holder may strike against the workpiece and damage the reciprocating mechanism.
6. Check battery insertion
WARNING
If the battery is inserted while the power switch is in the ON position, the power tool will start operating immediately, inviting serious accidents.
CAUTION
Until the battery locks in place with a little click, if not, it may accidentally fall out of the tool causing injury to you or someone around you.
HOUSING THE HEXAGONAL BAR WRENCH 
OPERATION
WARNING
- Never touch the moving parts.
- Do not remove the front cover (refer to Fig. 2).
Be sure to hold the body from the top of the front cover.
CAUTION - Be careful not to let sawdust, earth, moisture, etc., enter the inside of the machine through the plunger section during operation. If sawdust and the like accumulate in the plunger section, always clean it before use.
- During use, press the base against the material while cutting.
Vibration can damage the saw blade if the base is not pressed fi rmly against the workpiece. Furthermore, the tip of the saw blade can sometimes contact the inner wall of the pipe, damaging the saw blade. - Select a saw blade of the most appropriate length. Ideally, the length protruding from the base of the saw blade after subtracting the stroke should be larger than the material (Fig. 14).
If you cut a large pipe, large block of wood, etc., that exceeds the cutting capacity of a blade; there is a risk that the blade may contact with the inner wall of the pipe, wood, etc., resulting in damage. (Fig. 15) 
- To extend the lifetime, the lithium-ion battery equips with the protection function to stop the output. Therefore, if the tool is overloaded, the motor may stop. However, this is not the trouble but the result of the protection function. In this case, release the switch of tool and eliminate the causes of overloading.
- Don’t remove the tool from the workpiece during a cut while the saw blade is moving.
NOTE
Take care not to lock the motor. If the motor is locked, immediately turn the power off. If the motor is locked for a while, the motor or battery may be burnt.
1. Switch operation
(1) Lock-off button
The tool is equipped with a lock-off button. To start the tool, press the lock-off button and then squeeze the trigger switch. (Fig. 16)
CAUTION
Do not fix and secure the lock-off button.
Besides, keep your finger off the trigger switch when the tool is being carried around. Otherwise, the trigger switch can be inadvertently turned ON, resulting in unexpected accidents.
(2) Trigger switch (Fig. 17)
This tool is equipped with a variable speed-controlled trigger switch. The tool can be turned “ON” or “OFF” by squeezing or releasing the trigger. The blade plunger stroke rate can be adjusted from the minimum to maximum nameplate stroke rate by the pressure you apply to the trigger. Apply more pressure to increase the speed and release pressure to decrease the speed.
2. Stroke Mode
This power tool features a straight mode in which the blade moves back and forth and an orbital mode in which the blade moves back and forth while moving up and down.
For soft materials such as wood, the orbital model ensures smooth cutting operation while improving the discharge of sawdust and the interlock with materials. Use the change lever to select the ideal model for the task at hand. (Fig. 18)
The ideal model depends on factors such as the hardness of the material to be cut and the level of finish required. Use Table 5 as a guideline when making your choice.
Table 5
| Stroke Mode | Straight mode | Orbital mode | ||
| Trajectory of Motion | Back and forth action | Back and forth action + up and down action | ||
| Hardness of Material | Hard material | Soft material | ||
| Cutting Speed | Slow | Fast | ||
| Level of Finish | Smooth | Rough | ||
NOTE
- To select the stroke mode, operate the change lever when the product is completely stopped.
- Select Straight Mode if you wish to cut soft materials neatly.
- Occasionally clean the change lever as its movement may be adversely aff ected if dirt or dust collects on the change lever.

3. Cutting operation
<Cutting metallic materials>
CAUTION
- Press the base fi rmly against the workpiece.
- Never apply any unreasonable force to the saw blade when cutting. Doing so can easily break the blade.
- The motor can be locked sometimes, depending on the combination of the material to be cut and the blade. Whenever the motor gets locked, switch it off immediately.
- Do not operate power tools in explosive atmospheres, such as in the presence of fl ammable liquids, gases, or dust. Reciprocating saw creates sparks that may ignite the dust or fumes.
(1) Fasten a workpiece fi rmly before operation. (Fig. 19)
(2) When cutting metallic materials, use proper machine oil (turbine oil, etc.). When not using liquid machine oil, apply grease over the workpiece.
CAUTION
The service life of the saw blade will be drastically shortened if you don’t use machine oil.
<Cutting lumber>
When cutting lumber, make sure that the workpiece is fastened fi rmly before beginning. (Fig. 20)
CAUTION
Never apply any unreasonable force to the saw blade when cutting. Also, remember to press the base against the lumber firmly.
<Sawing curved lines>
We recommend that you use the BIMETAL blade mentioned on Page 21 for the saw blade since it is tough and hardly breaks.
CAUTION
Delay the feed speed when cutting the material into small circular arcs. An unreasonably fast feed may break the blade.
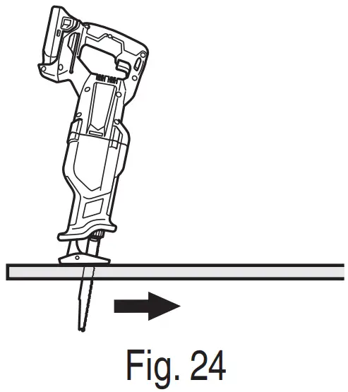
<Plunge cutting>
With this tool, you can perform plunge cutting on plywood panels and thin board materials. You can carry out plunge cutting quite easily with the saw blade installed in reverse as illustrated in Fig. 22, 23, and 24.
NOTE
If the base is set to the position closest to the tool body, it becomes easier to make starter holes.

Use the saw blade that is as short and thick as possible. We recommend for this purpose that you use BI-METAL Blade 725362 mentioned on Page 21.
Be sure to use caution during the cutting operation and observe the following procedures.
- Press the lower part of the base against the material. Pull the trigger switch while keeping the tip of the saw blade apart from the material. (Fig. 22)
- Raise the handle slowly and cut in with the saw blade little by little. (Fig. 23)
- Hold the body fi rmly until the saw blade completely cuts into the material. (Fig. 24)
![]() | ![]() | ![]() |
CAUTION
- Avoid plunge cutting for metallic materials. This can easily damage the blade.
- Never pull the Trigger switch while the tip of the saw blade is pressed against the material. If you do so, the blade can easily be damaged when it collides with the material.
- Make absolutely sure that you cut slowly while holding the body fi rmly. If you apply any unreasonable force to the saw blade during the cutting operation, the blade can easily be damaged.
4. How to use the LED light (Fig. 25) The LED light will light the area at the tip of the tool when the trigger switch is drawn.
The LED light goes out after releasing the trigger switch.

CAUTION
- Do not expose directly your eye to the light by looking into the light.
If your eye is continuously exposed to the light, your eye will be hurt. - Wipe off any dirt or grime attached to the lens of the LED light with a soft cloth, being careful not to scratch the lens.
Scratches on the lens of the LED light can result in decreased brightness.
5. LED light warning signals (Fig. 26)
This product features functions that are designed to protect the tool itself as well as the battery. While the switch is pulled, if any of the safeguard functions activate during operation, the LED light will blink as described in Table 6. When any of the safeguard functions are triggered, immediately remove your finger from the switch and follow the instructions described under corrective action.

Table 6
| Safeguard Function | LED Light Display | Corrective Action |
| Overburden Protection | On 0.1 second/ off 0.1 second | Remove the cause of the overburdening. |
| Temperature Protection | On 0.5 second/ off 0.5 second | Allow the tool and battery to thoroughly cool. |
OPERATIONAL CAUTIONS
Resting the unit after continuous work
- The power tool is equipped with a temperature protection circuit to protect the motor.
Continuous work may cause the temperature of the unit to rise, activating the temperature protection circuit and automatically stopping operation.
If this happens, allow the power tool to cool before resuming use. - After use for continuous work, rest the unit for 15 minutes or so when replacing the battery. The temperature of the motor, switch, etc., will rise if the work is started again immediately after battery replacement, eventually resulting in burnout.
MAINTENANCE AND INSPECTION
WARNING
Be sure to turn off the switch and pull out the battery before doing any inspection or maintenance.
- Inspecting the blade
Continued use of a dull or damaged blade will result in reduced cutting effi ciency and may cause overloading of the motor. Replace the blade with a new one as soon as excessive abrasion is noted.
CAUTION
If a dull saw blade is used, reactive force is increased during the cutting operation. Avoid the use of the dull saw blade without repair. - Check the Screws
Loose screws are dangerous. Regularly inspect them and make sure they are tight.
CAUTION
Using this power tool with loosened screws is extremely dangerous. - Maintenance of the motor
The motor unit winding is the very “heart” of the power tool. Exercise due care to ensure the winding does not become damaged and/or wet with oil or water. - Check for Dust
Dust may be removed with a soft cloth or a cloth dampened with soapy water.
Do not use bleach, chlorine, gasoline, or thinner, for they may damage the plastics. - Inspection of terminals (tool and battery)
Check to make sure that swarf and dust have not been collected on the terminals.
On occasion check prior, during, and after the operation.
CAUTION
Remove any swarf or dust which may have collected on the terminals.
Failure to do so may result in malfunction. - Lubrication
The bearings in this tool have been suffi ciently lubricated with quality lubricating oil, taking into account the expected life of this tool under normal operating conditions. As a result, no further lubrication is necessary. - Disposal of the exhausted battery
WARNING
Do not dispose of the exhausted battery. The battery must explode if it is incinerated. The battery is recyclable. At the end of its useful life, under various state and local laws, it may be illegal to dispose of this battery in the municipal waste stream. Check with your local solid waste officials for details in your area for recycling options or proper disposal. - Storage
Storing in a place below 104°F (40°C) and out of the reach of children.
NOTE
Storing lithium-ion batteries
Make sure the lithium-ion batteries have been fully charged before storing them.
Prolonged storage (3 months or more) of batteries with a low charge may result in performance deterioration, signifi cantly reducing battery usage time or rendering the batteries incapable of holding a charge.
However, signifi cantly reduced battery usage time may be recovered by repeatedly charging and using the batteries two to five times.
If the battery usage time is extremely short despite repeated charging and use, consider the batteries dead and purchase new batteries. - Service and repairs
All quality power tools will eventually require servicing or replacement of parts because of wear from normal use. To assure that only authorized replacement parts will be used, all service and repairs must be performed by a Metabo HPT AUTHORIZED SERVICE CENTER, ONLY.
CAUTION
In the operation and maintenance of power tools, the safety regulations and standards prescribed in each country must be observed.
Important notice on the batteries for the Metabo HPT cordless power tools
Please always use one of our designated genuine batteries. We cannot guarantee the safety and performance of our cordless power tool when used with batteries other than those designated by us, or when the battery is disassembled and modifi ed (such as disassembly and replacement of cells or other internal parts).
TROUBLESHOOTING GUIDE
WARNING
- To avoid injury from an accidental start, turn the switch OFF and remove the plug from the power source or remove the battery from the main body before making any adjustments.
- All electrical or mechanical repairs should be done only by qualified service technicians. Contact Metabo HPT Authorized Service Center.
| Problem | Possible Cause | Possible Solution |
| The tool doesn’t run | No remaining battery power | Charge the battery. |
| Tool suddenly stopped | Tool was overburdened | Get rid of the problem causing the overburden. |
| During operation, lighten the applied pressure. | ||
| Battery or tool overheated | Allow the tool and battery to thoroughly cool. | |
| The trigger switch was held down for 5 minutes or more. | This is not a malfunction. The motor was automatically stopped to prevent the failure of the tool. | |
| Saw blade -can’t be attached -fall off | The shape of the attachment portion doesn’t match | Use the appropriate blade |
| The blade’s attachment hole is worn | Replace with a new blade. | |
| The switch can’t be pulled | The lock-off button is pushed in | Release the Lock-off button. |
| An abnormal high-pitched noise occurs when the trigger switch is pulled. | The trigger switch is being pulled only slightly. | This is not a malfunction. It does not occur if the trigger switch is pulled more fully. |
| Blade wears out too quickly. | Proper machine oil is not used when cutting metallic materials | Use machine oil (turbine oil, etc.) |
| Too much-applied pressure during operation | During operation, lighten the applied pressure. | |
| Unable to properly cut. | The blade is inappropriate for the quality and thickness of the material to be cut | Use the proper blade |
| The blade is too short for the length of the material to be cut | ||
| The blade is worn, degraded, or damaged | Replace with a new blade. | |
| The battery cannot be installed | Attempting to install a battery other than that specified for the tool. | Please install batteries that are multi-volt or BSL18xx series. |
ACCESSORIES
WARNING
ALWAYS use Only authorized Metabo HPT replacement parts and accessories. NEVER use replacement parts or accessories which are not intended for use with this tool. Contact Metabo HPT if you are not sure whether it is safe to use a particular replacement part or accessory with your tool.
The use of any other attachment or accessory can be dangerous and could cause injury or mechanical damage.
NOTE: Accessories are subject to change without any obligation on the part of the Metabo HPT.
STANDARD ACCESSORIES
| CR18DB (NN) | 1 Blade ………………………………………………………………………………………… 1 Battery, battery charger, plastic case, and battery cover are not contained. |
OPTIONAL ACCESSORIES
- Battery (BSL1830C)
- Battery charger (UC18YFSL)
- Battery cover (Code No. 329897)
- Saw Blades
| TYPE | LENGTH | WIDTH | TIP | MATERIAL | CODE NO. | BLADES / POUCH |
| WOOD CUTTING | 6″ (152 mm) | 3/4″ (18 mm) | 6 | HCS | 725300 | 5 |
| 9″ (228 mm) | 3/4″ (18 mm) | 5 | HCS | 725301 | 5 | |
| 12″ (305 mm) | 3/4″ (18 mm) | 6 | HCS | 725302 | 5 | |
| WOOD CUTTING NAIL-EMBEDDED | 6″ (152 mm) | 3/4″ (18 mm) | 6 | BI-METAL | 725310 | 5 |
| 6″ (152 mm) | 3/4″ (18 mm) | 6 | BI-METAL | 725311 | 5 | |
| 6″ (152 mm) | 5/8″ (16 mm) | 6 | BI-METAL | 725312 | 5 | |
| 7 7/8″ (200 mm) | 3/4″ (18 mm) | 8 | BI-METAL | 371902 | 3 | |
| 9″ (228 mm) | 3/4″ (18 mm) | 6 | BI-METAL | 725313 | 5 | |
| 12″ (305 mm) | 3/4″ (18 mm) | 6 | BI-METAL | 725314 | 5 | |
| METAL CUTTING | 6″ (152 mm) | 3/4″ (18 mm) | 10 | BI-METAL | 725320 | 5 |
| 9″ (228 mm) | 3/4″ (18 mm) | 10 | BI-METAL | 725321 | 5 | |
| 6″ (152 mm) | 3/4″ (18 mm) | 14 | BI-METAL | 725322 | 5 | |
| 9″ (228 mm) | 3/4″ (18 mm) | 14 | BI-METAL | 725323 | 5 | |
| 6″ (152 mm) | 3/4″ (18 mm) | 18 | BI-METAL | 725324 | 5 | |
| 9″ (228 mm) | 3/4″ (18 mm) | 18 | BI-METAL | 725326 | 5 | |
| 6″ (152 mm) | 3/4″ (18 mm) | 24 | BI-METAL | 725325 | 5 | |
| 9″ (228 mm) | 3/4″ (18 mm) | 24 | BI-METAL | 725327 | 5 | |
| ALL PURPOSE | 6″ (152 mm) | 3/4″ (18 mm) | 101114 | BI-METAL | 725330 | 5 |
| 9″ (228 mm) | 3/4″ (18 mm) | 101114 | BI-METAL | 725331 | 5 | |
| 12″ (305 mm) | 3/4″ (18 mm) | 101114 | BI-METAL | 725332 | 5 | |
| CARBIDE GRIT | 9″ (228 mm) | 3/4″ (18 mm) | GRIT | – | 725340 | 3 |
| DEMOLITION | 9″ (228 mm) | 7/8″ (22 mm) | 6 | BI-METAL | 725350 | 3 |
| 9″ (228 mm) | 7/8″ (22 mm) | 9 | BI-METAL | 725351 | 3 | |
| NEW WOOD | 6″ (152 mm) | 3/4″ (18 mm) | PROG. | BI-METAL | 725360 | 5 |
| NEW METAL | 6″ (152 mm) | 3/4″ (18 mm) | PROG. | BI-METAL | 725361 | 5 |
| NEW ALL-PURPOSE | 8″ (203 mm) | 3/4″ (18 mm) | PROG. | BI-METAL | 725362 | 5 |
PROG.: NEW PROGRESSIVE TOOTH HCS: HIGHSPEED CARBON STEEL
NOTE: Specifi cations are subject to change without any obligation on the part of the Metabo HPT.

WARNING:
Some dust created by power sanding, sawing, grinding, drilling, and other construction activities contains chemicals known to the State of California to cause cancer, birth defects, or other reproductive harm. Some examples of these chemicals are:
- Lead from lead-based paints,
- Crystalline silica from bricks and cement and other masonry products, and
- Arsenic and chromium from chemically treated lumber.
Your risk from these exposures varies, depending on how often you do this type of work. To reduce your exposure to these chemicals: work in a well-ventilated area, and work with approved safety equipment, such as those dust masks that are specially designed to filter out microscopic particles.
Please contact Koki Holdings America Ltd. at 1-800-59-TOOLS (toll-free) or Metabo HPT
AUTHORIZED POWER TOOL SERVICE CENTER regarding COLLECTION.
Issued by
Koki Holdings Co., Ltd.
Shinagawa Intercity Tower A, 15-1, Konan 2-Chome,
Minato-ku, Tokyo 108-6020, Japan
Distributed by
Koki Holdings America Ltd.
1111 Broadway Ave,
Braselton, Georgia, 30517
Koki Holdings America Ltd. Canadian Branch
3405 American Drive. Units 9-10,
Mississauga, ON, L4V 1T6
203
Code No. C99745061 G
Printed in China






You can mount this blade either in the upward or downward direction. (Fig. 8)
(4) Pull the back of the saw blade two or three times by hand and check that the blade is securely mounted. (Fig. 9)

If you cut a large pipe, large block of wood, etc., that exceeds the cutting capacity of a blade; there is a risk that the blade may contact with the inner wall of the pipe, wood, etc., resulting in damage. (Fig. 15) 






















