REMINGTON Advanced Coconut Therapy 32mm Tong CI8648 User Manual


Thank you for buying your new Remington® product. Please read these instructions carefully and keep them safe. Remove all packaging before use.
WARNING: This appliance is hot. Keep out of reach of children at all times.
IMPORTANT SAFEGUARDS
- This appliance can be used by children aged from 8 years and above and persons with reduced physical, sensory or mental capabilities or lack of experience and knowledge if they have been supervised/instructed and understand the hazards involved. Children shall not play with the appliance. Cleaning and user maintenance shall not be done by children unless they are older than 8 and supervised. Keep the appliance and cable out of reach of children under 8 years.
Do not use this appliance near bathtubs, showers, basins or other vessels containing water. - When the appliance is used in a bathroom, unplug it after use since the proximity of water presents a hazard even when the applaince is switched off.
- For additional protection, the installation of a residual current device (RCD) having a rated residual operating current not exceeding 30 mA is advisable in the electrical circuit supplying the bathroom*.
* Currently, the fitting in a bathroom of an electrical socket suitable or capable of operating the appliance is not permitted in the UK (see BS7671). - Burn hazard. Keep the appliance out of reach from young children, particularly during use and while cooling down.
- Never leave the appliance unattended when it is connected to the power supply.
- Always place the appliance with its stand, if any, on a heat-resistant, stable flat surface.
- If the supply cord of this unit becomes damaged, discontinue use immediately and return the appliance to your nearest authorised Remington® service dealer for repair or replacement in order to avoid a hazard.
- Do not allow any part of the appliance touch the face, neck or scalp.
- Keep the power plug and cord away from heated surfaces.
- Do not use attachments other than those we supply.
- Do not use the appliance if it is damaged or malfunctions.
- Do not twist or kink the cable, or wrap it round the appliance. Check the cord regularly for any sign damage.
- CAUTION: Always remove the appliance from the storage pouch/sleeve before heating and allow it to fully cool before placing it back.
- This appliance is not intended for commercial or salon use.
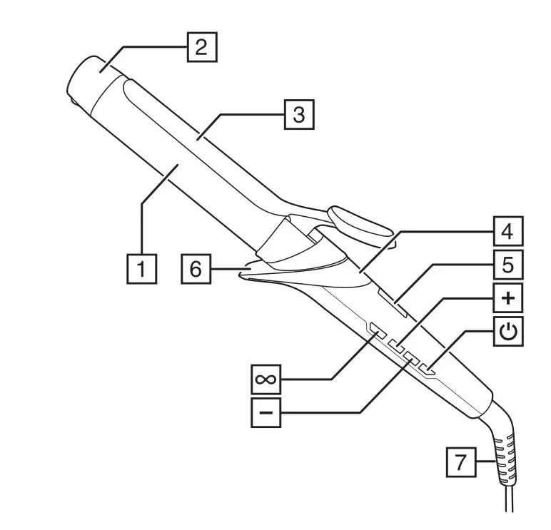
PARTS

ADDITIONAL FEATURES
- Fast heat up—ready to use in 30 seconds.
- Automatic safety shut off – this unit will switch itself off if no button is pressed or it is left on after 60 minutes.
- Multivoltage: for home or abroad. At 120V times and temperatures may vary.
INSTRUCTIONS FOR USE
- Before use, ensure the hair is clean, dry and tangle-free.
- For extra protection use a heat protection spray.
- Hairsprays contain flammable material – do not use while using this product.
- Section the hair prior to styling. Style the lower layers first.
- Plug the product into the mains power supply.
- When your wand is plugged in but not turned on the lock symbol
will come on to show that it is in standby mode. - Press and hold the on/off (C) button to switch on.
- Select the appropriate temperature for your hair type using the “+” and “-” temperature controls on the side of the product. Start styling on lower temperatures first.
- The “+”button will increase the temperature and the “-”button will decrease the temperature.
Recommended Temperatures
Caution: the hottest temperatures should only be used by experienced stylers. - The temperature display will flash until the selected temperature is reached.
- Working on section at a time, open the tong clip, place a section of hair in between the tong clip and barrel and release the clip at the end of the hair.
NOTE: for best results, ensure the ends of the hair are under the clip. If they aren’t, gently glide the styler down the hair until you can no longer see the ends. - Wait about 10 seconds for the curl to form.
- Unwind the hair and release the curl.
- Repeat this around the head to create as many curls as desired.
- After use, press and hold the on/off (C) button for two seconds to turn off then unplug the appliance.
- Tip: let the curls cool before styling or brushing; this will help to prolong the curls.
Intelligent Heat Sensor
- Press the ∞ button to activate the Intelligent Heat Sensor.
- If the sensor is on during styling, the indicator light will come on to show that the sensor is monitoring the barrel temperature and continually regulating the heat output, helping to prevent the damage caused by overheating. These temperature changes are not displayed on the product but happen quickly and automatically during styling.
Temperature boost function
- For quick touch ups of stubborn, hard to style sections.
- The temperature boost function boosts the temperature to 210°C.
- Hold the “+” button for 2 seconds to operate.
Temperature Lock Function
- Set the desired temperature using the + and – buttons then lock the settings by pressing the “-”button for 2 seconds. The
symbol will appear on the temperature display. - To unlock the temperature setting, press and hold the “-” button for 2 seconds
STORAGE, CLEANING AND MAINTENANCE
Let the appliance cool down before cleaning and storing away
- Wipe all the surfaces with a damp cloth.
- Don’t use harsh or abrasive cleaning agents or solvents.
RECYCLING
To avoid environmental and health problems due to hazardous substances, appliances and rechargeable and non-rechargeable
batteries marked with one of these symbols must not be disposed of with unsorted municipal waste. Always dispose of electrical and electronic products and, where applicable, rechargeable and non-rechargeable batteries, at an appropriate official recycling/collection point.
21/INT/ CI8648 T22-7002168 Version 05 /21 Remington® is a Registered Trade Mark of Spectrum Brands,Inc., or one of its subsidiaries
Russell Hobbs Deutschland GmbH, Am Unisyspark 1, 65843 Sulzbach, Germany remington-europe.com
© 2021 Spectrum Brands, Inc.
Caution: the hottest temperatures should only be used by experienced stylers.

















