FINPUTSAD

Safety Information
Before using the appliance, read these safety instructions. Keep them nearby for future reference.
These instructions and the appliance itself provide important safety warnings, to be observed at all times. The manufacturer declines any liability for failure to observe these safety instructions, for inappropriate use of the appliance or incorrect setting of controls.
Very young children (0-3 years) should be kept away from the appliance. Young children (3-8 years) should be kept away from the appliance unless continuously supervised. Children from 8 years old and above and persons with reduced physical, sensory or mental capabilities or lack of experience and knowledge can use this appliance only if they are supervised or have been given instructions on safe use and understand the hazards involved. Children must not play with the appliance. Cleaning and user maintenance must not be carried out by children without supervision.
PERMITTED USE
CAUTION: the appliance is not intended to be operated by means of an external switching device, such as a timer, or separate remote controlled system.
This appliance is intended to be used in household and similar applications such as: staff kitchen areas in shops, offices and other working environments; farm houses; by clients in hotels, motels, bed & breakfast and other residential environments.
This appliance is not for professional use. Do not use the appliance outdoors.
The maximum number of place settings is shown in the product sheet.
The door should not be left in the open position – risk of tripping. The open appliance door can only support the weight of the loaded rack when pulled out. Do not rest objects on the door or sit or stand on it.
WARNING: Dishwasher detergents are strongly alkaline. They can be extremely dangerous if swallowed. Avoid contact with the skin and eyes and keep children away from the dishwasher when the door is open. Check that the detergent receptacle is empty after completion of the wash cycle.
WARNING: Knives and other utensils with sharp points must be loaded in the basket with their points down or placed in a horizontal position – risk of cuts.
Do not store explosive or flammable substances (e.g. gasoline or aerosol cans) inside or near the appliance – risk of fire. The appliance must be used only to wash domestic dishes in accordance with the instructions in this manual. The water in the appliance is not potable. Use only detergent and rinse additives designed for an automatic dishwasher. When adding a water softener (salt), run one cycle immediately with the machine empty, to avoid corrosion damage to internal parts. Store the detergent, rinse aid and salt out of reach of children. Shut off the water supply and unplug or disconnect the power before servicing and maintenance. Disconnect the water and electricity supply in the event of any malfunction.
INSTALLATION
The appliance must be handled and installed by two or more persons – risk of injury. Use protective gloves to unpack and install – risk of cuts.
Installation, including water supply (if any), electrical connections and repairs must be carried out by a qualified technician. Do not repair or replace any part of the appliance unless specifically stated in the user manual. Keep children away from the installation site. After unpacking the appliance, make sure that it has not been damaged during transport. In the event of problems, contact the dealer or your nearest After-sales Service. Once installed, packaging waste (plastic, styrofoam parts etc.) must be stored out of reach of children – risk of suffocation. The appliance must be disconnected from the power supply before any installation operation – risk of electrical shock. During installation, make sure the appliance does not damage the power cable – risk of fire or electrical shock. Only activate the appliance when the installation has been completed.
Connect the dishwasher to the water mains using only new hose sets. The old hose sets should not be reused.
All hoses must be securely clamped to prevent them coming loose during operation.
All local waterboard regulations must be complied with. Water supply pressure 0.05 – 1.0 MPa.
The appliance must be placed against the wall or built into furniture to limit the access to its rearside.
For dishwashers having ventilation openings in the base, the openings must not be obstructed by a carpet.
If installing the dishwasher at the end of a row of units making the side panel accessible, the hinge area must be covered to avoid risk of injury.
The inlet water temperature depends on the dishwasher model. If the installed inlet hose is marked “25°C Max”, the maximum allowed water temperature is 25°C. For all other models the maximum allowed water temperature is 60°C. Do not cut hoses and, in the case of appliances fitted with a waterstop system, do not immerse the plastic casing containing the inlet hose in water. If hoses are not long enough, contact your local dealer. Make sure the inlet and drain hoses are kink-free and are not crushed. Before using the applinace for the first time, check the water inlet and drain hose for leaks. Make sure that the four feet are stable and resting on the floor, adjusting them as required, and check that the dishwasher is perfectly levelled using a spirit level.
Use the appliance only when the covers shown on diagram 19 in the installation booklet are correctly assembled – risk of injury.
ELECTRICAL WARNINGS
The rating plate is on the edge of the dishwasher door (visible when the door is open).
It must be possible to disconnect the appliance from the power supply by unplugging it if plug is accessible, or by a multi-pole switch installed upstream of the socket in accordance with the wiring rules and the appliance must be earthed in conformity with national electrical safety standards.
Do not use extension leads, multiple sockets or adapters. The electrical components must not be accessible to the user after installation. Do not use the appliance when you are wet or barefoot. Do not operate this appliance if it has a damaged power cable or plug, if it is not working properly, or if it has been damaged or dropped.
If the supply cord is damaged, it must be replaced with an identical one by the manufacturer, its service agent or similarly qualified persons in order to avoid a hazard – risk of electrical shock.
If the fitted plug is not suitable for your socket outlet, contact a qualified technician.
Do not pull the power supply cable. Do not immerse the mains cord or plug in water. Keep the cord away from hot surfaces.
CLEANING AND MAINTENANCE
WARNING: Ensure that the appliance is switched off and disconnected from the power supply before performing any maintenance operation – risk of electrical shock. Never use steam cleaning equipment
Do not repair or replace any part of the appliance unless specifically stated in the user manual. Use only authorized Aftersales Service. Self or non-professional repair may lead to dangerous incident resulting in live or health threatening and/ or significant property damage.
7
Product description

- Upper rack
- Cutlery rack
- Foldable flaps
- Upper rack height adjuster
- Upper sprayer arm
- Lower rack
- Lower sprayer arm
- Filter Assembly
- Salt reservoir
- Detergent and Rinse Aid dispensers
- Control pannel
Control panel
![]()
- On-Off/Reset button with indicator light
- Program selection button
- Salt refill indicator light
- Rinse Aid refill indicator light
- Program number and delay time indicator
- Tablet indicator light
- Display
- Flexible Wash indicator light
- Flexible Wash button
- Delay button
- Short Time button with indicator light
- Extra Dry button with indicator light
- START/Pause button with indicator light / Tab
First Use
Advice regarding the first time use
After installation, remove the stoppers from the racks and the retaining elastic elements from the upper rack
Filling the salt reservoir
The use of salt prevents the formation of LIMESCALE on the dishes andon the machine’s functional components.
• It is mandatory that THE SALT RESERVOIR BE NEVER EMPTY.
• It is important to set the water hardness.
The salt reservoir is located in the lower part of the dishwasher (see PRODUCT DESCRIPTION) and should be filled when the SALT REFILL indicator light
in the control panel is lit .

- Remove the lower rack and unscrew the reservoir cap (anticlockwise).
- Only the first time you do this: fill the salt reservoir with water.
- Position the funnel (see figure) and fill the salt reservoir right up to its edge (approximately 1 kg); it is not unusual for a little water to leak out.
- Remove the funnel and wipe any salt residue away from the opening.
8
Make sure the cap is screwed on tightly, so that no detergent can get into the container during the wash program (this could damage the water softener beyond repair).
As soon as this procedure is complete, run a program without loading. The “Pre-Wash” program alone is NOT SUFFICIENT Residual saline solution or grains of salt can lead to corrosion, irreparably damaging the stainless steel components.
The guarantee is not applicable if faults are caused by such circumstances.
Only use salt that has been specifically designed for dishwashers. If the salt container is not filled, the water softener and the heating element may be damaged as a result of limescale accumulation. Using of Salt is recommended with any type of dishwasher detergent. Whenever you need to add salt, it is mandatory to complete the procedure before the beginning of the washing cycle to avoid corrosion.
Setting the water hardness
To allow the water softener to work in a perfect way, it is essential that the water hardness setting is based on the actual water hardness in your house. This information can be obtained from your local water supplier. The factory sets the default water hardness
• Switch on the appliance by pressing the ON/OFF button.
• Switch off the appliance by pressing the ON/OFF button.
• Hold down button
for 5 seconds, until you hear a beep.
• Switch on the appliance by pressing quickly the ON/OFF button.
• The current selection level number and the salt indicator light both flash
• Press button
to select the desired hardness level (see WATER HARDNESS TABLE).
• Switch off the appliance by pressing the ON/OFF button. Setting is complete!
| Water Hardness Table | ||||
| Level | °dH German degrees | °fH French degrees | °Clark English degrees | |
| 1 | Soft | 0 – 6 | 0-10 | 0 – 7 |
| 2 | Medium | 7-11 | 11 -20 | 8-14 |
| 3 | Average | 12 -16 | 21 – 29 | 15 – 20 |
| 4 | Hard | 17 – 34 | 30 – 60 | 21 – 42 |
| 5 | Very hard | 35 – 50 | 61 – 90 | 43 – 62 |
Filling the rinse aid dispenser
Rinse aid makes dish DRYING easier. The rinse aid dispenser A should be filled when the RINSE AID REFILL indicator light
in the control panel is lit.

- Open the dispenser B by pressing and pulling up the tab on the lid.
- Carefully introduce the rinse aid as far as the maximum (110 ml) reference notch of the filling space – avoid spilling it. If this happens, clean the spill immediately with a dry cloth.
- Press the lid down until you hear a click to close it.
NEVER pour the rinse aid directly into the tub.
Adjusting the dosage of rinse aid
If you are not completely satisfied with the drying results, you can adjust the quantity of rinse aid used.
• Switch the dishwasher on using the ON/OFF button.
• Switch it off using the ON/OFF button.
• Press button
three times – a beep will be heard.
• Switch it on using the ON/OFF button.
• The current selection level number and rinse aid indicator light flash.
• Press button
to select the level of rinse aid quantity to be supplied.
• Switch it off using the ON/OFF button.
Setting is complete!
If the rinse aid level is set to ZERO, no rinse aid will be supplied. The LOW RINSE AID indicator light will not be lit if you run out of rinse aid. A maximum of 5 levels can be set according to the dishwasher model. The factory setting is specific to the model, please follow instruction above to check this for your machine.
• If you see bluish streaks on the dishes, set a low number (1-2).
• If there are drops of water or limescale marks on the dishes, set a high number (3-4).
Filling the detergent dispenser
To achieve the best washing and drying results, the combined useof detergent, rinse aid liquid and refined salt is required. We recommend using detergents that do not contain phosphates or chlorine, as these products are harmful to the environment. Good washing results also depend on the correct amount of detergent being used.
Exceeding the stated amount does not result in a more effective wash and increases environmental pollution. The amount can be adjusted to the soil level. In the case of normally soiled items, use approximately either 25g (powder detergent) or 25m1 (liquid detergent) and additional tea spoon of detergent directly inside the tub. If tablets are used, one tablet will be enough.
If the crockery is only lightly soiled or if it has been rinsed with water before being placed in the dishwasher, reduce the amount of detergent used accordingly (minimum 25 g/m1) e.g. skip the powder/gel putted inside the tub.

To open the detergent dispenser press button C. Introduce the detergent into the dry dispenser D only.
Place the amount of detergent for pre-washing directly inside the tub.
- When measuring out the detergent refer to the mentioned earlier information to add the proper quantity. Inside the dispenser D there are indications to help the detergent dosing.
- Remove detergent residues from the edges of the dispenser and close the cover until it clicks.
- Close the lid of the detergent dispenser by pulling it up until the closing device is secured in place.
The detergent dispenser automatically opens up at the right time according to the program. If all-in-one detergents are used, we recommend using the TABLET button, because it adjusts the program so that the best washing and drying results are always achieved.
9
Loading the racks
Tips
Before loading the baskets, remove all food residues from the crockery and empty the glasses. You do not need to rinse beforehand under running water. Arrange the crockery so that it is held in place firmly and does not tip over; and arrange the containers with the openings facing downwards and the concave/convex parts placed obliquely, thus allowing the water to reach every surface and flow freely.
Warning: lids, handles, trays and frying pans do not prevent the sprayer arms from rotating.
Place any small items in the cutlery basket. Very soiled dishes and pans should be placed in the lower basket because in this sector the water sprays are stronger and allow a higher washing performance.
After loading the appliance, make sure that the sprayer arms can cotate freely.
Cutlery rack
The third rack was designed to house the cutlery.
Arrange the cutlery as shown in the figure.
A separate arrangement of the cutlery makes collection easier after washing and improves washing and drying performance.
Knives and other utensils with sharp edges must be positioned with the blades facing downwards.

Upper rack
Load delicate and light dishes: glasses, cups, saucers, low salad bowls.
The upper rack has tip-up supports which can be used in a vertical position when arranging tea/ dessert saucers or in a lower position to load bowls and food containers.
(loading example for the upper rack)

Adjusting the height of the upper rack
The height of the upper rack can be adjusted:
high position to place bulky crockery in the lower basket and low position to make the most of the tip-up supports by creating more space upwards and avoid collision with the items
loaded into lower rack.d avoid collision with the items loaded into lower rack.
The upper rack is equipped with a Upper Rack height adjuster (see figure), without pressing the levers, lift it up by simply holding the rack sides, as soon as the rack is stable in its upper position.
To restore to the lower position, press the levers A at the sides of the rack and move the basket downwards.
We strongly recommend that you do not adjust the height of the rack when it is loaded. NEVER raise or lower the basket on one side only.
Foldable flaps with adjustable position
The side foldable flaps can be fold or unfold to optimize the arrangement of crockery inside the rack.
Wine glasses can be placed safely in the foldable flaps by inserting the stem of each glass into the corresponding slots. Depending on the model:


• to unfold the flaps there is needed to slide it up and rotate or release it from the snaps and pull it down.
• to fold the flaps there is needed to rotate it and slide flaps down or pull it up and attach flaps to the snaps.

Lower rack
For pots, lids, plates, salad bowls, cutlery etc…
Large plates and lids should ideally be placed at the sides to avoid interferences with the spray arm.
The lower rack has tip-up supports which can be used in a vertical position when arranging plates or in a horizontal position (lower) to load pans and salad bowls easily.
(loading example for the lower rack)
Unsuitable crockery
• Wooden crockery and cutlery.
• Delicate decorated glasses, artistic handicraft and antique crockery. Their decorations are not resistant.
• Parts in synthetic material which do not withstand high temperatures.
• Copper and tin crockery.
• Crockery soiled with ash, wax, lubricating grease or ink.
The colours of glass decorations and aluminium/silver pieces can change and fade during the washing process. Some types of glass (e.g. crystal objects) can become opaque after a number of wash cycles too.
Damage to glass and crockery
• Only use glasses and porcelain guaranteed by the manufacturer as dishwasher safe.
• Use a delicate detergent suitable for crockery
• Collect glasses and cutlery from the dishwasher as soon as the wash cycle is over.
Hygiene
To avoid odour and sediment which can be accumulated in the dishwasher please run a high temperature program at least once a month. Use a tea spoon of detergent and run it without the loading to clean your appliance.
Tips on energy saving
• When the household dishwasher is used according to the manufacturer’s instructions, washing tableware in a dishwasher usually consumes less energy and water than hand dishwashing.
• In order to maximize dishwasher efficiency it is recommended to initiate the wash cycle once dishwasher is fully loaded. Loading the household dishwasher up to the capacity indicated by the manufacturer will contribute to energy and water savings. Information on correct loading of tableware can be found in Loading chapter. In case of partial loading it is recommended to use dedicated wash options if available (Flexible wash), filling up only selected racks. Incorrect loading or overloading the dishwasher may increase resources usage (such as water, energy and time, as well as increase noise level), reducing cleaning and drying performance.
• Manual pre-rinsing of tableware items leads to increased water and energy consumption and is not recommended.
10
Daily Use
- Check water connection
Check that the dishwasher is connected to the water supply and that the tap is open. - Switch on the dishwasher
Open the door and press the ON/OFF button. - Load the racks (see LOADING THE RACKS)
- Filling the detergent dispenser
(see PROGRAMS TABLE). - Choose the program and customise the cycle
Select the most appropriate program in accordance with the type of crockery and its soiling level (see PROGRAMS DESCRIPTION) by pressing the button.
Select the desired options (see FUNCTIONS). - Start
Start the wash cycle by pressing START/Pause button (led is lit) and closing the door within 4 sec. When the program starts you hear a single beep. If the door was not closed within 4sec., the alarm sound will be played. In this case, open the door, press START/Pause button and close the door again within 4 sec. - End of wash cycle
The end of the wash cycle is indicated by beeps and by the flashing of the wash cycle number on the display. Open the door and switch off the appliance by pressing the ON/OFF button.
Wait for a few minutes before removing the crockery – to avoid burns. Unload the racks, beginning with the lower one.
The machine will switch off automatically during certain extended periods of inactivity, in order to minimise electricity consumption. If the crockery is only lightly soiled or if it has been rinsed with water before being placed in the dishwasher, reduce the amount of detergent used accordingly.
Modifying a running program
If a wrong program was selected, it is possible to change it, provided that it has only just begun: open the door, press and hold the ON/OFF button, the machine will switch off.
Switch the machine back on using the ON/OFF button and select the new wash cycle and any desired options; Start the wash cycle by pressing START/Pause button and closing the door within 4 sec.
Adding extra crockery
Without switching off the machine, open the door (START/ Pause led starts blinking) (be ware of HOT steam!) and place the crockery inside the dishwasher. Press the START/Pause button and close the door within 4 sec., the cycle will resume from the point at which it was interrupted.
Accidental interruptions
If the door is opened during the wash cycle, or if there is a power cut, the cycle stops. Press the START/Pause button and close the door within 4 sec., the cycle will resume from the point at which it was interrupted.
Functions

FLEXIBLE WASH
If there are not many dishes to be washed, a half loading may be used in order to save water, electricity and detergent.
Select the program and then press the FLEXIBLE WASH button: the symbol of the chosen rack will appear on the display.
By default the appliance washes dishes in all racks. To wash only the specific rack, press this button repeatedly:
shown on the display (only lower rack)
shown on the display (only upper rack)
shown on the display (only cutlery rack)
shown on the display (option is OFF and the appliance will wash dishes in all racks).
Remember to load the upper or lower rack only, and to reduce the amount of detergent accordingly. If upper rack is removed, please apply detergent directly to tub instead of detergent dispenser.

DELAY
The start time of the program may be delayed for a period of time between 1 and 12 hours.
1. Press the DELAY button: the corresponding oh» symbol appears on the display; each time you press the button, the time (1h, 2h, etc. up to max. 12h) from the start of the selected wash cycle will be increased.
2. Select the wash program, press the START/PAUSE button and within 4 seconds close the door: the timer will begin counting down.
3. Once this time has elapsed, the indicator light «h» switches off and the wash cycle begins.
To adjust the delay time and select a shorter period of time, press the DELAY button. To cancel it, press the button repeatedly until the selected delayed start indicator light «h» switches off.
The DELAY function cannot be set once a wash cycle has been started.
SHORT TIME
This option can be used to reduce the duration of the main programs while maintaining the same washing and drying performance levels. After selecting the program, press the SHORT TIME button and the indicator light will switch on. To deselect the option, press the same button again.

EXTRA DRY
To improve the drying of the dishes, after selecting the program, press the EXTRA DRY button and the indicator light comes on. A higher temperature during the final rinse and an extended drying phase allow for improving drying. To deselect the option, press the same button again. The EXTRA DRY option results in the lengthening of the wash cycle.
![]()
TABLET (Tab)
This setting allows you to optimize the performance of the program according to the type of detergent used. Press the START/PAUSE button for 3 seconds (the corresponding symbol will light up) if you use combined detergents in tablet form (rinse aid, salt and detergent in 1 dose).
If you use powder or liquid detergent, this option should be off.

OPERATION INDICATOR
A LED light projected on the floor indicates that the dishwasher is working. One of the following operating modes can be selected:
a) Disabled function.
b) When the cycle starts the light goes on for a few seconds, stays off during the cycle and flashes at the end of the cycle.
c) The light stays on during the cycle and flashes at the end of the cycle (default mode).
If the delayed start was set, the light goes on either for the first few seconds or the entire duration of the countdown, based on whether mode b) or c) was set. The light goes off every time the door is opened.
To select the mode you prefer, switch on the machine, hold down button
until one of the three letters appears on the display, press button
until you reach the desired letter (or mode), hold down button
to confirm the selection.
Note: If NaturalDry is active and it opens the door, then Operation Indicator will not flash at the end of cycle.
NATURALDRY
Door opening system NaturalDry is a convection drying system which automatically opens the door during/after drying phase to ensure exceptional drying performance every day. Door opens at the temperature that is safe to your kitchen furniture. As additional steam protection, special designed protection foil is added together with the dishwasher. To see how to mount protection foil please refer to (INSTALLATION GUIDE). NaturalDry functionality could be disabled by the user as follows:
- Go to the Operation Indicator menu as in last step, press and hold
until menu appears. - Press and hold
again for 6 seconds to reach the NaturalDry menu. - You switched to NaturalDry Control Menu, you could change status of NaturalDry functionality by pressing button:

E – enabled d – disabled
To confirm the change and exit from the Control Menu please press and hold
button (3 sec).
| DOOR OPENING | |
| Eco 50° | after 165 min |
| AUTO 50°- 60° | 80-170 min* |
| Intensive 65° | end of cycle |
| Fast wash 30′ 50° | N/A |
| Fast wash and dry 50° | end of cycle |
| Glass 45° | end of cycle |
| Silent 50° (Night program) | end of cycle |
| Sanitizing 65° | N/A |
| Pre-Wash | N/A |
| Self-Clean 65° | N/A |
* depending on settings
| Program | Drying phase | Natural Dry | Available functions *) | Duration of wash program (h:min)**) | Water consumption (litres/cycle) | Energy consumption (kWh/cycle) |
| 1 Eco ECO 50° |
| 3:40 | 8.7 | 0.59 | ||
| 2 Auto AUTO 50-60° |
| 1:20 – 3:00 | 7.0 -14.0 | 0.70 -1.10 | ||
| 3 Intensive |
| 2:40 | 17.0 | 1.30 | ||
| 4 Fast wash | – | – |
| 0:30 | 9.0 | 0.50 |
| 5 Fast wash and Dry |
| 1:20 | 10.0 | 1.10 | ||
| 6 Glass |
| 1:40 | 12.0 | 1.00 | ||
| 7 Silent |
| 3:35 | 16.5 | 1.00 | ||
| 8 Sanitizing | – | 1:40 | 12.0 | 1.30 | ||
| 9 Pre-Wash | – | – | 0:10 | 4.5 | 0.01 | |
| 10 Self-Clean | – | – | 0:50 | 9.5 | 0.70 |
ECO program data is measured under laboratory conditions according to European Standard EN 60436:2019.
Note for Test Laboratories: For information on comparative EN testing conditions, please send an email to the following address: [email protected]
Pre-treatment of the dishes is not needed before any of the programs.
*) Not all options can be used simultaneously.
**) Values given for programes other than the eco program are indicative only. The actual time may vary depending on many factors such as temperature and pressure of the incoming water, room temperature, amount of detergent, quantity and type of load, load balancing, additional selected options and sensor calibration.
1. ECO – Eco program is suitable to clean normally soiled tableware, that for this use, it is the most efficient program in terms of its combined energy and water consumption, and that it is used to assess compliance with the EU Ecodesign legislation.
2. AUTO – For normally soiled dishes with dried food residues. Senses the level of soiling on the dishes and adjusts the program accordingly. When the sensor is detecting the soil level an animation appears in the display and the cycle duration is updated.
3. INTENSIVE – Program recommended for heavily soiled crockery, especially suitable for pans and saucepans (not to be used for delicate items).
4. FAST WASH 30′ – Program to be used for half load of lightly-soiled dishes with no dried food residues.
5. FAST WASH AND DRY – Normally soiled crockery. Everyday cycle, that ensures optimal cleaning and drying performance in shorter time.
6. GLASS – Program for delicate items, which are more sensitive to high temperatures, for example glasses and cups.
7. SILENT – Suitable for night-time operation of the appliance. Ensures optimal cleaning and drying performance with the lowest noise emission.
8. SANITIZING – Normally or heavily soiled crockery, with additional antibacterial wash. Can be used to perform maintenance of the dishwasher.
9. PRE-WASH – Use to refresh crockery planned to be washed later. No detergent to be used with this program.
10. SELF-CLEAN – Program to be used to perform maintenance of the dishwasher, to be carried out only when the dishwasher is EMPTY using specific detergents designed for dishwasher maintenance
Notes: Please note that cycle FAST WASH is dedicated for lightly soiled dishes.
OPTIONS can be selected directly by pressing the corresponding button (see CONTROL PANEL).
If an option is not compatible with the selected program see PROGRAMS TABLE, the corresponding LED rapidly 3 times and beeps will sound. The option will not be enabled.
12
Cleaning and maintenance
ATTENTION: Always unplug the appliance when cleaning it and when performing maintenance work. Do not use flammable liquids to clean the machine.
Cleaning the dishwasher
Any marks on the inside of the appliance may be removed using a cloth dampened with water and a little vinegar.
The external surfaces of the machine and the control panel can be cleaned using a non-abrasive cloth which has been dampened with water. Do not use solvents or abrasive products.
Preventing unpleasant odours
Always keep the door of the appliance ajar in order to avoid moisture from forming and being trapped inside the machine. Clean the seals around the door and detergent dispensers regularly using a damp sponge. This will avoid food becoming trapped in the seals, which is the main cause behind the formation of unpleasant odours.
Cheking the water supply hose
Check the inlet hose regularly for brittleness and cracks. If damaged, replace it by a new hose available through our After-Sales Service or your specialist dealer. Depending on the hose type:


If the inlet hose has a transparent coating, periodically check if the colour intensifies locall . If yes, the hose may have a leak and should be replaced.
For water stop hoses: check the small safety valve inspection window (see arrow). If it is red, the water stop function was triggered, and the hose must be replaced by a new one. For unscrewing this hose, press the release button while unscrewing the hose.
Cleaning the water inlet hose
If the water hoses are new or have not been used for an extended period of time, let the water run to make sure it is clear and free of impurities before performing the necessary connections. If this precaution is not taken, the water inlet could become blocked and damage the dishwasher.
Cleaning the filter assembly
Regularly clean the filter assembly so that the filters do not close and that the waste water flows away correct.
Using dishwasher with clogged filters or foreign objects inside filtration system or sprayarms may cause unit malfunction resulting in lose of performance, noisy work or higher resources usage.
The filter assembly consists of three filters which remove foo residues from the washing water and then recirculate the water: to obtain the best washing results, you need to keep them clean.
The dishwasher must not be used without filters or if the filter is loose.
At least once per month or after each 30 cycles, check the filter assembly and if necessary clean it thoroughly under running water, using a non-metallic brush and following the instructions below:
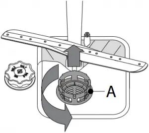
1. Turn the cylindrical filter A in an anti-clockwise direction and pull it out (Fig 1).
2. Remove the cup filter B by exerting a slight pressure on the side flaps (Fig 2).
3. Slide out the stainless-steel plate filter C (Fig 3).
4. In case you find foreign objects (such as broken glass, porc – lain, bones, fruit seeds etc.) please remove them carefully.
5. Inspect the trap and remove any food residues. NEVER REMOVE the wash-cycle pump protection (black detail) (Fig 4).
1 2

3 4

After cleaning the filters, replace the filter assembly and fix it position correctly; this is essential for maintaining the efficient operation of the dishwasher.
Cleaning the spray arms
On occasions, food residue may become encrusted onto the spray arms and block the holes used to spray the water. It is therefore recommended that you check the arms from time to time and clean them with a small non-metallic brush.
To remove the upper spray arm, turn the plastic locking ring in an anti-clockwise direction. The upper spray arm should be replaced so that the side with the greater number of holes is facing upwards.
The lower spray arm may be removed by pulling it upwards.
Water softening system
Water softener automatically reduces water hardness, consequently preventing scale buildup on heater, contributing also to better cleaning efficienc . This system regenerates itself with salt, therefore it is required to refill salt container when empt . Frequency of regeneration depends on water hardness level setting – by default regeneration takes place once per 5 Eco cycles with water hardness level set to 3. Regeneration process starts in final rins and finishes in drying phase, before cycle ends Single regeneration consumes: -3.5L of water; takes up to 5 additional minutes for the cycle; consumes below 0.005kWh of energy.
13
What to do if …

In case your dishwasher doesn’t work properly, check if the problem can be solved by going through the following list. For other errors or issues please contact authorized After-sales Service which contact details can be found in the warranty booklet. The manufacturer ensures the availability of spare parts for at least 10 years after production date of this appliance.
| Problems… | Possible causes… | Solutions… |
| Salt reservoir is empty. (After refill the salt indicator may remain lit for several wash cycles). | Refill reservoir with salt (for more information – see page 8). Adjust water hardness – see table, page 8. | |
| Rinse aid dispenser is empty. (After refill the rinse aid indicator may remain lit for several wash cycles). | Refill dispenser with rinse aid (for more information – see page 8). | |
| The dishwasher won’t start or does not respond to commands. | The appliance has not been plugged in properly. | Insert the plug into the socket. |
| Power outage. | The dishwasher starts automatically when the power returns. | |
| The dishwasher door is not closed | Vigorously push the door until you hear the “click”. | |
| It does not respond to commands. Display shows: 9 or 12 and On/Off LED is blinking rapidly. | Switch off the appliance by pressing the ON/OFF button, switch it back on after approximately one minute and reset the program. If problem persists, unplug the appliance for 1 minute, then plug it back in. | |
| The dishwasher won’t drain. Display shows: 3 and On/Off LED is blinking rapidly | The wash cycle has not finished yet | Wait until the wash cycle finishes |
| The drain hose is bent. | Check that the drain hose is not bent (see INSTALLATION). | |
| The sink drain pipe is blocked. | Clean the sink drain pipe. | |
| The filter is clogged up with food residues. | Clean the filter (see CLEANING THE FILTER ASSEMBLY). | |
| The dishwasher makes excessive noise. | The dishes are rattling against each. | Arrange the crockery correctly (see LOADING THE RACKS). |
| An excessive amount of foam has been produced. | The detergent has not been measured out correctly or it is not suitable for use in dishwashers (see FILLING THE DETERGENT DISPENSER). Reset the current cycle by switching OFF the dishwasher, then switch it on again, select a new program, press START/Pause and close the door within 4 seconds. Please do not add any detergent. | |
| The dishes are not clean. | The crockery has not been arranged properly. | Arrange the crockery correctly (see LOADING THE RACKS). |
| The spray arms cannot rotate freely, being hindered by the dishes. | Arrange the crockery correctly (see LOADING THE RACKS). | |
| The wash cycle is too gentle and/ or detergent efficiency is low. | Select an appropriate wash cycle (see PROGRAMS TABLE). | |
| An excessive amount of foam has been produced. | The detergent has not been measured out correctly or it is not suitable for use in dishwashers (see FILLING THE DETERGENT DISPENSER). | |
| The cap on the rinse aid compartment has not been shut correctly. | Make sure the cap of the rinse aid dispenser is closed. | |
| The filter is soiled or clogged | Clean the filter assembly (see CARE AND MAINTENANCE). | |
| There is no salt. | Fill the salt reservoir (see FILLING THE SALT RESERVOIR). |
14
| PROBLEMS | POSSIBLE CAUSES | SOLUTIONS |
| The dishwasher does not fill the water. Display shows: H 6 and On/Off LED is blinking rapidly | No water in the water supply or the tap is closed. | Make sure there is water in the water supply or the tap running. |
| The inlet hose is bent. | Make sure the inlet hose is not bent (see INSTALLATION) reprogram the dishwasher and reboot. | |
| The sieve in the water inlet hose is clogged; it is necessary to clean it. | After having carried out the verification and cleaning, turn off and turn on the dishwasher and restart a new program. | |
| Dishwasher finishes the cycle prematurely. Display shows: 5 (15) and On/Off LED is blinking rapidly | Drain hose positioned too low or siphoning into home sewage system | Check if end of drain hose is placed at correct height (see INSTALLATION). Check for siphoning into home sewage system, install air admittance valve if necessary. |
| Air in water supply | Check water supply for leaks or other issues letting air inside. | |
| The door doesn’t lock. | Racks are not inserted completely | Verify that racks are inserted completely.. |
| The door lock is not engaged. | Vigorously push the door until you hear the “clack” sound. | |
| Dishes have not been dried. | Selected program has no drying phase. | Verify in the programs table if the selected program has drying phase. |
| Rinse aid has run out or the dosage is not adequate. | Add the rinse aid or adjust the dosage levels higher (see FILLING THE RINSE AID DISPENSER). | |
| Dishes are made of non-stick or plastic. | The presence of drops of water it is normal (see TIPS). | |
| Dishes and glasses show lime scale or a whitish film | Salt level is too low. | Fill the salt reservoir (see FILLING THE SALT RESERVOIR). |
| Adjustment of the water hardness is not adequate. | Increase the values (see WATER HARDNESS TABLE). | |
| Cap of the salt reservoir is not properly closed. | Check the salt reservoir cap. | |
| Rinse aid has run out or the dosage is insufficient | Add the rinse aid or adjust the dosage levels higher. | |
| Dishes and glasses have a bluish tinge or blue streakes | Rinse aid dosage is excessive | Adjust the dosage rates to lower values. |
After-Sales Service
If, after carrying out the above checks, the fault persists, disconnect the mains plug and turn off the water tap. Contact the After-sales Service (see warranty).
Before contacting our After-Sales Service, take note of the following:
– the description of the fault,
– the appliance type and model,
– the service code (the number indicated on the adhesive rating plate) inside the door on the right-hand side:
SERVICE 0000 000 00000
![]()
15
Technical data
| Product dimensions (mm) | Height | mm | 820 |
| Width | mm | 448 | |
| Depth | mm | 555 | |
| Performances | Voltage | V | 220/240 |
| Frequency | Hz | 50 | |
| Energy efficiency class | A+++ | ||
| Water supply pressure, max | Bar | 10 | |
| Water supply pressure, min | Bar | 0,2 | |
| Energy consumption annual | kWh/year | 170 | |
| Water supply, max inlet water temp. | °C | 70 | |
| Number of place settings | 10 | ||
| Power consumption in left-on mode | W | 5 | |
| Power consumption in off-mode | W | 0.5 | |
| Water consumption annual | l/year | 2436 | |
| Noise level | dB(A) re 1 pW | 41 |
Environmental concerns
Disposal of packaging materials
The packaging material is 100% recyclable and is marked with the recycle symbol
. The various parts of the packaging must therefore be disposed of responsibly and in full compliance with local authority regulations governing waste disposal.
Disposal of household appliances
This appliance is manufactured with recyclable or reusable materials. Dispose of it in accordance with local waste disposal regulations. For further information on the treatment, recovery and recycling of household electrical appliances, contact your local authority, the collection service for household waste or the store where you purchased the appliance. This appliance is marked in compliance with European Directive 2012/19/EU, Waste Electrical and Electronic Equipment (WEEE). By ensuring this product is disposed of correctly, you will help prevent negative consequences for the environment and human health.
The
symbol on the product or on the accompanying documentation indicates that it should not be treated as domestic waste but must be taken to an appropriate collection center for the recycling of electrical and electronic equipment.
Energy saving tips
ECO programme is suitable to clean normally soiled tableware, that for this use, it is the most efficient programme in terms of its combined energy and water consumption, and that it is used to assess compliance with the EU Ecodesign legislation.
Loading the household dishwasher up to the capacity indicated by the manufacturer will contribute to energy and water savings. The manual pre-rinsing of tableware items leads to increased water and energy consumption and is not recommended. Washing tableware in a household dishwasher usually consumes less energy and water in the use phase than hand dishwashing when the household dishwasher is used according to the manufacturer’s instructions.
16
Installation
ATTENTION: If the appliance must be moved at any time, keep it in an upright position; if absolutely necessary, it may be tilted onto its back.
Connecting the water supply
Adaptation of the water supply for installation should only be performed by a qualified technician.
The water inlet and outlet hoses may be positioned towards the right or the left in order to achieve the best possible installation. Make sure the dishwasher does not bend or squash the hoses.
Connecting the water inlet hose
• Run the water until it is perfectly clear.
• Screw the inlet hose tightly into position and turn on the tap.
If the inlet hose is not long enough, contact a specialist store or an authorised technician.
The water pressure must be within the values indicated in the Technical Data table – otherwise the dishwasher may be function properly.
Make sure the hose is not bent or compressed.
Specifications for the connection of the water
| Water supply | cold or hot (max. 60°C) |
| Water intake | 3/4″ |
| Power of water Pressure | 0.05 ÷ 1 MPa (0.5 ÷10 bar) 7.25 -145 psi |
Supply hose:
Connecting the water outlet hose
Connect the outlet hose to a drain duct with a minimum diameter of 2 cm A.

The outlet hose connection must be at a height ranging from 40 to 80 cm from the floor or surface where the dishwasher rests Before connecting the water outlet hose to the sink drain, remove the plastic plug B.
Anti-flooding protection
Anti-flooding protection. To ensure floods do not occu, the dishwasher is provided with a special system which blocks the water supply in the event of anomalies or leaks from inside the appliance.
Some models are also equipped with the supplementary safety device New Aqua Stop, which guarantees anti-flooding protectio even in the event of a supply hose rupture.
Under no circumstances should the water inlet hose be cut as it contains live electrical parts.
Electrical connection
WARNING: Under no circumstances should the water inlet hose be cut as it contains live electrical parts.
Before inserting the plug into the electrical socket, make sure that:
• The socket is earth and complies with current regulations;
• The socket can
withstand the maximum load of the appliance as shown on the data plate located on the inside of the door (see PRODUCT DESCRIPTION).
• The power supply voltage falls within the values indicated on the data plate on the inside of the door.
• The socket is compatible with the plug of the appliance.
If this is not the case, ask an authorised technician to replace the plug (see AFTER-SALES SERVICE). Do not use extension cables or multiple sockets. Once the appliance has been installed, the power supply cable and the electrical socket should be easily accessible.
The cable should not be bent or compressed.
If the power supply cable is damaged, have it replaced by the manufacturer or its authorised Technical Assistance Service in order to prevent all potential hazards.
The Company shall not be held responsible for any incidents, if these regulations are not observed.
Positioning and levelling
- Position the dishwasher on a level sturdy floor . If the floor i uneven, the front feet of the appliance may be adjusted until it reaches a horizontal position. If the appliance is levelled correctly, it will be more stable and much less likely to move or cause vibrations and noise while it is operating.
- Before recessing the dishwasher, stick the adhesive transparent strip under the wooden shelf in order to protect it from any condensation which may form.
- Place the dishwasher so that its sides or back panel are in contact with the adjacent cabinets or the wall. This appliance can also be recessed under a single worktop.
- To adjust the height of the rear foot, turn the red hexagonal bushing on the lower central part at the front of the dishwasher using a hexagonal spanner with an opening of 8 mm. Turn the spanner in a clockwise direction to increase the height and in an anticlockwise direction to decrease it.
Dimensions and capacity:
| Width | 448 mm |
| Height | 820 mm |
| Depth | 555 mm |
| Capacity | 10 standard place-settings |
17
IKEA GUARANTEE
How long is the IKEA guarantee valid?
This guarantee is valid for five years from the original date of purchase of your appliance at IKEA. The original sales receipt, is required as proof of purchase. If service work is carried out under guarantee, this will not extend the guarantee period for the appliance.
Who will execute the service?
IKEA service provider will provide the service through its own service operations or authorized service partner network.
What does this guarantee cover?
The guarantee covers faults of the appliance, which have been caused by faulty construction or material faults from the date of purchase from IKEA. This guarantee applies to domestic use only. The exceptions are specified under the headline “What is not covered under this guarantee?” Within the guarantee period, the costs to remedy the fault e.g. repairs, parts, labour and travel will be covered, provided that the appliance is accessible for repair without special expenditure. On these conditions the EU guidelines (Nr. 99/44/EG) and the respective local regulations are applicable. Replaced parts become the property of IKEA.
What will IKEA do to correct the problem?
IKEA appointed Service Provider will examine the product and decide, at its sole discretion, if it is covered under this guarantee. If considered covered, IKEA Service Provider or its authorized service partner through its own service operations, will then, at its sole discretion, either repair the defective product or replace it with the same or a comparable product.
What is not covered under this guarantee?
- Normal wear and tear.
- Deliberate or negligent damage, damage caused by failure to observe operating instructions, incorrect installation or by connection to the wrong voltage, damage caused by chemical or electrochemical reaction, rust, corrosion or water damage including but not limited to damage caused by excessive lime in the water supply, damage caused by abnormal environmental conditions.
- Consumable parts including batteries and lamps.
- Non-functional and decorative parts which do not affect normal use of the appliance, including any scratches and possible color differences.
- Accidental damage caused by foreign objects or substances and cleaning or unblocking of filters, drainage systems or soap drawers.
- Damage to the following parts: ceramic glass, accessories, crockery and cutlery baskets, feed and drainage pipes, seals, lamps and lamp covers, screens, knobs, casings and parts of casings. Unless such damages can be proved to have been caused by production faults.
- Cases where no fault could be found during a technician’s visit.
- Repairs not carried out by our appointed service providers and/or an authorized service contractual partner or where non-original parts have been used.
- Repairs caused by installation which is faulty or not according to specification.
- The use of the appliance in a non-domestic environment i.e. professional use.
- Transportation damages. If a customer transports the product to his home or another address, IKEA is not liable for any damage that may occur during transport. However, if IKEA delivers the product to the customer’s delivery address, then damage to the product that occurs during this delivery will be covered by IKEA.
- Cost for carrying out the initial installation of the IKEA appliance.
- However, if an IKEA appointed Service Provider or its authorized service partner repairs or replaces the appliance under the terms of this guarantee, the appointed Service Provider or its authorized service partner will reinstall the repaired appliance or install the replacement, if necessary.
- This does not apply within Ireland, customer should contact the local IKEA dedicated after sales line or the appointed Service Provider for further information. (just for GB)
These restrictions do not apply to fault-free work carried out by a qualified specialist using our original parts in order to adapt the appliance to the technical safety specifications of another EU country.
How country law applies
The IKEA guarantee gives you specific legal rights, which cover or exceed all the local legal demands. However these conditions do not limit in any way consumer rights described in the local legislation.
Area of validity
For appliances which are purchased in one EU country and taken to another EU country, the services will be provided in the framework of the guarantee conditions normal in the new country. An obligation to carry out services in the framework of the guarantee exists only if the appliance complies and is installed in accordance with:
– the technical specifications of the country in which the guarantee claim is made;
– the Assembly Instructions and User Manual Safety Information.
The dedicated AFTER SALES for IKEA appliances
Please don’t hesitate to contact IKEA appointed Authorized Service Centre to:
• make a service request under this guarantee;
• ask for clarifications on installation of the IKEA appliance in the dedicated IKEA kitchen furniture;
• ask for clarification on functions of IKEA appliances.
To ensure that we provide you with the best assistance, please read carefully the Assembly Instructions and/or the User Manual before contacting us.
How to reach us if you need our service

Please refer to the last page of this manual for the full list of IKEA appointed Authorized Service Centre and relative national phone numbers.
In order to provide you a quicker service, we recommend to use the specific phone numbers listed on this manual. Always refer to the numbers listed in the booklet of the specific appliance you need an assistance for. Please also always refer to the IKEA article number (8 digit code) and 12 digit service number placed on the rating plate of your appliance.
SAVE THE SALES RECEIPT!
It is your proof of purchase and required for the guarantee to apply. The sales receipt also reports the IKEA name and article number (8 digit code) for each of the appliances you have purchased.
Do you need extra help?
For any additional questions not related to After Sales of your appliances please contact your nearest IKEA store call centre. We recommend you read the appliance documentation carefully before contacting us.
UNITED KINGDOM – IRELAND
Phone number: 02076601517
Rate: Local rate
Opening hours:
Monday – Friday 8.00am – 6.00pm
Saturday 8.30am – 4.30pm
Sunday 9.30am – 3.30pm
400011419041

© Inter IKEA Systems B.V. 2019 23256 AA-2192039-1


















