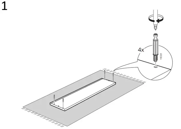
KOMPLEMENT












© Inter IKEA Systems B.V. 2013
AA-938616-8
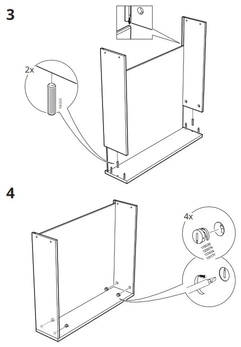
KOMPLEMENT












© Inter IKEA Systems B.V. 2013
AA-938616-8
Download manual
Here you can download full pdf version of manual, it may contain additional safety instructions, warranty information, FCC rules, etc.