
FELIKS

IMPORTANT
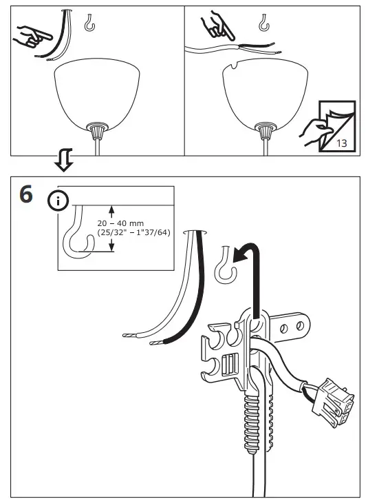
Always shut off power to the circuit before starting installation work. In some countries, electrical installation work may only be carried out by an authorized electrical contractor. Contact your local electricity authority for advice.














© Inter IKEA Systems B.V. 2020
AA-2257460-2



















