GOTRAX GMAX Kids Electric Scooter

Product Information
- Brand: GOTRAX
- Speed: 20 mph
- Range: 42 miles
- Weight Capacity: 220lbs
- Battery: 36V 15.6Ah DC
- Charger: 42V 3.0A
- Charging Time: About 6 hours
- Input Voltage: AC 100-240V~50/60Hz 3.0A
- Anti-Theft Device: Built-in steel cable with numerical code lock
Product Usage Instructions
Congratulations on your purchase of the G MAX Kids Electric Scooter! Please read ALL OF THE INFORMATION in this manual before riding.
Important Reminders Before Riding:
- Get parental permission before riding if you are under 18 years of age.
- Always wear a helmet when riding your Electric Scooter.
- Make sure your scooter has a full battery before taking it out to ride.
- Always be aware of local road laws and follow them.
- Do not ride the scooter under the influence of drugs or alcohol.
- Always respect pedestrians.
- Do not ride under wet conditions. Wet conditions may damage the electronics and void the warranty.
Using the Anti-Theft Device
The G MAX Kids Electric Scooter comes with a built-in anti-theft device in the form of a steel cable that can be locked with a numerical code. Here are the steps to use it:
- Unlock the anti-theft device with default code 0000.
- Slide the reset button to the right (SET mode).
- Set a new code by turning the dials (take a photo of the new code).
- Slide the reset button to the left.
- To attach the scooter to a fixed support, enter the safety code, pull out the anti-theft cable, insert the cable head into the lock hole, and turn the dials to lock the anti-theft device.
- To remove the scooter from a fixed support, enter the safety code, press the unlock button, pull the cable head out of the lock, and pull the cable back to the stem tube.
- After using, push up on the cable of the anti-theft device into the stem tube and secure the cable head in the storage bracket to prevent it from hanging down and getting caught in the wheel.
Congratulations on your purchase!
This user manual will help you assemble and operate your new Electric Scooter. Be sure to read ALL OF THE INFOR- MATION in this manual before riding. NOTE TO ALL RIDERS UNDER 18 YEARS OF AGE: If’s veryimportant that you get parental permission before riding your electric scooter.
Don’t ride until you read this
- Always wear a helmet when riding your Electric Scooter.
- Make sure your scooter has a full battery before taking it out to ride.
- Always be aware of local road laws, and follow them.
- Do not ride the scooter under the influence of drugs or alcohol. Always respect pedestrians.
- Do not ride under wet conditions. The scooter may slide from under your feet causing injury. Wet conditions may damage the electronics and void the warranty
Warning Message
- Avoid water – The scooter is not waterproot. The electronics may be damaged due to water and water damage is not covered by our warranty. Riding in wet conditions is also very dangerous and may result in injury.
- Abuse We do not cover physical damage due to negligent care and extreme riding.
- Whenever you ride the GOIRAX scooter, you risk severe injury or even death from loss of control, collisions, and falls. Use caution and ride at your own risk.
- Do not modify the product from the manufacturer’s original design.
- Keep hands and all body parts away from moving parts while operating the Scooter.
- Before riding be sure to check the scooter over and make sure the scooter is operating correctly before each use.
- Before riding- be sure to check that the braking system is functioning properly; also be sure to check that all satety labels are in place and you understand the satety warnings.
- Before riding- be sure that any and all axle guards, chain guards, or other covers or guards supplied by the manutacturer are in place and in serviceable condition.
- Before riding- be sure to check that the tires are in good condition, intated properly, and have sutticient fread remaining.
- Never exceed the 220 Ib (100 kg) maximum load rating.
- The electric scooter should never be used by children under the age of 13.
- Maximum Speed – Your electric scooter goes the maximum speed of 20 mph.
Unpack
You should find each of these items in your box:
- Electric Scooter
- 4 Screws
- 4 mm Allen Wrench
- Approved Power Adapter/Charging Unit
- Tire pump extender
Remove all packaging material, then inspect each item for any accidental damage that may have occurred during shipping.
Get To Know Your Scooter

Specifications
- Top Speed: 20 mph
- Distance per Charge: 42Miles
- Weight Range Up To: 220lbs
- Battery Type: 36V 15.6Ah
- Battery Charger: DC 42V 3.0A
- Charge Time: About 6 hours
- Power Requirements: AC 100-240V-50/60Hz 3.0A
Assemble Your Scooter

- Straighten the tiller and lift the tiller upright (as shown in the figure).
- Press the folding lever as the figure shows to lock the tiller.
- Insert the exposed cable into tiller and then insert the console into the tiller. Use the tool and screws to lock the console into place (as shown in the figure).
Charge Your Scooter
- Open the rubber charging port cover.
- Insert the charging plug into t the port
- The charger box will have a green light when fully charged and a red light when charging.
- When you are done charging be sure cover the charging port to keep it clear of dust and debris.
- Charging Time: About 6 hours
Charging Requirement: Make sure to charge your scooter in conditions that do not exceed 104 degrees Fahrenheit or below 32 degrees Fahrenheit.
Scooter Console Functions
- Long press the power button to power on and oft.
- Hold + button for 3 seconds to power the headlight on/off. The taillight is a braking light, too. When you hold the hand brake while the scooter is on, the tailight will flash.
- To unlock the display lock the default password is 000. Press the “*” buton to input O and press the power button to confirm. Repeat the whole process to input 000. And then press the power button twice to unlock.
- To set your code, press the “” button and the “Power button” together for 10 seconds. Then use the “*” button to input the first number of your code and then press the power button to set. Repeat the process to set your code. After the screen shows the 3-number code, press the power button twice to unlock.(Note: Please shoot a photo after you set your code.)
- Switch Gear: The default gear is gear 1. When the scooter is power on, the screen display L1. The max speed of Gear l is 15.5 MPH. Pressing the “+” button to switch to the gear 2. The max speed of Gear 2 is 20 MPH.
- Press the throttle for 8 seconds to activate Cruise Control while riding. You can deactivate the cruise control features by holding the hand brake.
- Hold- button while walking push the scooter to activate the push assist mode. When this function is activated, the scooter will move at 3 KM/H to make it easier to push forward.
- Cancel the display lock, and long press the”+ button and the “Power button” together for 10 seconds. When you heard a alarm sound, it means success.
- Switch the default speed unit: The default speed unit displayed by the Console is MPH. Press the ” and “- ” buttons at the same time for 10 seconds to switch the speed unit to Km/h.
- Clear the total mileage: When the scooter is powwered on, press the Power button and ” “-” buttons at the same time for 10 seconds, the accumulated mileage displayed on the console will be cleared to 0.
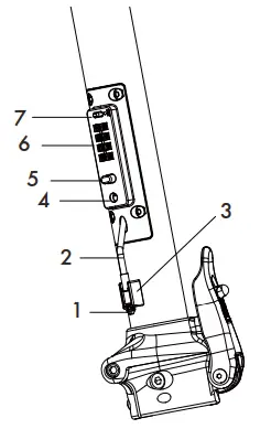
Using the anti-theft device
At the bottom of the stem is a builtin anti-theft device in the form of a steel cable that can be locked with a numerical code.
- Locking head
- Anti-theft cable
- Anti-theft cable storage space
- Lock
- Locking button
- Dials
- Code reset button
How to unlock the anti-theft combination lock.
- Unlock the anti-theft device with default code 0000.
- Slide the reset button to the right (SET mode)
- Set a new code by turning the dials(Please shoot a photo)
- Slide the reset button to the left
To attoch the scooter to a fixed support:
- Enter the safety code
- Pull out the antitheft cable
- Insert the cable head into the lock hole
- Turn the dials to lock the anti-thet device
After using, please push up on the cable of the antitheft device into the stem tube and secure the cable head in the storage bracket to prevent it from hanging down and geting caught in the wheel.
Riding Tips
- You will want to start riding your scooter with one toot on the plattorm and one toot on the ground. Use your foof on the ground to push ott and at the same fime, press the throttle button to begin movement.
- Press the brake handbrake to slow down or stop.
- The scooters perform best when on a smooth surface e.g. carparks, smooth roads, footpaths, & bike lanes.
- Always clean your scooter (wheels, platform, etc.), it’s a machine and it needs to be maintained.
- Do not press the throtle while walking with the scooter beside you.
- Be aware of the terrain you are riding on, watch out for curbs and obstacles!
Putting Your Scooter Away/Folding
Betore folding the scooter, make sure that the scooter is powered oft.
- Folding: Ensure the electric scooter is powered off, press the lock buckle as the figure shows and pull down the lever. Fold the tiller down towards the rear fender and lock the tiller hook to the fender hook buckle.
- Unfolding: Disconnect the tiller hook from the fender hook. Once unhooked pull the iller upwards and lock the locking device on the bottom of the tiller by pulling the clamp towards the tiller. Make sure to test the tiller before riding to make sure it is locked into place.

Maintenance & Repair
If you regularly clean and maintain your electric scooter, it will extend its life.
- Cleaning and storage: IF the scooter is dirty, wipe it clean with a soft damp cloth.
- Disc Brake Adjustments: If the brake is too tight, use a 4mm Allen wrench to loosen the screws counterclockwise. Push the brake wire to shorten and lock the screw in place. If the brake is too loose, loosen the screws and pull the brake wire to extend the wire and lock the screws.
- Tiller Adjustments: lf the tiller wiggles while riding, please check the folding mechanism. Use an Allen wrench to tighten the screws as the figure shows. Tires: If you notice that the tire pressure is low, please fll to the recommended PSI on the side of the tire. Recommended PSl: 50
- DO NOT use alcohol, gasoline, kerosene, or other corrosive chemical solvents to clean the scooter. It can severely damage the appearance and structure of the scooter. Please do not use a pressure washer as it may also cause damage to the electronics.
- Storage: When you’re not using your scooter store in a dry and cool location. Avoid storing your scooter outdoors because sun exposure can damage it’s appearance and may cause wear on the life of the battery and tires.
Battery Information
- Only use the approved GOTRAX power adapter to charge your scooter, others may cause risk of fire & equipment may be damaged.
- Improper disposal of used batteries may seriously pollute the environment. Please comply with local disposal regulations.
- Make sure to store your scooter and power adapter in conditions that do not exceed 122 degrees Fahrenheit or below -4 degrees.
- Warning- Risk of Fire – No User Serviceable Parts, The prolonged exposure to UV Rays, Rain and the Elements may damage the enclosed materials, store indoors when not in use.
Troubleshooting
We frequently update our user manuals at Www.GoTRAX.COM, and reserve the rights to update and change manuals online.
Please contact our customer service team if you are experiencing problems or need more detailed information. They can be reached at WWW.GOTRAX.cOM
Warranty
For warranty information, please visit www.GoTRAX.COM



















