ubiolabs IDL100 Illumia LED Desk Lamp
Desk Lamp with Wireless Charging
Technical Specifications
- Component: UTL1006
- Input: 9V⎓, 2.5A
- Output (Wireless): Qi (10W / 7.5W / 5W)
- Output (USB-A): 5V⎓, 2A, 10W
- White Light: 8W 0-650 lumens Max, 2800-6500 Kelvin RGB Light: 1W, 6 color selections
- Dimensions: 366 x 160 x 332 mm (14.4 x 6.3 x 13.1 in.) Weight: 800 g (1.8 lb.)
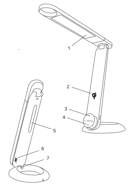
Features
- LED Array
- Wireless Charging Surface
- LED Charge Indicator
- Control Center
- Rear LED Array
- USB-A Output
- Wall Adapter Input
Your wireless charging lamp is designed to provide optimal charging for your wireless device:
- 10W Qi certified fast charging for Samsung Galaxy S6 and later, Samsung Note5 and later, Motorola, LG
- 7.5W wireless charging for iPhone 8 and later
- Compatible with Google Pixel 3/3XL, and other compatible devices.
Wall Adapter
Technical Specifications:
Model: AS024-0902500U
Input: AC 110-240V, 50/60 Hz
Output: 22.5W, 9V⎓2.5A
Dimensions: 71 x 44 x 52 mm (2.8 x 1.7 x 2.0 in)
Weight: 130 g (4.6 oz)
IMPORTANT, RETAIN FOR FUTURE REFERENCE: READ CAREFULLY | SAVE THESE INSTRUCTIONS


Important Safety Instructions
This device complies with Part 15 of the FCC Rules. Operation is subject to the following two conditions: (1) this device may not cause harmful interference, and (2) this device must accept any interference received, including interference that may cause undesired operation.
Caution: The user is cautioned that changes or modifications not expressly approved by the party responsible for compliance could void the user’s authority to operate the equipment.
Note: This equipment has been tested and found to comply with the limits for a Class B digital device, pursuant to part 15 of the FCC Rules. These limits are designed to provide reasonable protection against harmful interference in a residential installation. This equipment generates, uses, and can radiate radio frequency energy and, if not installed and used in accordance with the instructions, may cause harmful interference to radio communications. However, there is no guarantee that interference will not occur in a particular installation. If this equipment does cause harmful interference to radio or television reception, which can be determined by turning the equipment o˘ and on, the user is encouraged to try to correct the interference by one or more of the following measures:
- Reorient or relocate the receiving antenna.
- Increase the separation between the equipment and receiver.
- Connect the equipment into an outlet on a circuit di˘erent from that to which the receiver is connected.
- Consult the dealer or an experienced radio/TV technician for help.
WARNING – When using this product, basic precautions should always be followed, including the following:
- Read all the instructions before using the product.
- To reduce the risk of injury, close supervision is necessary when the product is used near children.
- Do not put fingers or hands into the product.
- Do not expose device to rain or snow.
- Use of a power supply or charger not recommended or sold by power pack manufacturer may result in a risk of fire or injury to persons.
- Do not use the device in excess of its output rating. Overload outputs above rating may result in a
- Do not use the device that is damaged or modified. Damaged or modified batteries may exhibit unpredictable behavior resulting in fire, explosion or risk of injury.
- Do not disassemble the device. Take it to a qualified service person when service or repair is required. Incorrect reassembly may result in a risk of fire or injury to persons.
- Do not expose a power pack to fire or excessive temperature. Exposure to fire or temperature above 100°C may cause explosion. The temperature of 100°C can be replaced by the temperature of 212°F.
- Have servicing performed by a qualified repair person using only identical replacement parts. This will ensure that the safety of the product is maintained.
- Switch off the device when not in use.
Thank you for your purchase!
Warranty
At Ubio Labs, we are dedicated to designing and manufacturing products with superior performance and 100% customer satisfaction. All of our products come with a 1-year limited warranty from date of purchase.
We are always improving our products’ features and functionality. We reserve the right to change product specifications at any time without notice.
DO NOT RETURN TO THE STORE
Our customer service team is here to help.
www.ubiolabs.com | [email protected]
1-866-642-4428 (Monday – Friday 9am – 4:30pm PST)
Ubio Labs, Inc. | 2821 Northup Way, Suite 250 Bellevue, WA 98004
FCC COMPLIANCE STATEMENT:
This device complies with part 15 of the FCC Rules. Operation is subject to the following
two conditions: (1) This device may not cause harmful interference, and (2) this device must accept any interference received, including interference that may cause undesired operation. Changes or modifications not expressly approved by the party responsible for compliance could void the user’s authority to operate the equipment.
IC WARNING
This device contains licence-exempt transmitter(s)/receiver(s) that comply with Innovation, Science and Economic Development Canada’s licence-exempt RSS(s). Operation is subject
to the following two conditions:
(1) This device may not cause interference.
(2) This device must accept any interference, including interference that may cause undesired operation of the device
ubiolabs IDL100 Illumia LED Desk Lamp




















