Foshan Nengqu Electronic Technology F1022 Ceiling Fan Remote Control
FCC
Warning: Changes or modifications to this unit not expressly approved by the party responsible for compliance could void the user’s authority to operate the equipment.
This device complies with Part 15 of the FCC Rules. Operation is subject to the following two conditions:
- this device may not cause harmful interference, and
- this device must accept any interference received, including interference that may cause undesired operation.
Note: This equipment has been tested and found to comply with the limits for a Class B digital device, pursuant to part 15 of the FCC Rules. These limits are designed to provide reasonable protection against harmful interference in a residential installation. This equipment generates, uses and can radiate radio frequency energy and, if not installed and used in accordance with the instructions, may cause harmful interference to radio communications. However, there is no guarantee that interference will not occur in a particular installation. If this equipment does cause harmful interference to radio or television reception, which can be determined by turning the equipment off and on, the user is encouraged to try to correct the interference by one or more of the following measures:
- Reorient or relocate the receiving antenna.
- Increase the separation between the equipment and receiver.
- Connect the equipment into an outlet on a circuit different from that to which the receiver is connected.
- Consult the dealer or an experienced radio/TV technician for help.
WIRING SCHEMATIC DIAGRAM FOR RECEIVER

Manufacturer: Foshan NengQU electronic technology Co.Ltd;
POWER PARAMETERS TABLE
- Voltage Fan Lamp
- 110V-140V s40W24W
- Adopt RF wireless digit emission technique, biunique controlled, the coincident code rate is less than one-millionth.(Emitter and receiver must be sent back to the factory for maintenance damage.
- The receiver can be controlled by any angles of the emitter in prescriptive space, unrestricted by direction With the memory function, the controller can save the status( light and direction)while the supply power is OFF and resumes to the original after reloading the power supply
Installation Diagram of Receiver

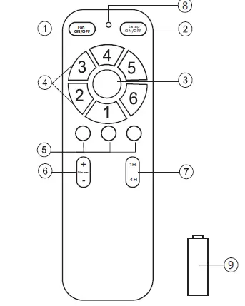
FUNCTION INSTRUCTION OF EMITTER

- Turn-ON/OFF the Fan.
- Turn-ON/OFF the Light or Matching code.
- Short press to Activate the Natural wind MODE. Long press 3 seconds for switch the Fan to for-ward or reverse.
- Turn ON the Fan and choose Fan’s speed Change the Light’s color temperature. (When the Light is on.)
- Turn UP/DOWN the Light’s brightness. (When the Light is on.)
- Short press to activate the 1H/4H timer of the Fan.
- Long press 1H/4H to cancel the timer.
- Indicator for the remote control
- BATTERY:1.5V x 2 AAALR03.
KINDLY REMINDERS:
- Press and hold the transmitter’s Pair code “Lamp ONOFF” while the receiver is powering on within 5 seconds. After hearing “DIDI” for three long rings, the leaming code pairing is successful and can work normally. lf not, please turn off the power and restart the above operation. (Note: Do not accept learning code pairing after power for more than 5 seconds.)
- When the emitter cannot control the receiver, please check whether the battery Switch touching normally or not, correction of the positive and negative, full or empty of the power.
- The low voltage of the battery will affect the sensitivity of the emitter and the signal reception accordingly (the indicated light will flash out its waning when the battery gets low voltage), must replace if the battery is getting low voltage.
- Please take out the battery from the emitter when left unused for a long time.
- When installing the fan, the fan ceiling cover doesn’t press the antenna(or other wire),.it is easy to break down the wire and short-circuited.
- Supporting 24W lighting power at maximum.
PS: please connect the ground correctly, otherwise it may cause the light micro-light or flash.





















