WALKSNAIL Avatar Digital HD FPV Goggles
![]()
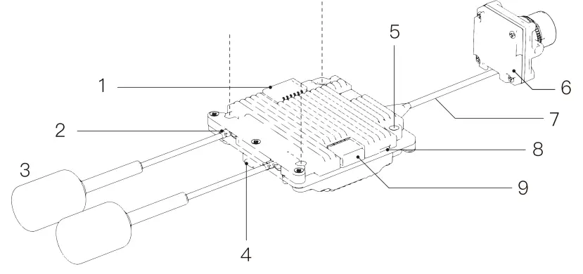
Introduction
![]()
- 6Pin Port
- IPEX Antenna Ports
- Antenna
- Link Button
- 25.5×25.5mm(m2 hole)
- Camera
- Coaxial Cable
- LED Indicator
- USS Port
![]()
Please install the antenna and coaxial cable before power on
Connection
![]()
*When using a 6s battery, please be sure to weld a capacitor at the power input end, it is recommended to use a capacitor with a specification above 50V / 47uF.
Linking
- Connect the air unit and the power of the goggles.
- Wait for the air uiit to initialize and the green light flashes, and the status icon appears on the goggles.
- Press the link button of the air unit and goggles respectively {as shown in the picture), when the air unit enters the pairing state The indicator light turns red, and the goggles end is a di… di. .. di …
- After the pairing is successful, the indicator light on the air unit turns solid green, the beeping sollld on the goggles stops and the screen is displayed.
upgrade
Please go to the official website to download the upgrade firmware, Avatar_ Sky_X.X.X.img is the air LJ11it file, Avatar_Gnd_X.X.X.img is the goggles flle, copy it to the air unit or SD card, be careful not to change the file name. You need to tum on the power to use the U disk function.
- Copy the upgrade file to the root directory of the air unit and the goggles,connect to the power supply and wait for the device to initialize{delete the old firmware file first if there in one)
- Press the pairing button of the air unit and the goggle respectively for 8 seconds. When the air unit enters the upgrade status, the indicator turns on. It flashes red, and the goggles is beeping ….. di. …. di. …. prompt sound (the upgrade time is long, please pay attention to the ambient temperature. do not cut off the power in the middle)
- After the upgrade is successful, the indicator light of the air unit turns green and flashes, and the beeping sou,d stops after the goggles beeps for 5 seconds. After the upgrade is complete, please re-sync.
UART
The UART function enables the air unit commu,icate with the flight controller, allowing the air unit obtain the flight controller information. Take Betaflight Conflgurator as an example to introduce the UART setting method.
- Solder the white and gray wires of the 6 pin cable to the flight controller (refer to the Connection page)

- Connect the flight controller to the Beta-flight Conflgurator, and open the co1Tesponding UART port (UART1 in the following figure is an example) Check the MSP switch and click Save.

- Open the CU command line and enter the content in red font
- “set osd_displayport_device = MSP”
- “set displayport_msp_serial = Y” (Where Y is one less than the number of the serial port. e.g. Y = 2 for serial 3)
- “save”
Status indication
| Goggles Buzzer Status | |
| In palrlng state | dl….dl….dl… |
| upgrade firmware | dL …dl……dl…………….. dl |
| Upgrade falled | dLdLdL |
| VTX Indicator Status | |
| In palrlng state | Steady red llght |
| upgrade firmware | Red llght rapldly flashes |
| Wlreless connectlon, Image output ls normal | Steady green llght |
| Wlreless not connected | green llght rapidly flashes |
| Wlreless connectlon ls normal, but the Image ls abnormal | green llght slowly flashes |
Operating channel
![]()
Make sure you fully understand and abide by local laws and regulations before using this product. An amateur radio license may be needed in FCC regions when using channels 1,2,6or 7, as they are amateur frequency bands. Users who use the amateur frequency bands with a modified or cracked version or without a license may be punished for breaking local laws or regulations.
VTX Specification
- Model: Avatar module
- Dimensions: 33 x 33 x 9.5 mm
- Hole spacing: 25.5 x 25.5 mm (m2fL)
- Weight: 16 g
- Operating Frequency: 5. 660-5. 839 GHz
- Transmitter Power:(EIRP) FCC/SRRC/MIC: <30 dBm; CE: <14dBm
- Low Latency Mode: (720p 22ms); High Quality Mode (1080p 38ms) Min. Latencylend-to-end)
- Max. Transmission Distance: UaTy TVIOG FCC/SRRC/MIC: <4 km; CE: 0.7 km
- Video Format: MP4 (Video format: H.264)
- I/O Intertace: 6pin, 4pin, IPEX
- Operating Temperature Range:-10C–40C
- Input Power: 6-25.2 V (12V@700mAh+100mAh)
Camera parameters
- Model: Avatar Nano Camera
- Dimensions: 17x 14 x 14 mm
- Weight: 2.9 g
- Image Ratio: 16:9
- Sensor: 1/2.9 CMOS
Aperture: F/2.0
iso: 100-25600 - FOV: 180°(D);160′(H);90°(V)
- Model: Avatar Camera
- Dimensions: 21.8 x 19 x 19 mm
- Weight: 6.9 9
- Image Ratio: 16:9
- Sensor: 1/2.9CMOS
Aperture: F/2.1
iso: 100-25600 - FOV: 180 (D);160 (H);90(V)
Antenna parameters
- Model: Polar antenna
- Dimensions: 105 x 11.2 mm
- Weight: 1.5 g
- bandwidth: 5650-5950MHz
- Polarization: LHCP
- Average gain: 2dbi
- VSWR: <1.4
- Efficiency: 98%
- Connector: U.FL
WALKSNAIL Support email: [email protected] This content is subject to change.Download the latest version from https://www.walksnail.com



















