beurer HK 58 Heat Pad

Explanation of symbols
The following symbols are used on the device, in these instructions for use, on the packaging and on the type plate for the device:
- Read the instructions!
- Do not insert pins!
- Do not use folded or rucked!
- Not to be used by very young children (0 3 years).
- Dispose of packaging in an environmentally friendly manner
- This product satisfies the requirements of the applicable European and national directives.
- The device has dou ble protective insulation and therefore complies with protection class 2.
- Wash at a maximum tem perature of 30 °C, Very gentle wash
- Do not bleach
- Do not dry in a tumble dryer
- Do not iron
- Do not dryclean
- Manufacturer
- The products demonstra bly meet the requirements of the technical Regula tions of the EAEU.
- Please dispose of the device in accordance with EC Directive – WEEE (Waste Electrical and Electronic Equipment).
- The KEMAKEUR symbol documents the safety and com pliance with standards of an electrical product.
- United Kingdom Conformity Assessed Mark
- The textiles used for this device meet the stringent human ecological requirements of Oeko Tex Standard 100, as verified by Hohenstein Research Institute.
- WARNING: Warning of risks of injury or health hazards
- CAUTION: Safety information about possible damage to appliances/accessories.
- NOTE: Important information.
Items included in the package
Check that the exterior of the cardboard delivery packaging is intact and make sure that all contents are present. Before use, ensure that there is no visible damage to the device or accessories and that all packaging material has been removed. If you have any doubts, do not use the device and contact your retailer or the specified Customer Service address.
- 1 Heat pad
- 1 Cover
- 1 Control
- 1 Instructions for use
Description
- Power plug
- Control
- Sliding switch (ON = I / OFF = 0 )
- Buttons for setting temperature
- Illuminated display for temperature settings
- Plugin coupling

Important instructions Retain for future use
WARNING
- Nonobservance of the following notes may result in personal injury or material damage (electric shock, skin burns, fire). The following safety and hazard information is not only intended to protect your health and the health of others, it should also protect the product. For this reason, pay attention to these safety notes and include these instructions when handing over the product to others.
- This heat pad must not be used by persons who are not sensitive to heat or by other vulnerable persons who may not be able to react to overheating (e.g. diabetics, people with skin alterations due to illness or scarred tissue in the application area, after taking pain relief medi cation or alcohol).
- This heat pad must not be used by very young children (03 years old) as they are unable to respond to overheating.
- The heat pad can be used by children older than 3 and younger than 8 years of age provided they are supervised. For this, the control must always be set to the minimum temperature.
- This heat pad may be used by children over the age of 8 and by people with reduced physical, sensory or mental skills or a lack of experience or knowledge, provided that they are supervised and have been instructed on how to use the heat pad safely, and are fully aware of the consequent risks of use.
- Children must not play with the heat pad.
- Cleaning and user maintenance must not be performed by children unless supervised.
- This heat pad is not designed for use in hospitals.
- This heat pad is only intended for domestic/private use, not for com commercial use.
- Do not insert pins.
- Do not use it when folded or bunched up.
- Do not use it if wet.
- This heat pad may only be used in conjunction with the control specified on the label.
- This heat pad must only be connected to the mains voltage that is specified on the label.
- The electrical and magnetic fields emitted by this heat pad may inter fere with the function of a pacemaker. However, they are still well below the limits: electrical field strength: max. 5000 V/m, magnetic field strength: max. 80 A/m, magnetic flux density: max. 0.1 millite sla. Please, therefore, consult your doctor and the manufacturer of your pacemaker before using this heat pad.
- Do not pull, twist or make sharp bends in the cables.
- If the cable and control of the heat pad are not positioned properly, there may be a risk of becoming entangled in, being strangled by, tripping over, or stepping on the cable and control. The user must ensure that excess lengths of cable, and cables in general, are safely routed.
- Please check this heat pad frequently for signs of wear and tear
or damage. If any such signs are evident, if the heat pad has been used incorrectly, or if it no longer heats up, it must be checked by the manufacturer before being switched on again. - Under no circumstances should you open or repair the heat pad (including the accessories) yourself because faultless functionality can no longer be guaranteed thereafter. Failure to observe this will invalidate the guarantee.
- If the mains connection cable of this heat pad is damaged, it must be disposed of. If it cannot be removed, the heat pad must be disposed of.
- When this heat pad is switched on:
- Do not place any sharp objects on it
- Do not place any heat sources, such as hot water bottles, heat pads, or similar, on it
- The electronic components in the control warm up when the heat pad is in use. For this reason, the control must never be covered or placed on the heat pad when it is in use.
- It is essential to observe the information relating to the following chapters: Operation, Cleaning and maintenance, and Storage.
- If you should have any questions about using our devices, please contact our Customer Services department.
Intended use
CAUTION
This heat pad is only designed to warm up the human body.
Operation
Safety
CAUTION
- The heat pad is fitted with a SAFETY SYSTEM. This sensor technology provides protection against overheating across the entire surface of the heat pad with an automatic switchoff in the event of a fault. If the SAFETY SYSTEM has switched off the heat pad, the temperature settings are no longer illuminated when switched on.
- Please note that for safety reasons, the heat pad can no longer be operated after a fault has oc curred and must be sent to the specified service address.
- Do not connect the defective heat pad with another control of the same type. This would trigger a permanent switchoff via the control’s safety system.
Initial use
CAUTION
Ensure that the heat pad will not bunch up or become folded during use.
- To operate the heat pad connect the control to the heat pad by plugging in the connector.
- Then plug in the power plug into the mains outlet.

Additional information for HK 58 Cosy
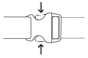
The exclusive shape of this heat pad was developed specifically for use on the back and neck. Position the heat pad on the back so that the hook and loop fastener on the neck part is in line with your neck. Then close the hook and loop fastener. Adjust the length of the abdominal belt so that you are comfortable and fasten the buckle by fitting one end into the other. To undo the buckle, push both sides of the clasp together as shown in the image.
Switching on
Push the sliding switch (3) on the right side of the control to the setting “I” (ON) – see an image of the control. When the switch is on, the temperature settings display is illuminated.
Setting the temperature
To increase the temperature, press the button (4). To reduce the temperature, press the button (4).
- Level 1: minimum heat
- Level 25: individual heat setting
- Level 6: maximum heat
- NOTE:
The fastest way to warm up the heat pad is to initially set the highest temperature setting. - NOTE:
These heat pads have a fast heating function, which allows the pad to warm up faster in the first 10 minutes. - WARNING
If the heat pad is being used over several hours, we recommend that you set the lowest temperature setting on the control to avoid overheating the heated body part, which may lead to burns to the skin.
Automatic switch-off
This heat pad is equipped with an automatic switchoff function. This turns off the heat supply approx. 90 minutes after the initial use of the heat pad. A part of the displayed temperature settings on the control then begins to flash. So that the heat pad can be switched back on, the side sliding switch (3) must first be set to setting “0” (OFF). After about 5 seconds it is possible to switch it on again.
Switching off
To switch the heat pad off, set the sliding switch (3) on the side of the control to setting “0” (OFF). The tem perature settings display is no longer illuminated.
NOTE:
If the heat pad is not in use, switch the side sliding switch (3) from ON/OFF to setting “0” (OFF) and unplug the power plug from the socket. Then disconnect the control from the heat pad by unplugging the plugin coupling.
Cleaning and maintenance
- WARNING
Before cleaning, always remove the power plug from the socket first. Then disconnect the control from the heat pad by unplugging the plugin coupling. Otherwise, there is a risk of electric shock. - CAUTION
The control must never come into contact with water or other liquids, as this may cause damage. - To clean the control, use a dry, lintfree cloth. Do not use any chemical or abrasive cleaning agents.
- The textile cover can be cleaned in accordance with the symbols on the label and must be removed from the heat pad prior to cleaning.
- Small marks on the heat pad can be removed with a damp cloth and if necessary, with a little liquid de tergent for delicate laundry.
- CAUTION
Please note that the heat pad may not be chemically cleaned, wrung out, tumble dry, put through a mangle or ironed. Otherwise, the heat pad may be damaged. - This heat pad is machinewashable.
- Set the washing machine to a particularly gentle wash cycle at 30 °C (wool cycle). Use a delicate laundry detergent and measure it according to the manufacturer’s instructions.
- CAUTION
Please note that frequent washing of the heat pad has a negative effect on the product. The heat pad should therefore be washed in a washing machine a maximum of 10 times during its life. - Immediately after washing, reshape the heat pad to its original dimensions while it is still damp and spread it out flat on a clothes horse to dry.
- CAUTION
- Do not use pegs or similar items to attach the heat pad to the clothes horse. Otherwise, the heat pad may be damaged.
- Do not reconnect the control to the heat pad until the plugin connection and the heat pad are completely dry. Otherwise, the heat pad may be damaged.
- WARNING
Never switch the heat pad on to dry it! Otherwise, there is a risk of electric shock.
Storage
If you do not plan to use the heat pad for a long period of time, we recommend that you store it in the original packaging. For this purpose, disconnect the control from the heat pad by unplugging the plugin coupling.
CAUTION
- Please allow the heat pad to cool down before storing it. Otherwise, the heat pad may be damaged.
- To avoid sharp folds in the heat pad, do not place any objects on top of it while it is being stored.
Disposal
For environmental reasons, do not dispose of the device in the household waste at the end of its useful life. Dispose of the unit at a suitable local collection or recycling point. Dispose of the device in accordance with EC Directive – WEEE (Waste Electrical and Electronic Equipment). If you have any questions, please contact the local authorities responsible for waste disposal.
What if there are problems
| Problem | Cause | Solution |
| The temperature settings are not illuminated while – the control is properly connected to the heat pad – the power plug is connected to a working socket – the side sliding switch on the control is set to setting “I” (ON) | The safety system has switched the heat pad off permanently. | Send the heat pad and the control for servicing. |
Technical data
See the rating label on the heat pad.
Guarantee/service
Further information on the guarantee and guarantee conditions can be found in the guarantee leaflet supplied.
Contact Information
Beurer GmbH Söflinger Str. 218 89077 Ulm, Germany.
www.beurer.com.
www.beurergesundheitsratgeber.com.
www.beurerhealthguide.com.
UKImporter: Beurer UK Ltd.
Suite 9, Stonecross Place Yew Tree Way WA3 2SH Golborne United Kingdom.






















