

AX-VB3 VB4 Gyro Machine
User Manual
![]()
PREFACE
Dear User,
Thank you for purchasing our AXIS product and for your confidence in our company. Our appliances are produced in compliance with international standards.
IMPORTANT: Please read and ensure that all users read this manual in order to achieve the desired performance that you expect; and to enable you to use this AXIS appliance for many years.
☞ Please read and ensure that your operation personnel read this user’s manual carefully before installing and using the appliance.
☞ The manual containing information about the installation, usage, and maintenance of the product you purchased should be read carefully. Please ensure that power supply connections to the appliance are already installed by qualified personnel according to local regulations before our authorized service arrives for any service work to this appliance. If our authorized service determines that the necessary repair(s) to be done are a result of the faulty installation on your part, the warranty shall not be covered.
☞ If you do not have enough information, please contact our customer service department either by phone at 1-514-737-9701 or by e-mail at: [email protected]
☞ We expect you to have the best performance from our product!
1.1 – Use of Installation – Operation & Maintenance Manual
Dear customer please read this User’s Manual carefully in order to prevent your appliance from damage, and to achieve maximum efficiency throughout the economic life of the appliance.
INSTALLATION INSTRUCTONS
2.1 – Technical Instructions for Gas Connections
Initial installation and operation of the appliance must be carried out by an Authorized Service in compliance with technical requirements and local directives related to gas
connections.
All gas connections of the appliance must comply with ISO 7 – 1 or ISO 228 – 1standard.
AN ELECTRICAL AND GAS INSTALLATION COMPLYING WITH THE RELEVANT LOCAL REGULATIONS MUST BE PRESENT AT THE FACILITY, BUILDING, AND SIMILAR SITE WHERE THE DÖNER-GRILLMACHINE WILL BE INSTALLED; NECESSARY PRECAUTIONS MUST ALSO BE TAKEN TO ENSURE HEALTH AND MATERIAL SAFETY. OTHERWISE, OUR COMPANY WILL NOT BE RESPONSIBLE FOR THE CONSEQUENCES.
2.2 – Installation of the Appliance
The appliance must be installed on a stable, even, and balanced ground made of stainless steel. This stainless steel surface must be in a form preventing fat from flowing down from the surface and spilling The appliance should never be installed on a plastic or wooden surface. It must be installed so that at least a 20 cm distance is maintained between the appliance and the wall, during its use.
Gas connections of the döner-grill machine must be done in compliance with the regulations in force.
The appliance should be operated under well-ventilated conditions. The ventilation system must be of non-flammable character, and the ventilation funnel must be free of any obstruction.
2.3 – Technical Specifications
The manufacturer reserves the right to alter the design and specifications without notice!
Power supply cords and gas connection hoses of the appliance installed by the Authorized Service must not be extended or changed.
2.3.1 – Table of Burners Depending on the Injector Type of Gas Used
| GAS TYPE | Natural Gas 7″ — 8″ WC | Propane 10″ – 13″ WC | |
| POS | Machine Type | Burner Injector Diameter (mm) | |
| 1 | 3GD* | 1,35 | 0,90 |
| 2 | 4GD* | 1,35 | 0,90 |
The nominal power of the appliance cannot be changed upon the customer’s request. Any modification made on valves and injectors leaves the appliance out of warranty coverage. Our company will not be responsible for the consequences.
2.3.2 – Technical Specifications of Vertical Broiler
| Poz. | Product-Nr. | Power (BTU) | Meat Capacity (Kg) | Weight (kg) | Skewer length (inch) | Dimensions (HxWxD) (inch) |
| 1 | 3GD | 33268,38 | 40 kg | 24 kg | 28,98 | 38,85×17,72×22,4 |
| 2 | 4GD | 44358. | 80 kg | 27 kg | 35,43 | 45,27×17,72×22,4 |
2.3.3 – Instructions for Gas Conversions
PLEASE FOLLOW THE INSTRUCTIONS BELOW TO USE THE ROTISSERIE APPLIANCE WITH A GAS TYPE VARYING FROM REGIONAL REQUIREMENTS!
- Gas conversions should only be carried out by staff qualified in gas conversion.
- Close the valves of the gas line or gas bottle supplying gas to the appliance.
- Disconnect the gas connection of the appliance.
- Loosen the screws of the back panel and remove the back panel of the appliance
- Demount and remove the tubes between the gas valve and the burners.
- By displacing its splint remove the connection, where the injectors on the burner are attached.
- Install an appropriate type of injector for the gas type to be used, on burner connections.
- Install the splint and the connection back and tighten.
- Re-mount the tubes between the gas valve and the burners. (Smear gearing of the connection, where the collar on the tube and the tube are mounted to the gas valve, with gas paste against gas leakage.)
- Change the labels of the appliance according to the gas conversion type.
- Connect the appliance to the appropriate type of gas according to the gas conversion.
- Check all connections for gas leakage. (Tests have to be carried out using leakage spray or foam. Never check gas leakage with an open fire source like a match, lighter, etc.)
- After the gas leakage test carries out a combustion test for the appliance.
- If the heat of the appliance is not sufficient set the gas adjustment injector (bypass) on the gas valve appropriately using a screwdriver. (Since the by-pass injector is opened into the gas flow path, do never remove the by-pass injector during operation. Since the settings of the appliance are done by default as to requested gas pressure; if the gas conversion will not be carried out, these settings should never be changed by the user. Re-mount the back panel if no problem exists.
- If you follow these instructions you can use your appliance safely with the gas type converted.
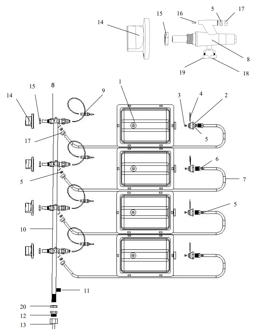
2.3.4 – Gas System Diagram
| 1 – Burner 2 – Burner connection 3 – Burner injector 4 – Splint 5 – Ring 6 – Burner collar 7 – Gas tube 8 – Gas valve 9 – Thermo-element 10 – Gas ramp | 11 – Gas pressure control connection 12 – Natural gas connection collar 13 – Propane connection collar 14 – Gas valve button 15 – Gas valve nut 16 – Gas valve by-pass injector 17 – Gas valve collar 18 – Gas valve clamp 19 – Clamp screw 20 – Gas tube counter nut |

2.4 – Motor
Electrical motors used in our vertical broilers can be operated in two ways (right/left).
By the electrical motor used, each side of the skewered meat can be grilled homogenously, and also the appliance is operated using less human effort.
- Do not clean the electrical motor with water. In döner-grill machines with the motor on top, wipe the frame of the motor with a moist cloth, and then wipe it dry.
- Do not drop down the electrical motor.
- Protect the cord of the electric motor from contact directly with fire.
- Use the Heat Cap (5) being an original part of the appliance, in order to protect the motor from excessive heat during operation.(Figure 1-b)
- Check the electrical cord of the appliance before each operation. Cords affected by heat or cuts due to incorrect operation may cause leakage current.
By following the instructions stated above, maximum efficiency is achieved with the motor of the product.
Motor Technical Specifications:
– 115 Volt (AC) NPE ~ / 60 Hz
– 1 rpm 3,5 W
2.5 – Gas Connection Diagram
OPERATION AND MAINTENANCE INSTRUCTIONS
3.1 Installing the Appliance
3.1.1 After installing the appliance in compliance with the regulations mentioned in the User’s Manual the fat tray and the motor (Figure 1b) are inserted, making the appliance ready for use. In these types of appliances, unscrew the upper and lower slide arms for the meat grilling. The distance between the skewer (6) with meat on, and the burners is adjusted with the help of these arms. Make the gas connections at values as specified on the appliance label and plug the electrical cord in. Your appliance is ready for use.
Please read points 3.-5. before inserting the rotisserie where the meat is skewered in the rotisserie oven!
3.2 Purpose of Use
This vertical broiler was designed and manufactured to grill any kind of döner meat for commercial purposes, and cannot be used for different purposes.
3.3 .Warnings
- Before starting the appliance remove all protective PVC films and any other packaging material, from the appliance.
- Do not leave the appliance unattended when operating.
- The appliance should only be operated under a chimney hood.
- The appliance should only be operated by persons, who have read the user’s manual and maintenance manual and are trained in the operation of the appliance.
- This appliance should only be operated on a stable, leveled surface made of stainless steel.
- Gas connections must be checked for gas leakage.
- The appliance should be operated under well-ventilated conditions. The ventilation system must be of non-flammable character, and the ventilation funnel must be free of any obstruction.
- When changing the location of the appliance, it must be turned off and cooled down.
- If the appliance is operated without a motor (for motor on top type of döner-grill machines) use the original skewer turning arm, which can be mounted to the top of the skewer, to rotate the meat.
- If the gas odor is smelled, turn the gas valves of the appliance and all other gas valves off, and ventilate the room. Call authorized service as soon as possible. * Do never check gas leakage using a match or lighter. Check it using a gas leakage spray or foam.
- All gas valves, main gas valves, and power supplies must be turned off, after the operation and in cases of emergency.
- The appliance should not be used beyond its purpose of use.
- The appliance should not be moved and jolted when operating.
- Beware spilling of fat, when operating the appliance. Any spilled fat should be cleaned up immediately. Otherwise, accidents and serious injuries might arise from the slippery surface caused by spilled fat.
- Do not hit and tilt the appliance when carrying it.
- Do not locate any flammable material near the appliance. Do not operate the appliance near easily flammable materials.
- If the appliance has to be located near a wall, dividing wall, kitchen furniture, decorative coating, etc., these must definitely be of non-flammable material. Otherwise, these must be coated with non-flammable heat insulation material, and the fire protection instructions must be strictly followed.
- Leave a 20 cm gap between the location, where the appliance will be operated and the wall.
- Operational gas pressure values of the appliance are labeled on the appliance. Do not operate the appliance at a gas pressure other than the specified level. * If the appliance is operated with LPG, the distance between the device and the LPG cylinder should be a minimum 50 cm.
During grilling consider that the meat is hot, heavy, and fatty, and do not remove the meat from the appliance until the meat is completely finished!
By opening the main gas valve enable gas to flow to the appliance. Press and hold the gas valve button, and turn it ninety degrees counterclockwise. At this point, gas will flow to the burners. Keep the valve button pressed, and light the burner connected to the gas valve from the front using a match, lighter, etc. (use a long grip lighter or match for this purpose to avoid fire from your fingers). If the burner does not light within 10-15 seconds, turn the valve off, and wait for a short while before retrying. Gas valves are equipped with thermo-elements. Therefore when lighting the burner first, keep the gas valve button pressed until the thermo-element heats up (around 15 seconds). Otherwise, thermo-elements not heated up enough will not allow gas flow, and combustion will not occur. When the thermo-couples are heated up, stop pressing the buttons. By repeating the procedure mentioned above following the same order, all burners of the appliance can be started. If for any external reason, the flame expires, the thermoelements cease the gas flow. Each of the burners is controlled by independent gas valves. Gas valves have two different cooking operation settings – low and full levels. Döner meat can be grilled or kept warm, using these settings as required.
Full Level Setting:
The gas valve button is labeled with a large flame indicator. For operating at full level, set the valve to this position, which will enable meat grilling.
Low-Level Setting:
The gas valve button is labeled with a small flame indicator. For operating at the low level set the valve to this position, which will keep the meat warm.
After the operation is finished always turn all gas valves, main gas valves, and power connections off.
3.5 Operation with Motor
Operating your appliance with the motor will enable both a homogenous meat grilling and depending less on manual operation.
Please follow the following procedure to operate your appliance with the motor. (Figure 1-b)
– Unscrew (T) shaped arms of the upper (3) and lower slides (15) Depending on the diameter size of the meat, move these arms to the best position where the meat can easily be skewered. Remove T shaped upper slide (3) arm completely. When doing this counter-arm (16) must be located above the upper slide arm (3). Then, pass the T-shaped upper slide arm through the mounting opening above the motor shield (17), and install it together with the motor (1) and screw. When holding the motor in the correct position with your hands, screw the counterpart (16) and the motor shield (17).
– Insert the bottom end of the skewer (6) with meat on, to the conical guide located above the lower slide (15), and tighten the T-shaped arm.
– Then move the top end of the skewer (6) closer toward the skewer guide. Raise the snatching tube on the skewer guide up, insert the skewered meat into the skewer guide and snatch the tube.
– After doing this, ensure that both the bottom slide (15) and the upper slide (3) are aligned.
– Then pass the motor cable (2) through cord holders, in order to protect the cable from the heat generated during operation. (Use the heat cap (5) to protect the cable from heat during operation)
– Your appliance is ready for use with a motor. Plug the electrical cord of the motor in, and start it using the switch on it.
When operating with a motor always ensure that cords are kept away from heat sources. For this reason, never attach the motor cord on cord holders when operating.
NOTE THOSE APPLIANCES HAVING A 3-DIGIT PRODUCT CODE ARE NOT EQUIPPED WITH A TELESCOPIC SKEWER SUPPORTER. TAKING THIS INTO ACCOUNT FOLLOW THE INSTRUCTIONS BELOW FOR THESE APPLIANCES:
- Unscrew the skewer fixing screw (12).
- Insert the lower end (2) of the skewer with meat on, it onto the skewer guide (22).
- Tighten the skewer fixing screw (12).
- Your appliance is ready for use with a motor. You can start the motor by plugging the electrical cord of the motor in and using the motor switch (20) located on the bottom plate (21).
3.6 Operation without Motor
If the appliance will be operated without a motor, use the hygienic skewer turning arm, which is used for rotating the skewer and is mountable to the top of the skewer. (For a hygienic, safe, and less human power-consuming grilling operation, operating the oven with a motor is recommended). Please follow the following procedure to operate your appliance without a motor. (Figure 1-b)
– Unscrew (T) shaped arms of the upper (3) and lower slides (15) Depending on the diameter size of the meat, move these arms to the best position where the meat can easily be skewered.
– Insert the bottom end of the skewer with meat onto the conical guide located above the lower slide (15), and tighten T shaped arm.
– Then, pass the upper end of the skewer with meat on through the ring located above the upper slide (3), and tighten the T-shaped arm of the upper slide (3).
– After doing this, ensure that both the bottom slide (15) and the upper slide (3) are aligned.
– Mount the original skewer turning arm to the top of the skewer, and rotate the skewer using this arm. By doing this, higher hygiene and safety will be maintained by enabling you to avoid contact with hot and fatty meat.
- Unscrew the fixing bolt (5) of the telescopic skewer supporter.
- By doing this, the telescopic skewer supporter (1) will be raised by the spring mechanism.
- Unscrew the skewer fixing screw (12).
- Insert the lower end (2) of the skewer with meat on, it onto the skewer guide (22).
- Do not tighten the skewer fixing screw (12). Otherwise, you will not be able to rotate the skewered meat.
- Pushing the telescopic skewer supporter holding arm (4) down, insert the upper side of the skewer (2) with meat on into the guide located on this arm.
- Tighten the fixing screw (5) of the telescopic skewer supporter.
- Your appliance is ready for use without a motor. Unplug the appliance from the power supply during operation without a motor.
NOTE: THOSE APPLIANCES HAVING A 3-DIGIT PRODUCT CODE ARE NOT EQUIPPED WITH A TELESCOPIC SKEWER SUPPORTER. TAKING THIS INTO ACCOUNT FOLLOW THE INSTRUCTIONS BELOW FOR THESE APPLIANCES:
- Unscrew the skewer fixing screw (12).
- Insert the lower end (2) of the skewer with meat on, it onto the skewer guide (22).
- Do not tighten the skewer fixing screw (12). Otherwise, you will not be able to rotate the skewered meat.
- Your appliance is ready for use without a motor. Unplug the appliance from the power supply during operation without a motor.
3.7 Clean-Up
For longer and hygienic life of use, please clean your appliance up after the daily operation. Do never use rubbing powders and abrasive chemicals for the clean-up of the appliance.
Use liquid soap dissolved in some amount of lukewarm water. Then wipe the appliance using a sponge immersed in soap water, and wipe it dry using a dry cloth. Carry out the clean-up after the appliance is cooled down completely and not operating. Never allow the motor and other electrical parts of the appliance contact with water. Never allow the electrical parts (if any), the motor, and the burner parts contact with water. Do not wash the appliance by immersing it in water. Do not use pressure water for cleaning.
3.8 Maintenance
In order to check gas leakage, and whether the appliance is functioning properly, the appliance must be serviced at least every 6 (six) months at the manufacturer’s site or authorized service, depending on the way the appliance is used and depending on the location. If the appliance is not functioning properly call authorized service immediately, and do not operate the appliance until it is fixed as necessary. If in such cases functional parts of the appliance have to be replaced, these should be replaced with original spare parts.
MANUFACTURERS LIMITED WARRANTY
MVP Group Corporation (MVP), hereby warrants all new equipment bearing the name “AXIS” and installed within the continental United States of America or Canada to be free from defects in material and workmanship, under normal and regular usage and operation, for a period of one (1) year following the date of original installation; or to a maximum of eighteen (18) months from factory date of shipment.
If a defect in material(s) or workmanship is detected; or found to exist within the stated period above, MVP, at its sole discretion, shall either repair or replace any original equipment manufacturers part which has proven to fail within the machine; providing that the equipment has not been altered or tampered with in any form or manner whatsoever, has been installed correctly as per the users manual, and maintained and operated in complete accordance with this manual.
The labor cost (in terms of bench warranty) to repair or replace any part proven to be defective, as per the above clause(s), shall be covered by MVP, within the continental United States of America or Canada; provided that prior authorization for this labor was approved by MVP, the service work was performed by an authorized MVP service agency; and that this agency installed an original and a genuine AXIS part in the machine. Any repair work performed by a nonauthorized service depot remains the sole responsibility of the user, and thus MVP cannot be held responsible. The installation of any generic part will not be valid; and therefore will void this warranty. All authorized labor coverage shall be limited to bench rates only. Any supplemental hourly rates or charges, such as transport, weekends, or emergency premiums remain the sole responsibility of the user. Any charges exceeding those stated herein must have prior authorization by MVP.
Exceptions to the above warranty are: (A) Damages resulting from shipping, handling, or abuse (B) Incorrect installation and/or connections (C) Adjustments or calibration of any parts (D) Faults due to lack of regular maintenance or cleaning of any internal part(s) (E) Replacement of any wearable items such as accessories (F) Discoloration of any components due to chemical reaction
MVP GROUP CORP. STATES THAT THERE ARE NO OTHER WARRANTIES, EXPRESSED OR IMPLIED, THAT ARE NOT SET FORTH HEREIN. MVP GROUP CORP. SHALL ASSUME NO OTHER RESPONSIBILITY, EITHER DIRECT OR NON-DIRECT, OR BE LIABLE FOR ANY OTHER OR ADDITIONAL LOSS OR DAMAGE WHETHER DIRECT OR CONSEQUENTIAL, AS A RESULT OF ITS EQUIPMENT.
The manufacturer reserves the right to alter the design and specifications without notice


















