
User manual
MS 8160


SAFETY CONDITIONS. IMPORTANT INSTRUCTIONS ON SAFETY OF USE PLEASE READ CAREFULLY AND KEEP FOR FUTURE REFERENCE
- Before using this appliance read the user’s manual and follow the instructions for use. The manufacturer shall not be held reliable for damage caused by misuse or improper operation of the appliance.
- This appliance is intended for household use only. Do not use it for purposes other than the intended one.
- Take special care when using the appliance near children. Do not allow children to use the appliance as a toy. Do not allow children or another person not familiarized with the appliance to operate it.
- WARNING: This appliance is not intended for use by children under the age of 8 or persons with reduced physical or mental capabilities, or lack of experience and knowledge of the equipment unless they have been given supervision or instruction concerning the use of the equipment and the related hazards. Children should not play with the equipment. The equipment must not be cleaned or maintained by the children if not supervised.
- To avoid the danger of suffocation keep the bag away from babies and children. Do not use the bag in cribs, beds, carriages or playpens. It is not a toy. Knot before throwing away.
- Do not immerse the appliance in water or any other liquid. Do not immerse the appliance in water or other liquid. Do not expose the appliance to weather conditions (rain, sunlight etc.).
- Do not operate any appliance if damaged or malfunctioning in any manner. Do not try to repair the appliance yourself. Return the appliance to a service center for examination or repair. Any repairs can be carried out by an authorized service facility only. If repaired improperly the appliance can pose serious danger to the user.
- Put the appliance on a cold, stable, and even surface away from kitchen appliances such as an electric cooker, gas burner, etc
Do not operate the appliance near inflammable materials.- Do not use the appliance near water e.g. under the shower, in a bathtub or above a washbasin with water inside.
- Use the appliance on a stable and flat floor only.
- Make sure the surface the appliance is used on is not wet or slippery.
- Keep the appliance away from strong electromagnetic fields.
- Take care not to drop heavy objects on the display or the glass part of the scale.
- DO NOT hit, DO NOT shake and DO NOT drop the scale.
- Stand still on the scale during the whole weighing time.
- Do not use it for commercial or medical purposes.
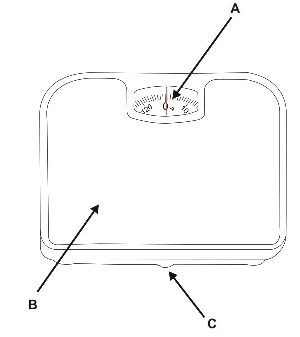
DESCRIPTION OF THE DEVICE
A. display
B. scale platform
C. Calibration knob
OPERATION
STEP 1. Place the scale on hard and flat surfaces (avoid carpets and soft surfaces).
STEP 2. Softly step on the scale. Stand evenly on the scale, and do not move.
STEP 3. To read the measurement, look at the point marked with a red line when you are on the scales.
NOTE: To calibrate the scales, use knob C. (The red line should indicate “0”)
CLEANING AND MAINTENANCE
- Clean the scales using a moist cloth. Wipe the scale dry. DO NOT use chemical/corrosive cleaning agents.
- Store the scale in a cool and dry place.
- The scale should always be in a horizontal position.
TECHNICAL DATA
Capacity 130 kg
Accuracy: 1000g
To protect your environment: please separate carton boxes and plastic bags and dispose of them in corresponding waste bins. The used appliances should be delivered to the dedicated collecting points due to hazardous components, which may affect the environment. Do not dispose of this appliance in the common waste bin.
Do not operate the appliance near inflammable materials.



















