EPSON TM-S9000II-NW Network Multifunction Teller Device

For detailed information on operation and safe use of the product, refer to the other manuals that are included with the product and are available on the Epson website.
Setup and cleaning procedures can also be viewed in the video.

For more details, see TM-S9000II-NW Technical Reference Guide.

- Unpack. Make sure that you have the all items shown below.

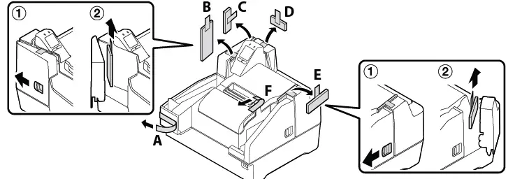
- Remove all the protective materials. Make sure to remove the materials inside the product.

- Connect to a hub and to the power source. Insert each plug as far as it goes with the correct orientation.

- Place the product on a flat surface. Do not tilt it more than 5 degrees. Be careful not to let the cables get caught under the product.

- Press
the button to turn the product on. The screen will prompt you to install the ink cartridge.
- Follow the on-screen instructions to install the ink cartridge and then the roll paper.
When you finish installing the consumables, the home screen- Checking Nozzles and Cleaning Ink Head
For a test print, turn the product off and then back it on while holding down the left button. If the test pattern is faint, press the left button and then press the right button to run a head cleaning.
- Checking the Network Settings
Press the two buttons simultaneously for 2 seconds to display the settings on the screen.
The default connection mode is network. Turn off the product and then change the mode to USB using the switch on the back.
- For Connecting the Product via USB
The default connection mode is network. Turn off the product and then change the mode to USB using the switch on the back.
- Checking Nozzles and Cleaning Ink Head






When you finish installing the consumables, the home screen



















