Denver MC-5220 MK2 + W/UK PLUG (Eng) Mar 20 · 26/3/2020 · AT 148×210 mm
CD PLAYER WITH FM ALARM CLOCK PLL RADIO
MODEL MC-5220 MK2 / MC-5220 MK2 W/UK PLUG

BEFORE OPERATING THIS PRODUCT, READ, UNDERSTAND, AND FOLLOW THESE INSTRUCTIONS.
Be sure to save this booklet for future reference. www.facebook.com/denverelectronics
SAFETY INSTRUCTIONS
![]()
The lighting flash with arrowhead symbol, with an equilateral triangle is intented to alert the user of the presence of uninsulated dangerous voltage within the product’s enclosure that may be of sufficient magnitude to constitute a risk of electric shock to persons.
CAUTION
RISK OF ELECTRIC SHOCK DO NOT OPEN
CAUTION: TO REDUCE THE RISK OF ELECTRIC SHOCK, DO NOT REMOVE COVER (OR BACK). NO USER SERVICEABLE PARTS INSIDE. REFER SERVICING TO QUALIFIED SERVICE PERSONNEL.
![]()
The exclamation point within an equilateral triangle to intended to alert the user of presence of important operating and maintenance (servicing) instructions. In the literature accompanying the appliance.
CAUTION: TO PREVENT ELECTRIC SHOCK, MATCH WIDE BLADE OF PLUG TO WIDE SLOT, FULLY INSERT.
WARNING: TO REDUCE THE RISK OF FIRE OR ELECTRIC SHOCK, DO NOT EXPOSE THE APPLIANCE TO RAIN OR MOISTURE.
SAFETY INSTRUCTIONS
THESE IMPORTANT SAFETY INSTRUCTIONS ARE INCLUDED, AS APPLICABLE TO THE APPLIANCE, CONVEYING TO THE USER THE INFORMATION ITEMIZED BELOW
- Read instructions-All the safety and operating instructions should be read before the appliance is operated.
- Retain instructions-The safety and operating instructions should be retained for future reference.
- Head Warnings-All warnings and cautions on the appliance and in the operating instructions should be adhered to.
- Follow instructions-All operating and use instructions should be followed.
- Water and Moisture-The appliance should not be used near water, e.g. near a bathtub, washbowl, kitchen sink, laundry tub, in a wet basement, or near a swimming pool or the like.
- Wall or Ceiling Mounting-The appliance should not be mounted to a wall or ceiling.
- Ventilation-The appliance should be situated so that its location or position does not interfere with its proper ventilation. For example, the appliance should not be situated on a bed, sofa, rug or similar surface that may block the ventilation openings, or placed in a built-in installation, such as a bookcase or cabinet, that may impede the flow of air through the ventilation openings.
- heat-The appliance should be situated away from neat sources such as radiators, heat registers, stoves, or other appliances (including amplifiers) that produce heat..
- Power Sources-The product should be operated only with the type of power supply indicated on the marking label. If you are not sure of the type of power supply to your home, consult your product dealer or local power company. For products intended to operate from battery power, or other sources, refer to the operating instructions.
- Grounding Polarization-This product may be equipped with a polarized alternating-current line plug (a plug having one blade wider than the other). This plug will fit into the power outlet only one way this is a safety feature. If you are unable to insert the plug fully into the outlet, try reversing the plug. If the plug should still fail to fit, contact your electrician to replace your obsolete outlet. Do not defeat the safety purpose of the polarized plug.
- Power-Cord Protection-Power supply cords should be routed so that they are not likely to be walked on or pinched by items placed upon or against them, paying particular attention to cords at plugs, convenience receptacles, and the point where they exit from the appliance.
- The cleaning-The appliance should be cleaned only as recommended by the manufacturer.
- Nonuse periods-The power cord of the appliance should be unplugged from the outlet when left when left unused for a long period of time.
- Object and Liquid Entry-Care should be taken so that objects do not fall and liquids are not spilled into the product case through product openings.
- Damage Requiring Service-Unplug this product from the wall outlet and take it to qualified service personnel under the following conditions.
a) When the power-supply cord or plug is damaged.
b) If liquid has been spilled into, or objects have fallen into the product.
c) If the product has been exposed to rain or water.
d) If the product does not operate when used according to the operating instructions. Adjust only those controls that are covered by the operating instructions as an improper adjustment of other controls may interfere with the product’s normal operation.
e) If the product has been dropped or damaged in any way.
f) When the product exhibits a distinct change in performance this indicates a need for service. - Servicing-The user should not attempt to service the product beyond that described in the operating instruction. All servicing should be referred to qualified service personnel.
- Power Lines-An outside antenna system should not be located in the vicinity of overhead power lines, or other electric light or power circuits, or where it can fall into such power lines or circuits. When installing an outside antenna system, extreme care should be taken to keep from touching power lines or circuits as contact with them might be fatal.
- If an outside antenna is connected to the receiver, be sure the antenna system is grounded so as to provide some protection against voltage surges and built-up static. Section 810 of the National Electrical Code ANSI/NEFA 70 provides information with respect to proper grounding of the mast and supporting structure, grounding conductress, location of the antenna-discharge unit, size of grounding electrodes, and requirements for the grounding electrode (see figure).
- Cleaning-Unplug this product from the wall outlet before cleaning. Do not use liquid cleaners or aerosol cleaners. Use a damp cloth for cleaning.
- Lightning-For added protection for this product during a lightning storm, or when it is left unattended and unused for long periods of time, unplug it from the wall outlet and disconnect the antenna or cable system. This will prevent damage to the product due to lightning and power-line surges.
- Safety Check-Upon completion of any service or repairs to this product, ask the service technician to perform safety checks to determine that the product is in proper operation condition.
- Overloading-Do not overload wall outlets, extension cords, or integral convenience receptacles as this can result in a risk of fir or electric shock.
EXAMPLE OF ANTENNA GROUNDING AS PER NATIONAL ELECTRICAL CODE
NEC NATIONAL ELECTRICAL CODE Do not apply oil or petroleum products to this product.
CAUTION
Invisible laser radiation will be emitted when the product is open and interlocks are defeated. Do not defeat the safety interlocks.
GRAPHIC SYMBOLS WITH SUPPLEMENTARY MARKINGS ARE LOCATED ON THE BOTTOM OF THE UNIT.
USE OF CONTROLS, ADJUSTMENTS, OR PERFORMANCE PROCEDURE HEREIN MAY RESULT IN HAZARDOUS RADIATION EXPOSURE.
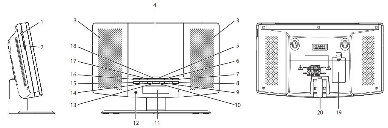
LOCATION OF CONTROLS
- Aux in jack
- Phone jack
- Speaker
- CD door
button
button
button- Standby button
- Function button
- Alarm Set button
- LCD display
- IR
- Vol+ button
- Vol- button
- M- button
- M+ button
- Prog/Time Set button
button- Battery compartment
- DC jack
REMOTE CONTROL
- Standby button
- Function button
- Stop button
- Volume + button
- Prev/Hour button
- Play/ Pause button
- M-DN button
- Volume – button
- Alarm button
- Memory button
- Time button
- Snooze button
- Mute button
- Mode button
- Next/Min button
- M-UP button
- Prog button
- Sleep button
Unit Power Supply
This unit is designed to operate on wither AC/DC adaptor.
Operation with AC/DC Adaptor. Insert the small plug of adaptor into the DC Jack. Insert the AC/DC adaptor in to any convenient having AC~100-240V 50/60Hz household outlet in vertical or horizontal direction.
| Manufacturer’s name or trade mark, commercial registration number and address | Dong Guan City Chang Mao Electronic Technology Co., Ltd 91441900066693858H Room 201, Building 1, No. 2 of South Third Street, Luhu West Road, Qing Xi Town, Dong Guan City, Guangdong Province, China. |
| Model identifier | CA24W060120V |
| Input voltage | 100-240V |
| Input AC frequency | 50/60HZ |
| Output voltage | 6.0V |
| Output current | 1.2A |
| Output power | 7.2W |
| Average active efficiency | 81.92% |
| Efficiency at low load (10%) | -0.05W |
| No-load power consumption | CA24W060120V |
INSTALL THE UNIT ON WALL
- There are two wall mounting holes on the rear of the unit, push the stand as per the marking on the stand to the channel of the unit before installing this product.
- Please make sure your desired wall mount method is able to hold a 5Kg product if you are going to put this frame on the wall. Seek advice from your local hardware professional.
- Please ensure there are two stubs or nails on the walls with a distance same as the actual product on the unit between each other.
- Please ensure the stubs or nails for on the walls can support minimum 6kg weight.
CLOCK SETTING
- In STANDBY OFF mode, press and hold the PROG/TIME SET Button,
- Press
Button to set the desired Hour. - Press
button to set the desired Minute. - After the desired time has set, press PROG/TIME SET button to confirm.
WAKE UP TO ALARM BUZZER (AL 1):
a. Keep the unit in standby mode.
b. Press the ALARM SET button, ”
1″ icon will blink on the display, then press and hold the ALARM SET button again, the alarm time will blink on the display.
c. Press
Button to set the desired alarm hour.
d. Press
button to set the desired alarm minute.
e. The buzzer will sound at the set alarm time.
WAKE UP TO RADIO:
a. Keep the unit in standby mode
b. Touch the ALARM SET button, “
1″ icon will blink on the display, then press and hold the ALARM SET button again, the alarm time will blink on the display.
c. Press function button to choose “FM” icon.
d. Press the
BUTTON to set desired alarm hour.
e. Press the
BUTTON to set desired alarm minute.
f. The radio will turn on at the set alarm time.
WAKE UP TO CD:
a. Keep the unit in standby mode
b. Press the ALARM SET button, “
1″ icon will blink on the display, then press and hold the ALARM SET button again, the alarm time will blink on the display.
c. Press function button to choose “CD” icon.
d. Press the
BUTTON to set desired alarm hour.
e. Press the
BUTTON to set desired alarm minute.
f. The CD will play on at the set alarm time.
Note: Please make sure the disc already put into the CD compartment.
Note: Please make sure the disc already put into the CD compartment.
AL2 setting is same as AL1 setting
SHUT OFF ALARM:
When alarm goes off, press the STANDBY BUTTON to turn off alarm, the alarm will reset for next day
HOW TO TURN OFF THE ALARM
To cancel alarm mode: In “STANDBY OFF” mode, press AL.SET button to turn off the alarm function. (until alarm sign “
” will disappear on the LCD Display).
ADJUST VOLUME
- Press VOL.+ button to increase the volume.
- Press VOL. - button to decrease the volume.
RADIO OPERATION
- Press the STANDBY Button to switch on the unit.
- Press the FUNCTION Button to the RADIO Function.
- How to use the buttons for radio
i. Manual Tuning
Press the
or
button to search for desired frequency. Higher frequency can be selected by pressing the
button while Lower frequency can be selected by pressing
button
ii. Automatic Tuning
a) Press & hold the or button until the display frequency starts run
b) When a station of sufficient strength has been found Tuning will stop or you can stop the automatic tuning by pressing or button. - To turn off the radio, Press the STANDBY button.
PRESET TUNING
- Select your desired station according to the normal tuning procedure.
- Press the MEMORY button on the remote, “P-01” will appear and flash on the display, Then use M-UP or M-DN- button on the remote or press the M+ / M- button on the unit to change the number where the station will be stored. (P01 to P20) to change the number where the station will be stored. (P01 to P20)
- Store the current frequency by pressing MEMORY button on the remote again when you get the desired number.
- Repeat the same procedure to set other desired frequencies into Memory No.1 to No.20 Note: The unit can be preset up to 20 stations.
MEMORY RECALL Recall the stored frequencies by pressing M-UP or M-DN BUTTON on the unit, or press the M+ / M- button on the unit to select 1 to 20 stations as desired
NOTE: As stored frequencies can only be stored for long time with the power supplying. The station you stored will be lost and can not be recalled in case that you cut off the power.
HANDING A COMPACT DISC
- Always protect a disc against scratches, soil , dust and etc. If a disc is treated with reasonable care, wiping off the disc with a soft cloth should be the only maintenance needed to retain its excellent sound reproduction. Discs should be retained in their original case during periods of non-use.
- Handle a disc only by its edges, Do not touch the surface or rainbow-colored side of the disc
- Handle a disc as shown in the illustrations in this section
- Use a soft cloth to wipe a disc clean. Do not use benzene, thinner, or other chemical cleaners to clean the disc as damage may result. A disc should always be wiped in a straight line from its center to its edge. Never wipe a disc in a circular motion.
- Do not expose a disc to direct sunlight, high humidity, or high temperatures for extended periods of time. Do not place the Disc on other equipment or near any heat source.
- Dust on the pickup lens can lead to erratic operation and interruption of the sound during play. To clean the pickup lens, open the disc compartment and blow the dust off . Using a camera lens blower(available at most camera stores)
- Note: Do not touch the surface of the lens. Do not allow any liquids on the inside of the product.
- To clean the CD player cabinet, use a soft and damp cloth to wire off the exterior surface.
- Never use benzol, benzene, or other strong chemical cleaners, as these could damage the finish.

PLAYING A COMPACT DISC (CD)
NOTE: Never touch the laser lens inside of the CD compartment. Clean the laser lens with a CD cleaner disc if it becomes dirty.
- Press the Standby button to turn on the unit
- Press the Function Switch to CD mode.
- Open the CD DOOR and insert a CD into the tray with printed label side facing up.
- Close the CD DOOR and the disc will rotate for a few seconds and then stop.
- Use the
or
button to choose a track - Press the
BUTTON to start play - Press the
BUTTON again to PAUSE play. - To stop the album temporarily, press PAUSE button, to resume, press again
RANDOM PLAY
- In CD stop mode, Press the REPEAT button on the remote until “RAND” will appear on LCD Display.
- Then it will enable random tracks play.
REPEAT FUNCTION
- Press the MODE button on the remote once during playback, the ” ” sign will show on LCD display. The same track will be repeated over and over.
- Press the MODE button on the remote a second time to repeat all tracks. The ” ALL” sign will show on the LCD display.
- To cancel REPEAT PLAY, Press the MODE button on the remote repeatedly until the all sign disappeared.
REVERSE/FORWARD
- The CD Reverse
and CD Forward
Buttons can be used to jump to a different track number or to scan disc tracks at high speed. - Press the CD Reverse
button once to hear the beginning of the current track. Press it two or more times to hear previous tracks on the disc. - Press the CD
button to hear the next track on the disc. - Press and hold the Button, the current track will be scanned and move backwards to the previous track(s); When the desired track section is found, release the button and normal play will resume.
- Press and hold the
Button, the current track will be scanned and move forward to the next track(s); When the desired track section is found, release the selected button and normal play will resume.
PROGRAM FUNCTION
The Program feature can be used to program up to 20 tracks to play in a selected order.
- While in the stop mode only (CD is not playing), press the PROG/TIME SET Button, LCD Display will show the wording “PROGRAM 01” and “PROGRAM 01” starts to flash.
- Press the
or
button to allocate the desired track. - Press the PROG/TIME SET BUTTON to select and store the track into memory.
- Repeat step 2 to 3 to select up to 20 tracks.
- To play the selected tracks (in the program mode), press the
BUTTON. The track number and the “PROGRAM” appear on LCD Display. - Press the
button to hear the previous or press the
buttons to hear next program track.
Note: After all of the programmed tracks have played, the CD player will return to the stop mode. - To clear the programmed tracks from memory, press STOP Button until “PROGRAM” icon disappeared.
AUX INPUT JACK
- Touch the STANDBY button to turn on the unit.
- Touch the FUNCTION button to AUX mode
- Connect the AUX connect wire from the out jack of your Personal Player such as portable MP3 player to the AUX input jack.
- Play Start from your Personal Player.
HEADPHONE JACK
This unit will accept stereo headphones with a 3.5mm plug. Before connecting the headphones set the volume to minimum level as not to damage your ears or the headphones. Connect the headphones to the headphones jack. The speakers will be automatically disconnected. Warning: Prolonged exposure to high sound levels may permanently damage your hearing. You may not hear some warning sound while wearing these headphones.
SNOOZE FUNCTION
If you want to snooze a few more minutes press the SNOOZE BUTTON on the remote will deactivate the sound for approximately 9 minutes.
Please notice – All products are subject to change without any notice. We take reservations for errors and omissions in the manual.
ALL RIGHTS, COPYRIGHT DENVER ELECTRONICS A/S


Electric and electronic equipment and included batteries contains materials, components and substances that can be hazardous to your health and the environment, if the waste material (discarded electric and electronic equipment and batteries) is not handled correctly.
Electric and electronic equipment and batteries is marked with the crossed out trash can symbol, seen below. This symbol signifies that electric and electronic equipment and batteries should not be disposed of with other household waste, but should be disposed of separately.
As the end user it is important that you submit your used batteries to the approriate and designated facility. In this manner you make sure that the batteries are recycled in accordance with legislature and will not harm the environment.
All cities have established collection points, where electric and electronic equipment and batteries can either be submitted free of charge at recycling stations and other collection sites, or be collected from the households. Additional information is available at the technical department of your city.
Hereby, Inter Sales A/S declares that the radio equipment type MC5220 is in compliance with Directive 2014/53/EU. The full text of the EU declaration of conformity is available at the following internet address: www.denver-electronics.com and then click the search ICON on topline of website. Write modelnumber: MC5220 Now enter product page, and red directive is found under downloads/other downloads
Operating Frequency Range: FM 88-108 MHz
Max Output Power: 6W
DENVER ELECTRONICS A/S
Omega 5A, Soeften
DK-8382 Hinnerup
Denmark
www.facebook.com/denverelectronics




















