2882518 Solo Saddlebag Kit
Instruction Manual
BEFORE YOU BEGIN
Read these instructions and check to be sure all parts and tools are accounted for. Please retain these installation instructions for future reference and parts ordering information.
APPLICATION
Verify accessory fitment at Polaris.com
KIT CONTENTS
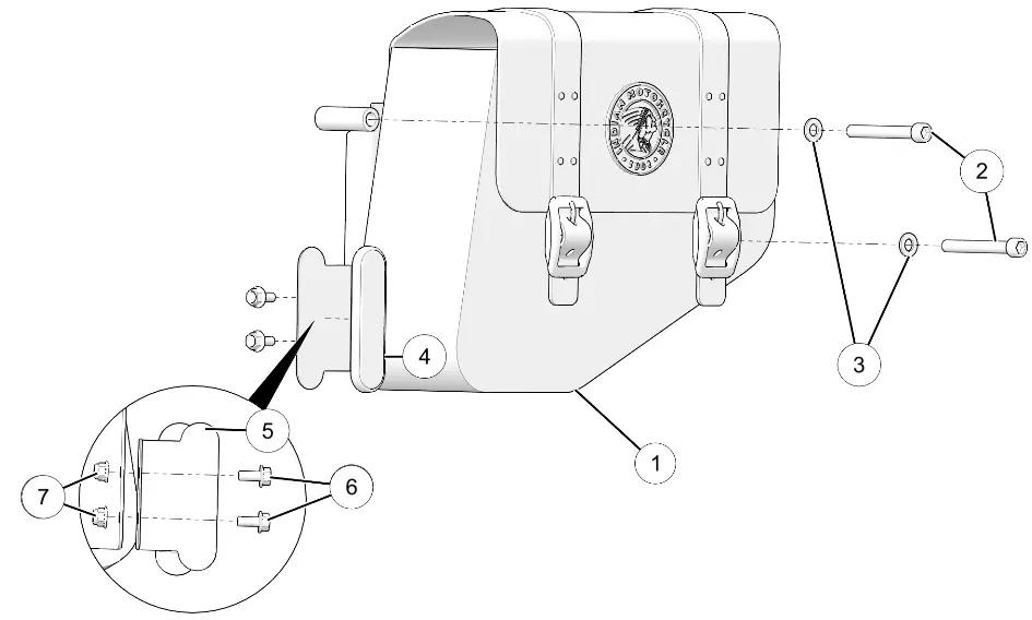
This Kit includes:

| REF | QTY | PART DESCRIPTION | P/N AVAILABLE SEPARATELY | AVAILABLE SERVICE KIT |
| 1 | 1 | Saddlebag Assembly | – | |
| 2 | 2 | Screw, Socket Head, M8 X 1.23 X 65 mm | – | 2207548 |
| 3 | 3 | Washer, 8.4 X 16 X 1.6 mm | – | 2207548 |
| 4 | 1 | Reflector, Red, Oval | – | 2207548 |
| 5 | 1 | Bracket, Reflector | – | 2207548 |
| 6 | 2 | Screw, Hex Flange, M6 X 1 X 14 mm | – | 2207548 |
| 7 | 2 | Nut, Hex Flange, M6 X 1 mm | – | 2207548 |
TOOLS REQUIRED
- Socket Set, Metric
- Torque Wrench
IMPORTANT Your Indian Motorcycle® Solo Saddlebag Kit is exclusively designed for your vehicle. Please read the installation instructions thoroughly before beginning. Installation is easier if the vehicle is clean and free of debris. For your safety, and to ensure a satisfactory installation, perform all installation steps correctly in the sequence shown.
INSTALLATION INSTRUCTIONS
- Ensure the motorcycle is parked on a flat surface, the kickstand is fully extended, and the vehicle is stable prior to installation.
Turn the key or ignition switch to the OFF position and remove the key.
SOLO SADDLEBAG INSTALLATION
IMPORTANT
Motorcycle visibility requirements vary from location to location. Please review the requirements in your area prior to installing the supplied reflector on your saddlebag.
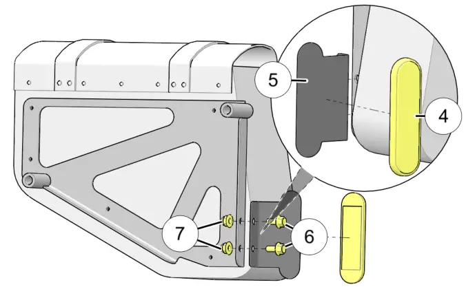
- Assemble the reflector bracket.
a. Adhere reflector 5 to reflector bracket 6.
TIP
Allow 24 hours for the adhesive to cure before exposing the reflector 4 to water.
b. Install reflector bracket t onto saddlebag5 bracket using two screws y and two nuts 7.
Torque two screws 6 to specification.
TORQUE
Screw, Hex Flange, M6 X 1 X 14 mm 6: 84 in-lbs (9.5 N·m)
- Remove and discard two screws A from rear frame B.

- Mount solo saddlebag 1 with two screws 2 and two washers 3 to rear frame B. One screw mounts from the inside of the bag while the other mounts from the outside of the bag. Torque two screws 2 to the specification below.
TIP
Use a pen or similar as a placeholder for one screw while installing the other to keep the rear frame in place.
TORQUE
Screw, Socket Head, M8 X 1.23 X 65 mm 2: 18 ft-lbs (24 N·m)
FEEDBACK FORM
A feedback form has been created for the installer to provide any comments, questions, or concerns about the installation instructions. The form is viewable on mobile devices by scanning the QR code or by clicking HERE if viewing on a PC.
https://form.jotform.com/61263903942153?&number=9927770&revision=R02
Instr 9927770
Rev 02 2021-10






















