
LRS885 Reciprocating Saw
Owner’s Manual
Owner’s Manual & Safety Instructions
Reciprocating Saw
WARNING
Read this manual before using this product. Failure to do so can result in serious injury. SAVE THIS MANUAL.
Circular Saw
Owner’s Manual & Safety Instructions
General Power Tool Safety
WARNING: Read all safety warnings and instructions. Failure to follow the warnings and instructions may result in electric shock, fire, and/or serious injury.
Save all warnings and instructions for future reference. The term power tool in the warnings refers to your mains-operated (corded) power tools or battery-operated (cordless) power tools.
- Work Area Safety
a. Keep the work area clean and well-lit. Cluttered or dark areas invite accidents.
b. Do not operate power tools in explosive atmospheres, such as in the presence of flammable liquids, gases, or dust. Power tools create sparks that may ignite dust or fumes.
c. Keep children and bystanders away while operating a power tool. Distractions can cause you to lose control. - Electrical Safety
a. Power tool plugs must match the outlet. Never modify the plug in any way. Do not use any adapter plugs with grounded power tools. Unmodified plugs and matching outlets will reduce the risk of electric shock.
b. Avoid body contact with grounded surfaces such as pipes, radiators, ranges, and refrigerators. There is an increased risk of electric shock if your body is grounded.
c. Do not expose power tools to rain or wet conditions. Water entering a power tool will increase the risk of electric shock.
d. Do not abuse the cord. Never use the cord for carrying, pulling or unplugging the power tool. Keep the cord away from heat, oil, sharp edges, or moving parts. Damaged or entangled cords increase the risk of electric shock.
e. When operating a power tool outdoors, use an extension cord suitable for outdoor use. The use of a cord suitable for outdoor use reduces the risk of electric shock.
f. If operating a power tool in a damp location is unavoidable, use a residual current device (RCD) protected supply. The use of an RCD reduces the risk of electric shock.
NOTE: The term residual current device (RCD) may be replaced by the term ground fault circuit interrupter (GFCI) or earth leakage circuit breaker (ELCB). - Personal Safety
a.Stay alert, watch what you are doing, and use common sense when operating a power tool. Do not use a power tool while you are tired or under the influence of drugs, alcohol, or medication. A moment of inattention while operating power tools may result in serious personal injury.
b.Use personal protective equipment. Always wear eye protection. Protective equipment such as dust masks, non-skid safety shoes, hard hat, or hearing protection used for appropriate conditions will reduce personal injuries.
c.Prevent unintentional starting. Ensure the switch is in the off-position before connecting to a power source and/or battery pack, picking up, or carrying the tool. Carrying power tools with your finger on the switch or energizing power tools that have the switch on invites accidents.
d.Remove any adjusting key or wrench before turning the power tool on. A wrench or a key left attached to a rotating part of the power tool may result in personal injury.
e. Do not overreach. Keep proper footing and balance at all times. This enables better control of the power tool in unexpected situations.
f.Dress properly. Do not wear loose clothing or jewelry. Keep your hair, clothing, and gloves away from moving parts. Loose clothes, jewelry or long hair can be caught in moving parts.
g.If devices are provided for the connection of dust extraction and collection facilities, ensure these are connected and properly used. The use of dust collection can reduce dust-related hazards. - Power Tool Use and Care
a. Do not force the power tool. Use the correct power tool for your application. The correct power tool will do the job better and safer at the rate for which it was designed.
b. Do not use the power tool if the switch does not turn on and off. Any power tool that cannot be controlled with the switch is dangerous and must be repaired.
c. Disconnect the plug from the power source and/or the battery pack from the power tool before making any adjustments, changing accessories, or storing power tools. Such preventive safety measures reduce the risk of starting the power tool accidentally.
d. Store idle power tools out of the reach of children and do not allow persons unfamiliar with the power tool or these instructions to operate the power tool.
Power tools are dangerous in the hands of untrained users.
e. Maintain power tools. Check for misalignment or binding of moving parts, breakage of parts, and any other condition that may affect the power tools’ operation. If damaged, have the power tool repaired before use. Many accidents are caused by poorly maintained power tools.
f. Keep cutting tools sharp and clean. Properly maintained cutting tools with sharp cutting edges are less likely to bind and are easier to control.
g. Use the power tool, accessories and tool bits, etc. in accordance with these instructions, taking into account the working conditions and the work to be performed. Use of the power tool for operations different from those intended could result in a hazardous situation. - Battery Tool Use and Care
a. Recharge only with the charger specified by the manufacturer. A charger that is suitable for one type of battery pack may create a risk of fire when used with another battery pack.
b. Use power tools only with specifically designated battery packs. The use of any other battery packs may create a risk of injury and fire.
c. When the battery pack is not in use, keep it away from other metal objects, like paper clips, coins, keys, nails, screws or other small metal objects that can make a connection from one terminal to another. Shorting the battery terminals together may cause burns or a fire.
d. Under abusive conditions, liquid may be ejected from the battery; avoid contact. If contact accidentally occurs, flush with water. If liquid contacts the eyes, additionally seek medical help. Liquid ejected from the battery may cause irritation or burns.
e. Have your power tool serviced by a qualified repair person using only identical replacement parts. This will ensure that the safety of the power tool is maintained.
f. Working in especially dusty environments can lead to failure of the power tool. If the power tool suddenly fails, remove the carbon brushes and check them.
g. Do not open the battery. Protect the battery against heat, continuous intense sunlight, fire, water, and moisture. Take care of the danger of explosion and short-circuiting. - Specific Safety Rules for Reciprocating Saw
- Hold the power tool by the insulated gripping surfaces when performing an operation where the cutting accessory may contact hidden wiring or its own cord. The cutting accessory contacting a “live” wire may make exposed metal parts of the power tool “live” and shock the operator.
- Keep hands away from the sawing area. Do not grip under the workpiece. Risk of injury if contact is made with the saw blade!
- Make sure the cutting support always rests on the workpiece when sawing. The saw blade may snag, causing the operator to lose control of the power tool.
- After completing the cutting operation, switch off the power tool and withdraw the saw blade from the cut only after the blade has come to a complete stop. In this way, you will avoid any kickback and you can now safely put the power tool down.
- Use only undamaged saw blades that are in perfect condition. Bent or blunt saw blades may break or cause a kickback.
- After switching off, do not attempt to break the saw blade by applying lateral counter pressure. The saw blade may incur damage, break or cause a kickback.
- Clamp the material so that it is firmly secured. Do not support the workpiece with your hand or foot. Do not touch any objects or the ground with the saw while it is running. Risk of kickback!
- Use suitable detectors to detect concealed power supply cables or consult your local supply company. Contact with electric cables may result in a fire and/or electric shock. A damaged gas pipe may cause an explosion. Cutting into a water pipe will cause damage to property or may cause an electric shock.
- When working, hold the power tool firmly with both hands and ensure that you have a secure footing. The power tool is controlled more securely if held with both hands.
- Keep the workplace clean. Material mixtures are especially dangerous. Light metal dust may burn or explode.
Causes and operator prevention of kickback:
a. Kickback is a sudden reaction to a pinched, bound, or misaligned saw blade, causing an uncontrolled saw to lift up and out of the workpiece toward the operator.
b. When the blade is pinched or bound tightly by the kerf closing down, the blade stalls and the motor reaction drives the unit rapidly back toward the operator;
c. If the blade becomes twisted or misaligned in the cut, the teeth at the back edge of the blade can dig into the top surface of the wood causing the blade to climb out of the kerf and jump back toward the operator.
Kickback is the result of saw misuse and/or incorrect operating procedures or conditions and can be avoided by taking proper precautions as given below.
a. Maintain a firm grip with both hands on the saw and position your arms to resist kickback forces. Position your body to either side of the blade, but not in line with the blade.
b. When the blade is binding, or when interrupting a cut for any reason, release the trigger and hold the saw motionless in the material until the blade comes to a complete stop. Never attempt to remove the saw from the work or pull the saw backward while the blade is in motion or kickback may occur.
c. When restarting a saw in the workpiece, center the saw blade in the kerf and check those saw teeth are not engaged in the material.
d. Support large panels to minimize the risk of blade pinching and kickback.
e. Do not use dull or damaged blades. Unsharpened or improperly set blades produce narrow kerf causing excessive friction, blade binding, and kickback.
f. Blade depth and bevel adjusting locking levers must be tight and secure before making a cut. If blade adjustment shifts while cutting, it may cause binding and kickback.
g. Use extra caution when sawing into existing walls or other blind areas. The protruding blade may cut objects that can cause kickback. Service Have your power tool serviced by a qualified repair person using only identical replacement parts. This will ensure that the safety of the power tool is maintained.
SYMBOLS
a. Some of the following symbols may appear on this product. Study these symbols and learn their meanings. Proper interpretation of these symbols will allow for more efficient and safer operation of this product.
| SYMBOL | DESCRIPTION |
| Read the manual before set-up and/or use. | |
| Wear safety glasses | |
![]() | Use a dust mask. Dust which is injurious to health can be generated when working on wood and other materials. Never use the device to work on any materials containing asbestos. |
![]() | Do not dispose of household waste. |
![]() | Conforms to relevant safety standards. |
Technical Specification
| Rated Voltage: | 20V |
| No-load Speed: | 2600min-1 |
| Stroke length: | 25mm |
| Cutting capacity: | 150mm |
Function Description
- Cutting Shoe
- Quick Release Blade Clamp
- Front Handle
- Cutting Support Lock
- Switch ON/OFF
- Trigger
- Rear Handle
- Release Button for Battery
- State of Battery Indicator
Assembly
Installing the Battery
Press the button of the battery, and then insert the charged battery from the front into the base of the power tool. Push the battery completely into the base until the red stripe can no longer be seen and the battery is securely locked.
NOTE: Use only original lithium-ion batteries with the voltage listed on the nameplate of your power tool. Using other batteries can lead to injuries and pose a fire hazard.
Removing the Battery
Press the button of the battery, and then pull the battery from the machine into the base of the power tool.
NOTE: Please remove the battery from the machine before operating the following installations.
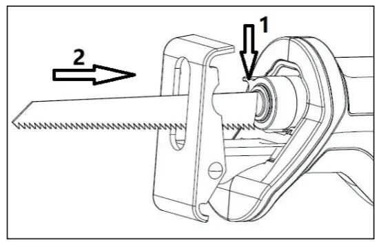
Install/Replace the Saw Blades
WARNING: Remove the battery before carrying out any work on the power tool.
CAUTION: Used cutting accessories may become hot. Wear protective gloves! Select a saw blade to suit the material to be machined.
- Open the tool holder lock and press down.
- Insert the saw blade into the tool holder and push in as far as it will go.
- Close the tool holder lock.
Change the Cutting Shoe
WARNING: Remove the battery before carrying out any work on the power tool. The cutting support should always rest on the material when sawing so as to avoid excessive vibrations.
- Press the cutting support lockdown.
- Adjust the cutting support to the required depth.
- Release cutting support lock.
Operation Switch On and Off
The power tool switch allows the operator to increase the stroke rate slowly up to the maximum setting.
To Switch On: Press and hold down the switch. Then pull the trigger.
To Switch Off: Release the trigger and switch.
Adjusting the Speed
The speed of the switched-on power tool can be variably adjusted, depending on how far the On/Off switch is pressed. Light pressure on the On/Off switch results in a low rotational speed. Further pressure on the switch results in an increase in speed.
Application
WARNING:Always hold the power tool firmly with both hands!
Whenever possible, clamp the workpiece to be cut in a vice. The saw has cutting support. This helps to reduce vibrations. It also enables square cuts to be made. After the power tool has been switched off, the saw blade continues running briefly. Never touch the saw blade straight after use as it may be very hot. Sawing Metal When sawing metal, use lubricant along the cutting line. This stops the material from overheating.
Sawing Wood
Place the saw square on the workpiece. Guide the saw with uniform pressure through the wood, pressing the cutting support against the workpiece in the process. Plunge Cuts The saw is suitable for plunge cuts in wood and plastic. Use only short saw blades (<150mm) to perform plunge cuts! Switch on orbital stroke to perform plunge cuts. Place the saw on the workpiece with the bottom edge of the cutting support in such a way that the saw blade does not touch the workpiece.
Maintenance
a. Keep the machine clean all the time.
b. If you discover any damage, consult the exploded drawing and parts list to determine exactly which replacement part you need to order from our customer service department.
c. Clean the housing only with a damp cloth. Do not use any solvents! Dry thoroughly afterward.
d. If the supply cord of this power tool is damaged, it must be replaced by a similar cord available through the service organization or a qualified authoritative technician.
CAUTION Do not use cleaning agents to clean the plastic parts of the tool. A mild detergent on a damp cloth is recommended. Water must never come into contact with the tool.
Transport
Turn the motor off and disconnect the mains plug or battery. While transporting, be careful not to drop, or shock the machine. For transport, the machine has to be fixed against slipping and tipping over. Do not place objects on the machine.
Meaning of crossedout wheeled dustbin:
Do not dispose of electrical appliances as unsorted municipal waste, use separate collection facilities. Contact your local government for information regarding the collection systems available. If electrical appliances are disposed of in landfills or dumps, hazardous substances can leak into the groundwater and get into the food chain, damaging your health and well-being.
CE DECLARATION OF CONFORMITY
TOOL SAVE Unit C, Manders Ind. Est, Old Heath Road, Wolverhampton, WV1 2RP. Tel: 01902 450 470
Declares that the Torch (LT1000)
Is in compliance with the regulations included in the Directives:2006/42/EC
EC DECLARATION OF CONFORMITY
Certificate for EC-type examination delivered by Intertek Testing Services Hangzhou 16
No. 1 Ave., Xiasha Economic Development District, Hangzhou 310018, China (Verification No.:150500566HZH VI 1
A person who declares: Bill Evans
LUMBERJACK TOOLS
UNIT C MANDERS INDUSTRIAL
ESTATE WOLVERHAMPTON WV1 2RP
WWW.LUMBERJACKTOOLS.CO.UK![]()




















