TOMY 35905 ERTL Big Farm 1 16 Case IH Maxxum RC Tractor
SAFETY PRECAUTIONS
(Keep manual for future reference)
This toy is not recommended for children under the age of 8 years old. Please read all of the instructions contained within before operating this toy. Always follow general safety rules while operating this toy. General guidelines include: avoid hitting pets, people, and furniture. Do not pick up the toy while it is in motion. Keep hands, hair, and clothing away from this vehicle when the power switch is in the ON position. Remove all batteries prior to storing the vehicle. Avoid tire contact with painted or varnished surfaces.
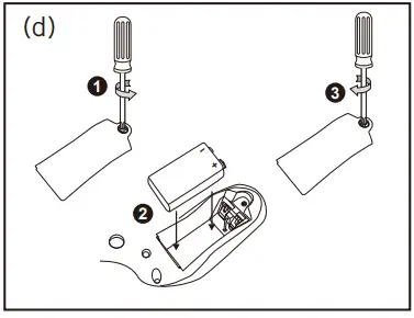
Battery Requirements and Installation
- To operate this toy, four AA batteries are required (included).
- With Phillips screwdriver, remove the screw from the battery cover.
- Remove the battery cover.

- Install the 4 batteries into the correct slots. Make sure that the batteries are properly aligned into the slots.

- Replace the battery cover.
- There are three switch positions on the bottom of the tractor, ON-S, Try Me, & ON. ON-S & ON are the switch positions for radio control function.

- The ON-S switch position is for radio control function with light & engine sound.
- The ON switch position activates the radio control mode without the engine sound. The Try Me switch position is
To operate the transmitter, you will need a 9 volt battery (included.)
- With Phillips screwdriver, remove the screw from the battery cover.

- Install the 9 volt battery. Make sure that the polarities are properly aligned.
- Replace the battery cover.
- Move the power button to ‘ON’ position. PLEASE NOTE: The vehicle power switch must be in the ON-S or ON position to receive commands from the transmitter.

Safety Precautions
• Batteries must be removed, charged and inserted under adult supervision
• Do not attempt to recharge non-rechargeable batteries
• Take special care to ensure batteries are inserted correctly, observing (+) and (-) marks on battery and product
• Remove exhausted batteries from product and dispose of properly
• Do not short-circuit the supply terminals
• Do not mix old (used) and new batteries or batteries of different types, e.g. alkaline, standard (carbon-zinc), rechargeable (e.g. NiMH), or batteries of a different make/brand
• Do not dispose of batteries in fire as they may explode or leak
• Rechargeable batteries are to be removed from the product before being charged
Operational Guidelines
- Best operation for this vehicle is on a textured paved surface
- Always operate the toy within a ideal range of 40 feet from the transmitter
- Always operate your toy on dry surfaces AWAY from cars and other full-size motor vehicles
- Always store your vehicle in a cool, dry location off painted or varnished surfaces
- Avoid operating the toy around CB radios, high voltage electrical wires, and large steel buildings
- Avoid running two vehicles with the same frequency at the same time
- Avoid all contact with water
Operating Multiple Vehicles Without Interference
- Vehicle: Move the ON/OFF switch to the ON position.
- Controller: Move the ON/OFF switch to the ON position. The indicator light will light up.
- Place the vehicle on ground and point the Controller directly at the vehicle. The LED light on controller will flash when pairing with the vehicle. Pairing process is completed when the LED light is changed to GREEN.
- Use the controller to drive.
- When LED light on controller keeps flashing, switch off both vehicle and controller and repeat the pairing process.
FCC
U.S. FCC Warning: Changes or modifications to this unit not expressly approved by the party responsible for compliance could void the user’s authority to operate the equipment. NOTE: This equipment has been tested and found to comply with the limits for a Class B digital device, pursuant to Part 15 of the FCC Rules. These limits are designed to provide reasonable protection against harmful interference in a residential installation. This equipment generates, uses and can radiate radio frequency energy and, if not installed and used in accordance with the instructions, may cause harmful interference to radio communications. However, there is no guarantee that interference will not occur in a particular installation. If this equipment does cause harmful interference to radio or television reception, which can be determined by turning the equipment off and on, the user is encouraged to try to correct the interference by one or more of the following measures:
- Reorient or relocate the receiving antenna.
- Increase the separation between the equipment and receiver.
- Connect the equipment into an outlet on a circuit different from that to which the receiver is connected.
- Consult the dealer or an experienced radio/TV technician for help.
This device complies with Part 15 of the FCC Rules. Operation is subject to the following two conditions:
- this device may not cause harmful interference, and
- this device must accept any interference received, including interference that may cause undesired operation.
Canada RSS-210
- This device contains license-exempt transmitter(s)/receiver(s) that comply with Innovation, Science, and Economic
- Development Canada’s license-exempt RSS(s). Operation is subject to the following two conditions:
- This device may not cause interference.
- This device must accept any interference, including interference that may cause undesired operation of the device.
Note to Consumer:
Under extreme play conditions in the rare circumstance that your toy should overheat; the toy will automatically shut off. If this occurs, allow the unit to cool off for a few minutes before operating
























