Cylinda SK161-16 solo cooker Hood
ELECTRICAL INSTALLATION
In order to avoid a potential hazard, installation, replacement of cables or other types of connection should be carried out by a qualified professional. Electrical connection for 230 V~ earthed. Max. connection power 300 W at 230 V. Output voltage from transformer 60, 80,100, 130, 145 and 180 V. At delivery 100 and 130 V are connected. The connection must be secured and the cooker hood must be preceded by an omnipolar switch. The junction box or wall socket must be accessible after installation is complete. If the connector is damaged, it must be replaced with an equivalent special cable from the manufacturer or their service agent.
INSTALLATION

ADJUSTING AIR FLOW
Note!
Damper adjustment or speed changes must be carried out by a qualified professional.
Adjusting damper:
Basic ventilation is set by moving the sliding damper. The damper becomes accessible for adjustment by removing the grease filter.
Changing voltage in the transformer:
The output power for the lowest speed can be changed to 80 V by reprogramming via the switch. (Contact Franke Service).
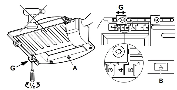
Basic ventilation
Open the damper by pressing button B. Loosen stop lug G by rotating it 180° (Torx/ star screwdriver 10). Set the stop lug to the desired position. The markings on the
damper correspond to the values in the “Basic fl ow” diagram – see following pages. The marking in the picture corresponds to position G4 in the diagram. Lock the stop lug. N.B. Make sure the lug is fully locked. Close the damper by pressing button B on the circuit breaker. Measure the pressure (Pm) at test point A to check that the fl ow is as required.
Forced ventilation
Loosen stop lug F by rotating it 180° (Torx/star screwdriver 10). Set the stop lug to the desired position. The markings on the damper correspond to the values in the “Forcing fl ow” diagram – see following pages. The marking in the picture corresponds to position F8 in the diagram. Lock the stop lug. N.B. Make sure the lug is fully locked. Open the damper by pressing button B on the circuit breaker. Measure the pressure (Pm) at test point A to check that the fl ow is as required.
FORCED VENTILATION
Adjusting diagram 
LpW=The A-measured sound pressure level relatively 1pW
LpA=The A-measured sound pressure level at 10 m² Sabin
| K-factor | 6 | 7 | 8 | 9 | 10 | 11 | 12 |
| 2,82 | 4,50 | 4,99 | 5,50 | 6,51 |
Dimensioning diagram 
BASIC VENTILATION
Adjusting diagram 
LpW=The A-measured sound pressure level relatively 1pW
LpA=The A-measured sound pressure level at 10 m² Sabin
| K-factor | 1 | 2 | 3 | 4 | 5 | 6 | 7 |
| 0,49 | 0,77 | 1,14 | 1,77 | 2,36 | 2,82 | 3,59 |
Dimensioning diagram 
























