Clarke RANGER 7-260 Oil Free Air Compressor

WARNING: Do not use the compressor without reading this manual
MODEL NO: RANGER 7-260
PART NO: 2242030
INTRODUCTION
Before you use this product, read this manual and follow the instructions carefully. In doing so you will ensure the safety of yourself and others around you, and you can also expect your purchase to give you a long and satisfactory service.
SPECIFICATIONS
- Max Pressure 8 Bar/116 psi
- Voltage 230 VAC (50 Hz)
- Air Displacement 7.8 CFM
- Receiver Capacity 24 L
- Flow rate 220L/min
- Ingress protection IP20
- Fuse Rating 13 A
- Dimensions (L x W x H) 546 x 352 x 560 mm
- Guaranteed Sound Power Level 96 dB(A)
- Weight 22.7 kg
Please note that the details and specifications contained herein, are correct at the time of going to print. We reserve the right to change specifications at any time without prior notice.
GUARANTEE
This product is guaranteed against faulty manufacture for a period of 12 months from the date of purchase. Please keep your receipt which will be required as proof of purchase.
This guarantee is invalid if the product is tampered with in any way, or not used for the purpose for which it was intended.
Faulty goods should be returned to their place of purchase, no product can be returned to us without prior permission. This guarantee does not effect your statutory rights.
GENERAL SAFETY WARNINGS
WARNING: WHEN USING ELECTRICAL TOOLS, BASIC SAFETY PRECAUTIONS SHOULD ALWAYS BE FOLLOWED TO REDUCE THE RISK OF FIRE, ELECTRIC SHOCK AND PERSONAL INJURY
WARNING: READ ALL THESE INSTRUCTIONS BEFORE ATTEMPTING TO OPERATE THIS PRODUCT AND KEEP THESE INSTRUCTIONS IN A SAFE PLACE.
WORK AREA
- Keep the work area clean and well-lit. Floors should always be kept clear. Cluttered or dark areas invite accidents.
- Keep children and bystanders away while operating a compressor. Distractions can cause loss of control.
- The compressor should only be used in areas with adequate ventilation and should not be exposed to heat or used near flammable substances
PERSONAL SAFETY
- ALWAYS stay alert, watch what you are doing and use common sense when operating the compressor. DO NOT use the compressor while you are tired or under the influence of medication, drugs or alcohol. A moment of inattention can result in personal injury.
- ALWAYS use eye protection when operating compressed air equipment, and ensure that others in the work area are protected from flying particles from the front and from the side.
- ALWAYS protect yourself against electric shock. NEVER operate the compressor in wet or damp locations.
- NEVER over-reach. Keep your proper footing and balance at all times to enable better control of the compressor in unexpected situations.
- NEVER attempt any complex repairs yourself. If you have a technical problem contact your local CLARKE dealer.
- ALWAYS store the compressor out of reach of children.
- ALWAYS protect your hearing. Ear protection should be worn when operating this compressor and it’s associated air tools.
- NEVER direct the air stream at people or animals, as injury may result. Compressed air can cause soft tissue damage and propel dirt and other particles at high speed.
- NEVER insert your fingers or other objects inside the motor housing. NEVER operate the compressor without the cover in place.
- NEVER touch hot surfaces. During operation, the motor, connections, compressor body, cylinder head and tubes may get hot. DO NOT touch these until the compressor has cooled down.
GENERAL MACHINE USE AND CARE
- Prior to use, all operators should become familiar with the instructions in this booklet especially the ON/OFF switch for emergency stopping.
- ALWAYS maintain the compressor with care and keep it clean for best /safest performance.
- NEVER use this compressor if any part is damaged. Have it inspected and repaired by your CLARKE dealer.
- NEVER attempt to modify the air compressor, tank, fittings or attachments in any way. Doing so will invalidate the guarantee and could result in personal injury.
- NEVER abuse the power cable. NEVER pull on the cable when removing the plug from the socket, or lift the compressor by the power cable.
- ONLY use extension leads that are of an appropriate power rating and suitable for the work environment. Extension leads must have an earth connection. Inspect the extension lead regularly and replace if damaged.
- ONLY USE RECOMMENDED PARTS: To avoid the risk of bursting, only hoses with a rated pressure of 10 bar, or more should be used. Never attempt to repair damaged hoses.
- NEVER abuse the compressor by standing on it.
AIRLINE HOSES
- ALWAYS ensure that equipment or power tools used in conjunction with the compressor have a safe working pressure exceeding that of the machine.
- ALWAYS keep the air hose away from any attached air tools and ensure that the operator is not restricted by the length of the hose.
- ALWAYS take care when a long air hose is required in the work area as it presents a trip hazard. Coil the hose away as soon as the job is finished.
- ALWAYS avoid kinking or trapping the air hose. ALWAYS replace faulty hoses and never attempt a repair if a leak is detected.
- NEVER abuse hoses or connectors. NEVER carry an air tool by the hose, or yank it to disconnect from the air supply. Keep hoses away from heat, oil and sharp edges. Check hoses for leaks or worn condition before use and ensure that all connections are secure.
- ALWAYS ensure that the air supply is turned off at the machine outlet and any air pressure vented from within the compressor and any attached equipment when disconnecting air hoses or other equipment.
AIR COMPRESSOR SAFETY INSTRUCTIONS
- ONLY USE WITHIN THE RECOMMENDED OPERATING TEMPERATURE RANGE: This compressor should only be used in an ambient temperature of between +5OC and +40OC (never at or below freezing temperatures).
- NEVER USE AN AIR COMPRESSOR WHICH APPEARS DEFECTIVE OR IS OPERATING ABNORMALLY: If the compressor operates unusually or makes strange noises, switch off immediately and purge the air reservoir. Arrange repairs with your nearest CLARKE dealer.
- BREATHING QUALITY AIR: This compressor should not be used to supply breathing quality air.
- SAFETY VALVE: NEVER remove or attempt to adjust the safety valve. The maximum pressure is factory set. Keep the safety valve free from paint and other accumulations.
- AVOID UNINTENTIONAL STARTING: DO NOT move the compressor when it is connected to the mains power supply. When connecting the compressor to the power supply make sure the red button on top of the control box is in the OFF (down) position.
- BEFORE EACH USE CHECK THE COMPRESSOR AND HOSE FOR DAMAGED PARTS: NEVER use the compressor if it has been damaged in any way. Have the compressor repaired by a qualified service engineer. DO NOT use the compressor if the On/Off switch does not operate correctly.
- KEEP THE MOTOR AIR VENTS CLEAR: Wipe regularly to maintain an adequate supply of clean air. Avoid using in dusty conditions.
- OPERATE THE COMPRESSOR AT THE CORRECT VOLTAGE: Make sure that the mains supply voltage is the same as the voltage shown on the label.
- ALWAYS adjust the pressure regulator to the recommended setting for the particular spray gun or air tool being used.
- When using the compressor for painting:
DO NOT work in enclosed areas or near naked flames.
ENSURE that the area in which you are working has good ventilation.
Protect your nose and mouth with a suitable face mask.
ALWAYS check the safety data sheets for substances being sprayed & ensure manufacturer’s instructions are followed. - DO NOT USE THIS COMPRESSOR TO INFLATE SMALL, LOW-PRESSURE OBJECTS: Items such as children’s toys or footballs can explode if over-inflated.
- NEVER STOP THE COMPRESSOR BY REMOVING THE PLUG OR SWITCHING OFF AT THE MAINS SUPPLY: Always use the On/Off switch on the compressor.
SAFETY SYMBOLS
The following safety symbols are shown on the product or it’s packaging. Please read all of the safety and operating instructions carefully before using this product.
Read this instruction booklet carefully before positioning, operating or adjusting the compressor.
This compressor produces a high sound level during operation. Ear protection should be worn.
This compressor contains surfaces which may get hot during operation. NEVER operate with the motor housing removed.
Risk of accidental start-up. The compressor could start automatically in the event of a power cut and subsequent reset. DO NOT carry the compressor while it is connected to the power source, or when the receiver is filled with compressed air.
Risk of electric shock. The compressor must be disconnected from the mains supply before removing any covers. DO NOT use in a damp environment.
ELECTRICAL CONNECTIONS
WARNING: READ THESE ELECTRICAL SAFETY INSTRUCTIONS THOROUGHLY BEFORE CONNECTING THE PRODUCT TO THE MAINS SUPPLY.
Connect the mains lead to a standard, 230 Volt (50Hz) electrical supply through an approved 13 amp BS 1363 plug, or a suitably fused isolator switch.
If the plug has to be changed because it is not suitable for your socket, or because of damage, it must be removed and a replacement fitted, following the wiring instructions shown below. The old plug must be discarded safely, as insertion into a power socket could cause an electrical hazard.
WARNING: THE WIRES IN THE POWER CABLE OF THIS PRODUCT ARE COLOURED IN ACCORDANCE WITH THE FOLLOWING CODE: BLUE = NEUTRAL BROWN = LIVE YELLOW AND GREEN = EARTH
If the colours of the wires in the power cable do not agree with the markings on the plug:
- The BLUE wire must be connected to the terminal which is marked N or coloured black.
- The BROWN wire must be connected to the terminal which is marked L or coloured red.
- The YELLOW AND GREEN wire must be connected to the terminal which is marked E or
or coloured green.
We strongly recommend that this machine is connected to the mains supply through a Residual Current Device (RCD)
If you are not sure, consult a qualified electrician. DO NOT try to do any repairs.
PREPARATION FOR USE
UNPACKING
Take care when lifting the compressor from the packaging and obtain assistance if necessary to avoid personal injury or damage to the machine. Always use the handle and frame.
CAUTION: NEVER TAKE THE WEIGHT OF THE COMPRESSOR BY HOLDING THE PRESSURE CONTROL SWITCH OR OTHER ATTACHED PARTS.
After removing the compressor from its packaging, check that it has not been damaged in transit. Report any damage immediately to the dealer where the item was purchased.
ATTACHING THE WHEELS
- Use a suitable spanner to attach the wheels to the compressor.
- Use the washers and spring washer in the positions shown.

ATTACHING THE SUPPORT FOOT
Fit the support foot into the position shown.

BEFORE USE
Before connecting your compressor to the power supply, check the following:-
- Set the ON/OFF switch to the OFF position (pushed down).
- Ensure the compressor is standing on level ground.
- Make sure that the power supply is suitable.

POSITIONING THE COMPRESSOR
This compressor should be positioned on a stable, flat surface.
NOTE: Note: the compressor should not be operated on a steep slope or floor angle of greater than 15O.
If the compressor is placed on a shelf or raised off the ground, it should be secured appropriately to prevent it from falling off during use.
Do not cover the compressor. Always position it with good ventilation.
MOVING THE COMPRESSOR
When moving the compressor;
- Always use the handle wherever possible.
- Do not lift by (or place a strain on) the airline fittings or hoses.
- Take care to avoid damaging the valves or fittings.
- Ensure it is switched off and disconnected from the power supply.
OPERATION
If the compressor has not been used for more then 24 hours, open the drain valve on the bottom of the reservoir and drain any condensate which has collected. See page 12.
ATTACHING AIR TOOLS
WARNING: BEFORE CONNECTING AIR TOOLS, MAKE SURE THAT YOU READ THE INSTRUCTIONS SUPPLIED WITH THE TOOL, ALSO ENSURE THAT THE AIR TOOL IS SUITABLE FOR USE WITH THE COMPRESSOR AND HOSE SPECIFICATIONS.
- Attach the air hose to the ¼” BSP outlet valve.
- Attach the tool to the end of the air hose.

- Turn the outlet valve handle to the on position.
NOTE: The outlet valve is shown without the air hose fitted for clarity.
TURNING THE COMPRESSOR ON
- Plug the compressor into the power supply.
- Lift the On/Off button.
The compressor will operate until the reservoir is fully pressurized. It will then shut down.
The compressor will start up again when the pressure in the reservoir decreases.
SET THE OUTPUT PRESSURE
- Use the pressure regulator to set the output pressure of the left hand outlet valve.
Turn clockwise to increase the pressure.
Turn counterclockwise to decrease the pressure.

GAUGES
- The reservoir pressure gauge shows the current pressure in the reservoir.
- The outlet pressure gauge shows the ‘user set’ outlet pressure. This can be adjusted as shown above.

REMOVING TOOLS FROM THE AIR HOSE
WARNING: ALWAYS SET THE PRESSURE REGULATOR TO ZERO BEFORE YOU REMOVE OR REPLACE A TOOL.
- Push down on the On/Off button to stop the compressor

- Push down on the On/Off button to stop the compressor
- Turn the outlet valve handle to the off position.
- Operate the tool to depressurize the air hose.
- Disconnect the tool from the hose..

TURNING THE COMPRESSOR OFF
- Follow steps 1-3 in “Removing Tools from the Air Hose” above.
- Disconnect the compressor from the power supply.
- Slowly open the outlet valve to depressurize the reservoir.
You will hear a hissing sound as the reservoir depressurizes.
Do not leave the compressor unattended if the reservoir is pressurized.
DRAINING THE RESERVOIR
CAUTION: YOU MUST DRAIN THE RESERVOIR AFTER EACH DAYS USE AND BEFORE YOU PUT YOUR COMPRESSOR INTO STORAGE.
- Turn the compressor off and disconnect from the power supply.
- Put a container below the drain valve to collect the condensate.
- Open the drain valve slowly.
Condensation will drain from the reservoir. - Close the drain valve when the reservoir has fully drained.

RESET BUTTON
This compressor has a thermal overload device.
- If the motor gets too hot, the thermal overload device cuts the power which prevents damage to the motor.
- If the thermal overload device operates, let the motor cool down for 5 minutes and push the reset button.
- If you start the compressor and the overload cutout operates again, stop the compressor and disconnect from the power supply and have your compressor examined by a qualified service agent.

MAINTENANCE
CAUTION: ALWAYS DISCONNECT FROM THE POWER SUPPLY BEFORE CARRYING OUT ANY MANTENANCE
DRAINING THE RESERVOIR
After use, always open the drain valve to make sure that any condensate is drained off.
CLEANING THE AIR FILTER
The air filter should be examined occasionally in dusty conditions,
- Unscrew the plastic shroud from the compressor to expose the working components.
- Clean the sponge filter using a soft brush. If necessary, the filter can be carefully cleaned in warm soapy water.
Rinse and let the filter dry completely before refitting. - Refit the filter assembly before use.
If the filter is damaged it must be replaced. - Refit the plastic shroud. This should always be fitted before reconnecting and starting the compressor.
CHECKING THE NON-RETURN VALVE
If the reservoir pressure decreases for no apparent reason it is possible that the non-return valve is leaking. To check;
- Make sure that the reservoir is not under pressure and the compressor is switched OFF.
- Examine the non-return valve, and replace the gasket and valve if necessary.

ENVIRONMENTAL PROTECTION
Recycle unwanted materials instead of disposing of them as waste. All tools, accessories and packaging should be sorted and taken to a recycling center for disposed in a manner compatible with the environment.
By purchasing this product, the customer is taking on the obligation to deal with its safe disposal in accordance with the Waste Electrical and Electronic Equipment (WEEE).
In effect, this means that this product must not be disposed of with general household waste. It must be disposed of according to the laws governing Waste Electrical and Electronic Equipment (WEEE) at a recognized disposal facility. If disposing of this product or any damaged components, do not dispose of with general waste. This product contains valuable raw materials. Metal products should be taken to your local civic amenity site for recycling of metal products.
Should any components become completely unserviceable and require disposal plastic and metal should be disposed of according to local regulations.
TROUBLESHOOTING
CAUTION: DO NOT TRY TO REPAIR OR ADJUST THIS COMPRESSOR IF YOU ARE UNCERTAIN. IF YOU HAVE ANY QUERIES, CONTACT YOUR DEALER.
| PROBLEM | PROBABLE CAUSE | REMEDY |
| The compressor has stopped and does not start. | Bad electrical connection | 1.Check electrical connections. 2.Clean and tighten if necessary. |
| Overload cutout switch has tripped. | 1.Switch off and wait approx 5 minutes. 2. Press the reset button and switch on again. | |
| Motor windings burnt out. | 1.Contact your CLARKE dealer for a replacement motor. | |
| The compressor does not reach the set pressure and overheats easily. | Compressor head gasket blown or valve broken. | 1.Return the machine to your nearest CLARKE dealer. |
| Compressor does not start. | The reservoir has already fully pressurised. | 1.Open drain valve to expel air. Compressor should start again when pressure reduces. |
| Air leaking from the non-return valve when the compressor is not running. | Faulty non-return valve. | 1.Drain receiver completely of air. 2.Remove the valve end plug. 3.Carefully clean the valve seat and the gasket 4.Reassemble. |
| Air pressure from the regulator will not adjust. | The diaphragm within the regulator body is broken. | 1.Replace regulator |
| Compressor is very noisy and makes a metallic knock- ing sound. | Compressor damaged and needs overhaul. | 1.Return the machine to your nearest CLARKE dealer. |
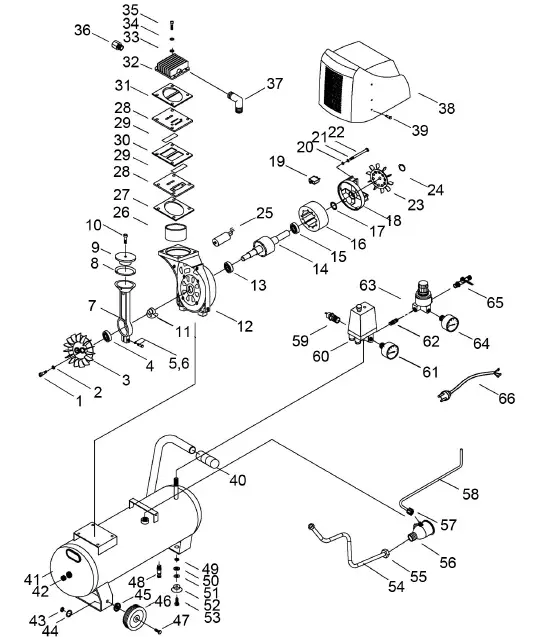
COMPONENT PARTS

| NO | DESCRIPTION |
| 1 | Bolt |
| 2 | Washer |
| 3 | Fan |
| 4 | Bearing |
| 5 | Washer |
| 6 | Bolt |
| 7 | Connecting rod |
| 8 | Seal cup |
| 9 | Pressplate |
| 10 | Bolt |
| 11 | Crankshaft |
| 12 | Crankcase |
| 13 | Bearing |
| 14 | Rotor |
| 15 | Bearing |
| 16 | Stator |
| 17 | Wave gasket |
| 18 | Bearing seat |
| 19 | Overload protector |
| 20 | Flat washer |
| 21 | Spring washer |
| 22 | Long bolt |
| 23 | Fan |
| 24 | Pin clip |
| 25 | Capacitor |
| 26 | Cylinder |
| 27 | Valve plate gasket |
| 28 | Valve plate |
| 29 | Valve reed |
| 30 | Aluminium gasket |
| 31 | Head cover gasket |
| 32 | Head cover |
| 33 | Flat Washer |
| NO | DESCRIPTION |
| 34 | Spring washer |
| 35 | Bolt |
| 36 | Air filter |
| 37 | Elbow |
| 38 | Shroud |
| 39 | Bolt |
| 40 | Handle cover |
| 41 | Tank |
| 42 | Checking hole plug |
| 43 | Hex nut |
| 44 | Spring washer |
| 45 | Flat washer |
| 46 | Wheel |
| 47 | Bolt |
| 48 | Drain valve |
| 49 | Nut |
| 50 | Spring washer |
| 51 | Flat washer |
| 52 | Foot |
| 53 | Bolt |
| 54 | Exhaust pipe |
| 55 | Hex nut |
| 56 | Check valve |
| 57 | Discharge pipe nut |
| 58 | Discharge pipe |
| 59 | Safety valve |
| 60 | Pressure switch |
| 61 | Pressure gauge(50mm) |
| 62 | Connector |
| 63 | Regulator |
| 64 | Pressure gauge(40mm) |
| 65 | Air tap |
| 66 | Power cable |
DECLARATION OF CONFORMITY – UKCA





Parts & Service: 020 8988 7400 /
E-mail: [email protected] or
[email protected]


























