Head Impact Tracker Head Sensor User Manual

Because you should know.
Congratulations for making a great choice and becoming the owner of ACT Head Impact Tracker head sensor! ACT Head Impact Tracker is designed to help you get more information on the impact forces acting on your head and track them. Read this User manual, packaging texts, warnings and safety information carefully before using the product for the first time. Save the original purchasing receipt, packaging and this User Manual for possible later use.
PRODUCT AND SERVICE DESCRIPTION
- ACT Head Impact Tracker head sensor measures impact forces acting on the head by maximum linear acceleration and deceleration (g-force). When ACT
Head Impact Tracker detects a linear impact of 10g or above, impact information is communicated by the ACT Head Impact Tracker smartphone mobile App as an in-App push-notification. - ACT Head Impact Tracker smartphone mobile App is required to operate ACT Head Impact Tracker head sensor and communicate with the Cloud. With the App you can create and manage User Account(s) and Profile(s), add an ACT Head Impact Tracker head sensor(s) on your Profile(s) and operate it, view and receive Impact information, share your Profile(s) Impact information with other Users, subscribe to Service features and functionalities and activate and manage them. ACT Head Impact Tracker smartphone mobile App can be downloaded for free and contains in-App purchases. It is available for Android 9 or newer Android operating systems only. Personalize your ACT Head Impact Tracker by additional Services, features and functionalities available for subscription. You can manage subscriptions in the App (Menu > Subscriptions). Visit our website www.act-tracker.com or Google Play for more information.
- ACT Head Impact Tracker Cloud is where the information is stored and actions mostly take place.
WARNING!
ACT Head Impact Tracker is a measuring device. ACT Head Impact Tracker products or services are not medical devices and do not provide medical advice, any kind of diagnostics or treatment suggestions for any health problem. ACT Head Impact Tracker products or services, any content or information therein, is not to be used in place of consultation of licensed medical professional. In case of a head impact, or when suspecting one or a concussion, immediately and safely leave the activity and seek help from licensed medical professionals. It is advisable to have an accompanying person if concussion is possible. In case of an emergency, call an ambulance. If you have been given medical advice by a licensed medical professional, always follow that advice despite any information or content in or from ACT Head Impact Tracker. Northern Sports Insight and Intelligence Oy or ACT Head Impact Tracker products or services are not health care specialists, and neither is communication between you and us or ACT Head Impact Tracker forming any kind of doctor – patient relationship.
WARNING!
ACT Head Impact Tracker products or services are not protective devices. They do not prevent incidents from happening and they do not protect against injuries or any kind.
QUICK START GUIDE:
- Buy a CR2032 coin cell battery for the head sensor.
- Download ACT Head Impact Tracker smartphone mobile App from Google Play on your smartphone with Android 9 or newer Android operating system. Please note: The App’s compatibility with all and every smartphone brand and model has not been tested and cannot be guaranteed. List of brands and models tested can be found in FAQ in www.act-tracker.com.
- Create a User Account in the App. Make sure to store your user-ID and password somewhere safe.
- Create a Profile in your User Account to which you want to add the head sensor to. Please note: You cannot remove or change the Profile once created.
- Ensure location services and Bluetooth are enabled, on and active in your smartphone for the App and always when using it with the head sensor. Ensure mobile data and roaming (if needed) are enabled, on and active in your mobile device for the App and always when using it with the head sensor, or that you are connected to Wi-Fi.
- Remove the head sensor from its package. Open the hatch. Add the coin cell battery by carefully sliding it underneath the silver-colored holder bridge as indicated by the arrow on the bridge + side is facing you and away from the electronics. Close the hatch by pressing all the sides firmly together to seal the locks on them. Check that the sides are seamlessly connected with each other before the use. Please note: Inserting the battery may turn the sensor on, but some components might not turn on. Before the use, switch the sensor off and back on.
- Locate the head sensor’s Serial number also acting as Registration code, which is on the product label underneath the battery hatch. Open the hatch and you can see the white sticker on the lid. Registration code is a 6-digit code on the product label.
- Turn the head sensor on by pressing the on/off-button once slowly and firmly. The sensor is on when the small red led light next to the button starts to blink in slow frequency. If the light blinks in high frequency (in fast pace), the battery is almost empty. Change the battery or ACT Head Impact Tracker might not work as intended. If the light does not come on at all or the light comes on but it is not blinking, try with new battery. If the light still is not coming on at all, or the light comes on, but it is not blinking, the head sensor is not working as it is supposed to and should be replaced.
- When the sensor is on, click “Add Sensor” button on the Profile and follow the App’s instructions. The App is connected to the sensor when it shows “Sensor Found. Add Registration code.”, fill in the Registration Code. Please note: You can register the head sensor only once, and to one Profile only. It is not possible to remove or change the head sensor to another Profile once registered.
- After the code is correctly typed, the App will confirm “Sensor is registered”. This means your ACT Head Impact Tracker is ready for action.
- In the end of each session of use, make sure to switch off the sensor by pressing on/off-button slowly and firmly twice. Wait for one long led-light blink to indicate the sensor is switched off. Doing this will prevent impacts from handling and transportation to be recorded to your impact history. Also, it will save energy and prolong your battery lifetime. See pictures for more detailed instructions.
WARNING AND IMPORTANT SAFETY INFORMATION!
– The head sensor will switch off automatically after 3 hours (180 minutes). If your activity session lasts three hours or more, make sure to switch the sensor back on every three hours.
IMPORTANT USAGE INFORMATION
– Ensure location services and Bluetooth are enabled on your mobile device for ACT Head Impact Tracker Smartphone mobile App and always when using the head sensor, or ACT Head Impact Tracker will not function.
– Ensure you have a valid SIM-card or e-SIM, mobile data, and roaming (if needed) enabled, on and active, or that you are connected to Wi-Fi, in your mobile device with ACT Head Impact Tracker smartphone mobile App always when using the head sensor. Otherwise ACT Head Impact Tracker will not function as
intended.
– Be aware of the reach limitations in data transfer between the head sensor and the mobile device with ACT Head Impact Tracker Smartphone mobile App. In case of an incident, keep the distance between the head sensor and the mobile device with the App as short as possible (the reach could be even less than 10 meters), or ACT Head Impact Tracker might not function as intended. Data transfer reach may vary significantly depending on, but not limited to: place of use, weather, smartphone model and brand, buildings and obstacles on the signal’s route. In case of an incident, take the smartphone with the App as close to the
head sensor as possible.
– When using the head sensor, open the App and stay logged in for the duration of the exercise.
– The head sensor can store in it information on about 40 impacts. To avoid loosing your impact data, connect the head sensor to the App regularly.
HOW TO WEAR IT
The sensor measures forces on the object it is attached to.
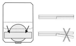
- We strongly recommend attaching ACT Head Impact Tracker head sensor to a head accessory of user’s choosing, also underneath a helmet. The head sensor can be attached to almost any kind of head accessory or wear, with hook and loop -tape, or other adhesive. Head bands specifically designed to accommodate the head sensor can be purchased in our webstore www.act-tracker.com. The back panel of the head sensor has an adhesive surface that you can use by removing the protective film on top of it. We recommend that you use the adhesive surface to attach the hook side of the Velcro tape, with which you can attach the head sensor to the ACT Head Impact Tracker headband or other head accessory. Please note that the surface is very adhesive, consider carefully where or what you want to attach to it. If you consider attaching the head sensor to a helmet, refer to your helmet’s User Manual, Owner’s Guide or corresponding document to verify if it is possible. Always follow the helmet manufacturer’s instructions on safe helmet use. Only use a helmet that meets the applicable safety standards when you use a helmet with ACT Head Impact Tracker head sensor.
- Always place the head sensor so that its head side (i.e. the side with the foam, on/off-button and led-light) is towards your head.
- Place the head sensor only in a location where impacts do not occur. We recommend placing it on the side and back of the head, behind the ear. See illustrations for more information.
Good to know
We believe that today there is not sufficient medical research to reliably, simply and safely classify the individual impacts to “small-medium-hard” or “redyellow- green” for example on the basis of g-force. In the absence of proven, reliable, scientific results ACT Head Impact Tracker is not telling you “when the impact is too hard, or when it is not”, nor will it tell you “when you have to seek medical help, or when not”. There simply is no safe way for a head impact measuring device to do so. Not yet. That’s why more data and research is needed. One rule of thumb applies though: the more violent the impact, the bigger the impact forces, and the chance for the damage to occur. In case of a head impact, or when suspecting one, immediately and safely leave the activity and seek help from licensed medical professionals. It is advisable to have an accompanying person if concussion is possible.
SOME TROUBLESHOOTING
- If the head sensor does not turn on or function properly, it could be because:
– The battery is inserted upside down.
– The battery is dislocated.
– The battery is empty, or almost empty.
– You pressed the button too fast or too slow, too weakly or on a side of the button. - Problems in adding the head sensor to the App:
– Try switching the head sensor off and back on. Add the sensor immediately after switching the head sensor on.
– There are many sensors around the App, and it is listening to another sensor. Wait for two minutes so that other sensors stop advertising, then switch the sensor you want to add off and back on and try again.
– The App is designed for Android 9 and newer Android operating systems only. Not all mobile device brands and models have been tested and validated to work with ACT Head Impact Tracker smartphone mobile App. See the latest list of tested brands and models in our FAQ in www.act-tracker.com - Impact occurred but there is no notification on it to the App:
– The head sensor only measures and sends data when it is on. Check that the head sensor is on.
– Switch the sensor off and back on. The sensor turns on when battery is applied, but some components may not.
– Change the battery. The sensor does not function properly when the battery is almost empty.
– The smartphone with App must have location services and Bluetooth enabled and active for the App and always when using the head sensor. Also, mobile data with roaming (if needed) must be on and active or you must be connected to Wi-Fi when using the head sensor, or ACT Head Impact Tracker will not work as intended. Check that they are all enabled, switched on and active.
– Keep the distance of head sensor and mobile device with App listening to it as short as possible. The reach could be less than 10 meters in some conditions. If the data connection is missing, recorded impact information is saved in the head sensor and delivered when the sensor is connected to assigned App or the App to the Cloud again.
Visit our FAQ on our website www.act-tracker.com for more help. If nothing helps, the sensor may be defective, or corrupted in manufacturing, transportation or handling. Please contact Northern Sports Insight and Intelligence with email to [email protected], or the reseller where you bought the sensor from.
WARNING!
– Not suitable for children under 36 months of age. Contains small parts. Risk of suffocation!
– Check the product for damage and wear before every use.
– Check that all parts and locking mechanisms are secure before each use.
– The product may be used only when in good working order and condition.
– Use in adult supervision.
– Do not modify the head sensor in any way. Use only the way instructed.
WARNING REGARDING CR2032 COIN CELL BATTERY!
– Keep out of reach of children.
– Swallowing and ingestion can lead to chemical burns, perforation of intestinal soft tissues and death.
– If you suspect a battery has been swallowed or entered in any body part, seek medical attention immediately.
SPECIFICATIONS
Dimensions: 46,70mm x 34,40mm x 7,60mm
Operating temperature: -10C to 40C
Water/dust protection: Not suitable for watersports or underwater use.
Communications: Bluetooth 5.0 Low energy. BTL range may vary significantly depending on multiple factors, such as surroundings. It can be anything from
<10 meters (<30 feet) to 100 meters (300 feet). Maximum power: 0 dBm. Operating frequency: 2360-2500 MHz
Battery: CR2032 replaceable coin cell (> 225mAH)
Battery life span: approx. 15 hours operating time (i.e. when the sensor is on)
ACT Head Impact Tracker head sensor measures max. 100g per an individual axis. The theoretical maximum g-force measured is 173g.
HEAD SENSOR STORAGE AND MAINTENANCE
When not in use, always store the head sensor in a clean and dry place at room temperature. Clean the head sensor’s outer surface using only a moist soft cloth or sponge. Use only water, don not use any detergents, soaps, other chemical substances or harsh cleaning agents. Do not machine wash or put under water. Do not use sunscreens, other skin products or hair products in the proximity of the head sensor. Do not leave in direct sunlight, expose to heat or cold, moisture, chemicals or mechanical wear and tear. Do not place near or on a direct heat source, or in direct sunlight. Do not freeze. Damage due to improper
handling is not covered by the warranty.
DISPOSAL
Dispose of the product and packaging materials in accordance with current local regulations. Keep the product and packaging materials out of reach of children
Dispose of the product and packaging materials in an environmentally friendly manner.
Batteries must not be disposed of with your household waste. All batteries must be disposed of in an environmentally friendly manner, in accordance
with current local battery disposal regulations. Please recycle
WARRANTIES
Northern Sports Insight and Intelligence warrants to the original purchaser of this product that the product is free from defects in material and workmanship for a period of three months from the original date of purchase. Save the original purchase receipt. This warranty applies to the material and workmanship only and does not apply to misuse or improper handling. The warranty does not apply to defects or physical damage resulting from abuse, neglect, improper repair, improper fit, alterations, or use unintended by the manufacturer. The warranty does not affect your statutory rights. If the head sensor is found to be defective in materials or workmanship within three months from the date of original purchase, please contact the reseller or Northern Sports Insight and Intelligence by email at [email protected] with “Head sensor defect” on the subject field. Northern Sports Insight and Intelligence will, at its sole option, either repair or replace the head sensor. Any repairs under the warranty, statutory guarantees or through goodwill do not extend the warranty period. This also applies to replaced and repaired parts.
REGULATORY STATEMENT
Hazardous substances (RoHS): Northern Sports Insight and Intelligence Oy certifies that this product and its packaging are in compliance with European Union
Directive RoHS 3 (EU Directive 2015/863) on the restriction on the use of certain hazardous substances in electrical and electronics equipment.
TRADEMARK AND COPYRIGHT is a registered trademark of Northern Sports Insight and Intelligence Oy.
2021 Northern Sports Insight and Intelligence Oy. All Rights Reserved.
DISCLAIMER
We do not guarantee that ACT Head Impact Tracker products or services will meet your requirements. We do not guarantee that ACT Head Impact Tracker mobile application, head sensor hardware or firmware, cloud service or firmware, data transfer or any other part of the products or services, any information obtained from using the products or services will be error-free, secure or timely. We do not guarantee that information received or not received when using ACT Head Impact Tracker is accurate or reliable, or that the errors in the products or services are corrected. We cannot guarantee that ACT Head Impact Tracker products or services, or any content therein, will always be available or uninterrupted.
MANUFACTURER AND DISTRIBUTOR
Northern Sports Insight and Intelligence Oy Address: Northern Sports Insight and Intelligence Oy, Terkko Health Hub, Haartmaninkatu 4, Building 14, 00290 Helsinki, Finland
Email: [email protected]
User Manual for ACT Head Impact Tracker head sensor (firmware version 1.0). Last updated the 10th of June, 2021.
We may occasionally issue updates to this document. Please check www.act-tracker.com for updated and latest information. Please see FAQ for use, operation, management and troubleshooting at www.act-tracker.comIllustrated instructions on inserting and removing the battery, operating and wearing the head sensor Place the sensor on the table head side down and back side up.
Illustrated instructions on inserting and removing the battery, operating and wearing the head sensor
- Place the sensor on the table head side down and back side up.

- Open the hatch on the back side by lifting it upwards.

- Slide in the coin cell battery underneath the silver holder bridge. Make sure the plus-side of the battery is upwards towards you, and away from the circuit board. Make sure the battery is set exactly on top of the silver-colored circle underneath the bridge. Don’t push the battery too far or you might damage the electronics.

- Slide the battery out by pushing it gently from the side on your fingertip or nail.

- Close the hatch by pressing the sides firmly together to seal the locks on them. Check that sides are seamlessly connected with each other. The sensor turns on when battery is applied, but it may be that not all the components do. Switch the sensor off and back on before use.

- Switch the sensor on by pressing the on/off- button once slowly and firmly. Red led-light next to the button starts blinking in slow frequency to signal the sensor is on. If the light blinks in high frequency (in fast pace), the battery is almost empty. Change the battery or ACT Head Impact Tracker might not work as intended. If the light does not come on at all, try with new battery. If the light still is not coming on at all, or the light coms on but it is not blinking, the head sensor is not working and should be replaced.

- Turn sensor off by pressing the on/off-button twice slowly and firmly. Wait to see one long red led-light signal and then no more blinking to ensure the sensor is switched off.

- Place the head sensor so that the head side of the sensor is towards your head and back side is facing away from your head. Attach hook andloop -tape or other possible adhesives on the back side of the head sensor.

- Attach the head sensor to a headband or other accessory so that the head sensor is in between the head and the accessory. Place the sensor in the area where no impacts occur. We recommend placing the sensor on the back side of the head, on the area after the ear. Do not place the head sensor on a forehead, on the temple or on the back of your head for example. Do not wear the sensor on the neck. If you feel pressure or discomfort, the sensor is not in the right place.


















