BOSCH SUIG1514 Base Unit Fridges and Freezers Installation Guide
The manufacturer works constantly on the further development of all the types and models. Therefore please under‐ stand that we have to reserve the right to make design, equipment and technical modifications. To get to know all the benefits of your new appliance, please read the information contained in these instructions carefully. The instructions apply to several models. Differences may occur. Text relating only to specific appliances is marked with an asterisk (*). Instructions are marked with a , and results are marked with.
General safety instructions
- Please keep this assembly manual in a safe place so you can refer back to it at any time.
- If you pass the appliance on, please hand this assembly manual to the next user.
- Read this assembly manual carefully before installation and use to ensure safe and correct use of the appliance. Follow the instructions, safety instructions and warning messages included at all times. They are important for ensuring you can operate and install the appliance safely and without any problems.
- First read the general safety instructions in the “General safety instructions” section of the operating instructions, which accompany these installation instructions, and follow them. If you cannot find the operating instructions, you can down‐ load the operating instructions from the internet by entering the service number at home.liebherr.com/fridge-manuals. The service number can be found on the serial tag:
Observe the warning messages and other detailed information in the other sections when installing the appliance:
DANGER identifies a situation involving direct danger which, if not obviated, may result in death or severe bodily injury.
WARNING identifies a dangerous situation which, if not obviated, may result in death or severe bodily injury.
CAUTION identifies a dangerous situation which, if not obviated, may result in minor or medium bodily injury.
NOTICE identifies a dangerous situation which, if not obviated, may result in damage to property.
Note identifies useful instructions and tips.
Transporting the appliance
- Transport the appliance only in suitable packaging.
- Transport the appliance upright.
- Do not transport the appliance on your own.
Installing the appliance
WARNING
Improper use!
Fire. If a mains cable/plug comes into contact with the back of the appliance, the mains cable/plug can be damaged by appliance vibrations and this may result in a short circuit.
- Stand the appliance so that it is not touched by connectors or main cables.
- Do not connect any appliances to sockets in the area of the back of the appliance.
- Multi-sockets/power distributors and other electronic appliances (such as halogen transformers) may not be placed and operated at the back of appliances.
WARNING
Fire hazard due to dampness!
If live parts or the mains lead become damp this may cause short circuits.
- The appliance is designed for use in enclosed areas. Do not operate the appliance outdoors or in areas where it is exposed to splash water or damp conditions.
- Only use the appliance when it is installed.
WARNING
Leaking coolant and oil!
Fire. The coolant contained in the appliance is eco-friendly, but also flammable. The oil contained in the appliance is flammable. Escaping coolant and oil can ignite if the concentration is high enough and in contact with an external heat source.
- Do not damage the pipelines of the coolant circuit and the compressor.
WARNING
Fire hazard and danger of damage!
- Do not place appliances emitting heat e.g. microwaves, toasters etc. on the appliance!
NOTICE
Risk of damage due to condensation!*
When assembling an appliance name beginning with S… or a side-by-side (SBS) appliance:
- The appliance can be installed next to another refriger‐ ator or freezer.
If your appliance name does not begin with S…:
- Do not install the appliance next to another refrigerator or freezer.
NOTICE
Covered vents!
Damage. Appliance can overheat, which can reduce the service life of various parts of the appliance and lead to operational impairments.
- Always make sure there is good ventilation.
- Always keep vents or ventilation grids in the appliance housing and in the kitchen furniture (fully integrated appliance) unobstructed.
- Always keep the fan air vents unobstructed.
- In the event that the appliance is damaged, contact the supplier immediately before connecting to the mains.
- The floor at the site must be flat and level.
- Do not install the appliance in a location where it is exposed to direct radiation of the sun, next to a cooker, heater and similar.
- Do not install the appliance alone: it is best to work together with two or more people.
- The more coolant there is in the appliance, the larger the room in which the appliance is installed must be. If the room is too small, any leak may create a flammable mixture of gas and air. For each 8 g of coolant the installation space must be at least 1 m3 . Information on the coolant is on the model plate inside the appliance.
- If the appliance is installed in a very damp environment, condensed water may form on the outside of the appli‐ ance. Always make sure that there is good ventilation – both at air inlet and outlet – at the site of installation.
After installation:
- Remove protective films, adhesive tapes and transport lock parts etc.
Note
- Clean the appliance (see Operating Instructions, Chapter “Cleaning the appliance”).
Appliance dimensions

Recess dimensions
This is a base unit and should be installed under a worktop. The kitchen units must be fitted according to the specifi‐ cations, allowing sufficient ventilation to ensure the equipment works properly.
The specified energy consumption applies to a unit depth of 560 mm. The appliance will work properly at a unit depth of 550 mm, but at a slightly higher energy consumption.
- Check the wall thickness of the adjoining cabinets: it must be min. 16 mm thick.
- Align the kitchen unit using a spirit level and marking square and if necessary compensate with shims.
- Ensure that the floor and walls of the unit are at right angles to one another.
Unit door
- One door is required for the kitchen unit.
- The door must be at least 16 mm and maximum 19 mm thick.
- There must be a gap of minimum 3 mm width between the door and the unit door located above it (if one exists).
- The width of the unit door depends on the style of the kitchen and the gap size between the door panels of the cabinet. Generally, there should remain a vertical gap of 3 mm between the unit doors.
- If there are more cupboards the upper edge of the cabinet door should be at the same height as the doors on the next cabinet.
- The unit door must be planar and mounted stress-free.
NOTICE
Risk of damage from over-heavy unit door! If the unit door is too heavy, damage to the hinges and resulting impairment of function cannot be excluded.
- Before mounting the unit door, make sure that the door does not exceed the approved unit door weight.
| Appliance model | Maximum unit door weight |
| S/UIK/UIKP/UIG/UIGN/UIB/ | 10 kg |
Changing the door direction
NOTICE
Risk of damage due to colliding doors!*
When assembling an appliance with the appliance name beginning with S… next to another appliance:
- Install the appliances so that the doors open outwards. Switch the door hinges, if necessary.
WARNING
Risk of injury due to the door dropping out!
If the fastening parts are not screwed into place firmly enough, the door may drop out. This may lead to severe injuries. What is more, the door may not close and therefore the appliance may fail to cool properly.
- Screw the hinges and the ball journal of the soft stop mechanism firmly into place, with 4 Nm.
- Screw the holder of the soft stop mechanism firmly into place, with at least 3 Nm.
- Check all of the screws and retighten if necessary.
Note
You can change the direction of the door only if there is enough room at the top to remove the hinge fixing brackets and refit them on the opposite side. This is rarely the case once the unit is installed in the recess.
- Change the direction of the door before the appliance is installed.
Risk of injury here! Follow the safety notes!
These instructions apply to a range of models. Follow this step only if it applies to your appliance.
Choose from one of these options.
Just loosen the screws, do not remove.
Check the screw fittings and tighten if necessary.
Tools required:

CAUTION
Risk of injury if soft stop contracts!
- Carefully remove the soft stop mechanism.
- Remove the closing damper: Remove the closing dampers from the ball studs (1), unscrew the bracket (2). Use a screwdriver to remove the ball studs (3)

- Remove the covers.
- Just loosen the screws on the hinges, do not remove.
- Remove the screws only once you have removed the door with its hinges.

CAUTION
Risk of injury if hinges fold!
- Leave hinges open.
- Remove the door: Slide the door towards you and out, then lift off the brackets and put aside.

- Move the hinges.

- Move the fixing bracket to the opposite side.

- Refit the door: Hang the door with its hinges and tighten the screws.

- Refit the closing dampers: Screw in the ball studs (1), tighten the bracket (2) and hang the closing dampers in the ball studs.

- Check all screws and tighten if necessary.
- Refit the covers.
Installing the appliance in the recess
WARNING
Fire hazard from short-circuiting!
- When pushing the appliance into the recess, take care not to crush, jam or damage the mains power cable.
- Do not operate the appliance with a defective mains power cable.
NOTICE
Risk of damaging the hinges!
If when being pushed the appliance is held by the door, the hinges could be damaged.
- When pushing or otherwise moving the appliance, always hold it by the main body.
| For installation in the recess, the following accessories are available from Customer Service: | |
| Kit to limit the door opening angle to 90° | ![]() |
Risk of injury here! Follow the safety notes!
- Please take note of the information in the symbols key during installation.
Installation
All the assembly components accompany the appliance.
Ensure that the following tools are to hand:
- Cordless Torx® screwdriver 15, 25
- Spanner 13
- Screwdriver Torx® 15
- Flat-blade screwdriver 6
- Allen key 8
- Tape measure
- Pencil
- String
- Spirit level
Pay attention that the socket is readily accessible.
Ventilation requirements
The air flow cavity must be at least 200 cm². The unit’s energy consumption will increase if there is insufficient air flow.
Fix the foam pad in the middle of the plinth panel.
The foam pad is used to separate the incoming and outgoing air flow and allows sufficient ventilation.
Side fixing
- Base frame under a hard worktop, such as granite.
- The appliance is lower than the work surface when the adjusting feet are fully extended.
- Prerequisite: Side unit wall available for screw connection.
Top fixing
- The appliance is slightly braced under the work top when the adjusting feet are fully extended.
- No granite plate.
Installing the appliance
- If already in place, pull the plinth panel forwards.
- Detach the connecting cable from the rear of the appliance, removing the cable holder at the same time because otherwise there will be vibratory noise!
- Lay the connecting cable with the help of a string in such a way that the appliance can be easily connected after fitting.

NOTICE
Risk of harm to flooring susceptible to damage!
- Place a strip of cardboard under the height-adjustable feet, approx. 4 in.x24 in.10 cm x 60 cm, one at either side. Cut the strips out of the packaging. For opening heights less than 826 mm, use strips of a firm but thin material.
- After the appliance has been slid in, remove the strips.
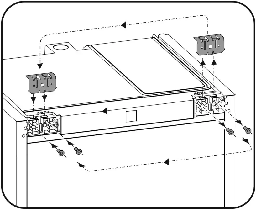
Top fixing
- Insert the bracket into the holder on the top of the unit and bend towards the front.
- Slide the unit into the recess and level, see Levelling the appliance.
Side fixing:
- Bend both brackets at one end before installation. Insert the straight edge into the holder on the top of the unit and bend towards the front.
- Slide the unit into the recess and level, see Levelling the appliance.
Levelling the appliance
- Unscrew the rear adjusting feet using a screwdriver and undo the front adjusting feet using a no. 8 Allen key alternately until the unit sits just under the worktop.
- Use a spirit level to level the unit.
- The gap from the front edge of the cabinet wall to the appliance should be 41,5 mm on both sides.
- Should there be no unit side wall, align it with the work top. For units with door stop components (knobs, sealing lips etc.):
- Deduct the extra dimension (depth of the door stop components) from the 41.5 mm depth of insertion.
- Unscrew the rear adjusting feet using a screwdriver and undo the front adjusting feet using a no. 8 Allen key (if the adjusting feet are retracted) or a screwdriver (if the adjusting feet are extended) alternately as far as they will go. The maximum adjustment range is 60 mm.
- The appliance is aligned upright.
- The appliance is slightly braced between the floor and the work top.

- Place the foam pad in the plinth panel – this is essential for separating air flows!

- Fit the plinth panel (2) without securing.
- Position the unit door and the unit plinth panel for testing.
- If plinth panel (2) is visible, pull it forward until the front edge of the ventilation grid and the unit plinth panel are in line.
- If the plinth panel (2) is hidden, push it right back.
- Ensure that the ventilation slots are completely free: If necessary, cut some off the height of the unit plinth panel (U).
- Adjust the bar height (V) under the plinth panel (2) along the recess width (W).

- Fit and secure the plinth panel: Hold the plinth panel and insert the catch.
- Fix the unit plinth panel.
To secure appliance in the recess:
- If affixing the unit under a worktop, use 2 screws to secure the fixing bracket under the worktop.

- If attaching the unit at the side, screw the fixing bracket into the recess with one screw on each side.
Fitting the unit door
- Fit the handle on the unit door.

- Check 8 mm presetting. (Distance between appliance door and lower edge of crosspiece)
- Push up assembly aids Fig. 25 (12) to unit door height. Lower edge ▲of the assembly aid = top edge of the unit door to be fitted.
- Unscrew fastening crosspiece Fig. 25 (11) by undoing the lock nuts Fig. 25 (10).
Installation
- Attach fastening crosspiece Fig. 26 (11) to the inside of the unit door using the assembly aids Fig. 26 (12).
- Align the crosspiece Fig. 26 (11) in the middle of the door.
- Distances to the outer edge are equal at the left and right.
For chipboard doors: - Secure the fastening crosspiece Fig. 26 (11) with at least 6 screws Fig. 26 (19).
For frame and panel doors: - Secure the fastening crosspiece Fig. 26 (11)with 4 screws Fig. 26 (19) at the edge.
- Raise the assembly aids Fig. 26 (12) for removal, turn them and insert them into the adjacent openings.

- Attach the unit door to the adjusting bolts Fig. 27 (13) and loosely screw the lock nuts Fig. 27 (10) onto them.
- Close the door.
- Check the gap between the door and the surrounding unit doors.
- To laterally align the door: push unit door in X direction.
- To align the door vertically Y and in the lateral inclination: adjust adjusting bolts Fig. 27 (13) with a screwdriver.
- The unit door is flush and in alignment with the surrounding unit fronts.
- Tighten lock nuts Fig. 27 (10).

- To screw the unit door to the appliance door:
- Drill pilot holes in the door of the unit (possibly make preliminary holes with a bradawl).
- Screw the appliance door to the cabinet door using the fixing bracket.

- Align the cabinet door to the height marked Z: loosen the screws at the top and bottom of the door, then adjust the door.
- Open the door to approx 45° so you can easily access the screws under the door.
- Do not allow knobs and sealing lips to make contact – important for function!
- Allow an air gap of 2 mm between the unit door and the body of the unit.

- Check the fit of the door and readjust if necessary.
- Tighten all screws.
- Tighten lock nuts Fig. 30 (10) with a no. 13 Allen key, making sure you counterhold the adjusting bolts Fig. 30 (13) with a screwdriver.

- Fit the top cover and click into place.
Check the following points to ensure the appliance is fitted properly. Failure to do so may lead to icing, condensate forming and malfunction:
- The door has to close properly
- The unit door must not butt against the unit body
Disposing of packaging
WARNING
Danger of suffocation due to packing material and plastic film!
- Do not allow children to play with packing material.
The packaging is made of recyclable materials:
- corrugated board/cardboard
- expanded polystyrene parts
- polythene bags and sheets
- polypropylene straps
- nailed wooden frame with polyethylene panel*
- Take the packaging material to an official collecting point.
Connecting the appliance
NOTICE
Failure to connect properly
Damage to the electronics.
- Do not connect the appliance to a stand-alone inverter, e.g. solar power systems and petrol generators.
- Do not use an energy saving plug.
WARNING
Failure to connect properly Fire hazard.
- Do not use an extension cable.
- Do not use distributor blocks.
The type of current (alternating current) and voltage at the installation site have to conform with the data on the type plate . The socket must be properly earthed and fused. The tripping current for the fuse must be between 10 A and 16 A. The socket must be easily accessible so that the appliance can be quickly disconnected from the supply in an emergency. It must be outside the area of the rear of the appli‐ ance.
- Check the electrical connection.

- Plug in the power plug.
Liebherr-Hausgeräte Marica EOOD
4202 Radinovo
Bezirk Plovdiv
Bulgarien
home.liebherr.com


















