Speed Queen SF7007WG 27 Inch White Stacked Washer And Gas Dryer

WARNING
Risk of fire. Highly flammable material.
Read all instructions before using unit.
WARNING
FOR YOUR SAFETY, the information in this manual must be followed to minimize the risk of fire or ex-plosion or to prevent property damage, personal in-jury or death.
WARNING
- Do not store or use gasoline or other flammable vapors and liquids in the vicinity of this or any other appliance.
- WHAT TO DO IF YOU SMELL GAS:
- Do not try to light any appliance.
- Do not touch any electrical switch; do not use any phone in your building.
- Clear the room, building or area of all occupants.
- Immediately call your gas supplier from a neighbor’s phone. Follow the gas supplier’s instructions.
- If you cannot reach your gas supplier, call the fire department.
- Installation and service must be performed by a qualified installer, service agency or the gas sup-plier.
IMPORTANT: Purchaser must consult the local gas supplier for suggested instructions to be followed if the dryer user smells gas. The gas utility instructions plus the SAFETY and WARNING note directly above must be posted in a prominent location near the dryer for customer use.
WARNING
- Installation of unit must be performed by a qualified installer.
- Install clothes dryer according to manufacturer’s instructions and local codes.
- DO NOT install a clothes dryer with flexible plastic venting materials. If flexible metal (foil type) duct is installed, it must be of a specific type identified by the appliance manufacturer as suitable for use with clothes dryers. Refer to section on connecting exhaust system. Flexible venting materials are known to collapse, be easily crush-ed, and trap lint. These conditions will obstruct clothes dryer airflow and increase the risk of fire.
WARNING
To reduce the risk of severe injury or death, follow all installation instructions. Save these instructions.
WARNING
FOR YOUR SAFETY
Do not store or use gasoline or other flammable vapors and liquids in the vicinity of this or any other appliance.
The following information applies to the state of Massachusetts, USA.
- This appliance can only be installed by a Massachusetts licensed plumber or gas fitter.
- This appliance must be installed with a 36 inch [910 mm] long flexible gas connector.
- A “T-Handle” type gas shut-off valve must be installed in the gas supply line to this appliance.
- This appliance must not be installed in a bedroom or bath-room.
Dimensions
Electric Models
| A | * 66.06 in. [1678 mm] |
| B | * 56.97 in. [1447 mm] |
| C | 23.5 in. [597 mm] |
| D | 8.375 in. [213 mm] |
| E | 24 in. [610 mm] |
| F | 8 in. [203 mm] |
| G | 15.4 in. [391 mm] |
| H | * 36.9 in. [938 mm] |
| I ** | * 14.6 in. [371 mm] |
| J | * 32 in. [813 mm] |
| K | 26.875 in. [683 mm] |
| L | * 46.62 in. [1184 mm] |
| M | * 78.17 in. [1986 mm] |
| N | 2.04 in. [52 mm] |
| O | 27.73 in. [704 mm] |
| P (with door closed) | 1.5 in. [38 mm] |
| Q | * 13.1 in. [333 mm] |
| * With leveling legs turned into base. ** For ADA compliance turn legs out from base 0.5 inches. |
NOTE: Exhaust openings are 4 inch [102 mm] metal ducting.
Gas Models
1. 3/8 in. NPT Gas Connection
| A | * 66.06 in. [1678 mm] |
| B | * 56.97 in. [1447 mm] |
| C | 23.5 in. [597 mm] |
| D | 8.375 in. [213 mm] |
| E | 24 in. [610 mm] |
| F | 8 in. [203 mm] |
| G | 15.4 in. [391 mm] |
| H | 2.3 in. [59 mm] |
| I | * 36.9 in. [938 mm] |
| J ** | * 14.6 in. [371 mm] |
| K | * 44.87 in. [1140 mm] |
| L | * 32 in. [813 mm] |
| M | 26.875 in. [683 mm] |
| N | * 46.62 in. [1184 mm] |
| O | * 78.17 in. [1986 mm] |
| P | 2.04 in. [52 mm] |
| Q | 27.73 in. [704 mm] |
| R (with door closed) | 1.5 in. [38 mm] |
| S | * 13.1 in. [333 mm] |
| * With leveling legs turned into base. ** For ADA compliance turn legs out from base 0.5 inches. |
NOTE: Exhaust openings are 4 inch [102 mm] metal ducting.
Installation
Before You Start
Tools
For most installations, the basic tools you will need are:
Wrench- 1/4 inch Driver
- Screwdriver
- Level
- Wood Block
- Pliers
- 5/16 Inch Socket Wrench
- Gloves
- Teflon Tape (Gas Models)
- Duct Tape
- Safety Glasses
Figure 1
NOTE: If the unit is delivered on a cold day (below freezing), or is stored in an unheated room or area during the cold months, do not attempt to operate it until the unit has had a chance to warm up.
NOTE: Some moisture in the wash drum is normal. Water is used during testing at the manufacturer.
NOTE: This appliance is suitable for use in countries having a warm, damp climate.
WARNING
Any disassembly requiring the use of tools must be performed by a suitably qualified service person..
Parts Included
An accessories bag has been shipped inside your unit. It includes:
- Product literature
- Three screws (electric dryers only)
- Three washers
- Three filter screens
- Four rubber feet
- Beaded strap
- Two shipping hole plugs
- Lint Filter Guard
| Parts Needed | ||
| Item | Quantity | Notes |
| Fill/ Inlet Hoses, Washer | 2 | Order 204058 In- stall Kit or sourced separately |
| Fill/ Inlet Hose, Dryer | 1 | Must be sourced separately |
| Y-Connector | 1 | Must be sourced separately |
| Rubber washer | 1 | Must be sourced separately |
| Extension Hose | 1; Optional | Must be sourced separately |
Refer to the following specifications when sourcing fill/ inlet hoses:
- Hoses must be new.
- Hoses must be a minimum of 3/8 in. inside diameter. Smaller inside diameter hoses will cause long fill times which could create nuisance fill errors.
- The plain rubber washers and filter screens included with the washer in the accessories bag must be installed in the fill hose couplings. The filter screens help prevent foreign materials from clogging the water mixing valve.
Refer to Connect Hoses for more details.
Removing Dryer
Use the following steps if the installation requires removal of the dryer. Two people are required to perform this task.
- Remove dryer front access panel.
- Remove two screws holding control panel to control cabinet.
- Remove two 7/16 inch screws and washers attaching dryer to washer.
- Tip dryer back and disconnect dryer control wire harness from main dryer wire harness.
- Slide dryer forward until rear leveling legs slide into notches in the control cabinet.
- Lift dryer and place it on a level surface.
Reassembling Dryer
- Lift dryer and place it on top of washer so dryer leveling legs sit in notches in control cabinet.
- Slide dryer backward until mounting holes in base line up with holes in front of security cabinet.
- Reconnect dryer wire harness. If needed, refer to unit’s wiring diagram.
- Tip dryer and replace two 7/16 inch screws and washers holding dryer to washer.
- Reattach the control panel to the control cabinet using two screws.
- Replace dryer’s front access panel.
Order of Installation Steps
The proper order of steps must be followed to ensure correct installation. Refer to the list below when installing your unit.
- Position unit near area of installation.
- Remove the shipping materials.
- Connect the fill hoses.
- Connect the drain hose to the drain receptacle.
- For gas models only, connect the gas supply pipe. Check for gas leaks.
- For electric models only, connect the electrical cord.
- Connect dryer to exhaust system.
- Position and level the unit.
- Wipe out inside of washer and dryer drums.
- Plug in the washer and dryer.
- Check installation.
- Start and run the dryer in a heat setting to verify dryer is heating.
Position Unit Near Installation Area
Move unit so that it is within 4 feet [1.2 meters] of the desired area of installation.
CAUTION
Washer and dryer are not designed to be operated as separated, side-by-side units.
The stack washer/dryer must be installed on a ground or basement floor, preferably concrete. If the flooring is wood construction, the flooring must meet a static load rating of 125 pounds and a maximum dynamic load rating of 170 pounds per foot. If the existing floor does not meet the dynamic load rating, the floor must be re-enforced from below to meet the specification (maxi-mum span = 16 feet, 2×10 joists, 16 inches on center, 1 inch sub floor).
The stack washer/dryer must be installed on a smooth, non-slip surface. Un-level tile and extremely slippery surfaces should be avoided. Do not install the washer on carpeting, soft tile or other weakly supported structures.
Failure to meet the minimum floor load and surface requirements or installing the products on above ground floors can create different levels of vibration or movement that may appear like service is required. Speed Queen will not cover scheduled repair services where the installation requirements are not per specifications, nor can products be returned to the authorized dealer in these cases.
Remove Shipping Materials
- Remove two screws at bottom of front access panel. Rotate bottom of panel out and remove panel.

- Remove two 9/16 inch bolts and washers holding shipping brace to weight.
- Remove two 9/16 inch bolts and washers holding shipping brace to washer base and remove brace.

- Go to rear of washer and pull label from rear shipping bolts.
- Remove two 9/16 inch bolts. Unscrew each bolt while apply-ing forward pressure just until bolt stops unthreading. Work each bolt and spacer out by hand using a circular motion. NOTE: Avoid backing bolts out completely or spacers might fall into cabinet.

- Insert two plugs included in accessories bag into rear shipping bolt holes.

- Replace front access panel.
- Save all shipping materials. They must be reinstalled any time washer is moved more than four feet.
IMPORTANT: Do not lift or transport unit from front or without shipping materials installed. Refer to the User’s Guide for proper instructions on reinstalling the shipping materials.
Connect Fill Hoses
WARNING: Under certain conditions, hydrogen gas may be produced in a hot water system that has not been used for two weeks or more. HYDROGEN GAS IS EXPLO-SIVE. If the hot water system has not been used for such a period and before using the washer, turn on all hot water faucets and let the water flow from each for several minutes. This will release any accumulated hydrogen gas. The gas is flammable. Do not smoke or use an open flame during this time.
Water Supply Requirements
Water supply faucets must fit standard 3/4 inch [19 mm] female garden hose couplings. DO NOT USE SLIP-ON OR CLAMP-ON CONNECTIONS.
NOTE: Water supply faucets should be readily accessible to permit turning them off when washer is not being used.
Recommended cold water temperature is 50° to 75° Fahrenheit [10° to 24° Celsius] . Recommended maximum hot water temperature is 125° Fahrenheit [51° Celsius] . For models that have the Sanitize with Oxi and the Pet Plus Flea cycles, the hot water sup-ply connection must provide a minimum of 120° Fahrenheit [49°Celsius] . An adjustment to the water heater may be necessary. Warm water is a mixture of hot and cold water. Warm water temperature is dependent upon the water temperature and the pressure of both the hot and cold water supply lines.
WARNING
To prevent personal injury, avoid contact with inlet water temperatures higher than 125° Fahrenheit [51°Celsius] and hot surfaces.
Maximum flow rate for all water temperatures is 2.5 gallons per minute [9.46 liters per minute] ± 15%.
Water pressure must be a minimum of 20 to a maximum of 120 pounds per square inch [minimum of 138 to a maximum of 827 kPa] static pressure measured at the faucet.
NOTE: Water pressure under 20 pounds per square inch [138 kPa] will cause an extended fill time in the washer and may not properly flush out the detergent dispenser.
Turn on the water supply faucets and flush the lines for approximately two minutes to remove any foreign materials that could clog the screens in the water mixing valve. This is especially important when installing your washer in a newly constructed or renovated building. Build-up may have occurred during construction.
Connect Hoses
NOTE: Y-connector, extension hose(s) and rubber washer for Y-Connector are not included with the dryer.
- Turn off water at shut-off valve.
- Remove the plain rubber washers and filter screens from the accessories bag.
- Insert a rubber washer into Y-connector (both sold separately).
- Install Y-connector onto cold-water supply faucet (use extension hose if Y-connector cannot be installed directly on water supply). Refer to Figure 6 and Figure 7 .
- Insert filter screens on the faucet end of both the dryer and washer inlet hoses with the screen facing outward towards the faucet and rubber washers on the valve end of each hose.
- Connect filter screen end of the dryer inlet hose to the Y-Connector.
- Connect rubber washer end of dryer inlet hose to the fill valve on rear of dryer, thread hose coupling finger tight. Then turn 1/4 turn with pliers.
IMPORTANT: Do NOT cross thread or overtighten couplings. This will cause them to leak. - Connect filter screen end of the washer inlet hose to the other end of Y-connector, thread hose coupling finger tight. Then turn 1/4 turn with pliers.
- Connect rubber washer end of washer inlet hose to the water mixing valve marked “C” until finger tight. Then turn 1/4 turn.
- Install a rubber washer and a filter screen into each end of the hot water connection hose. Filter screen must face outward.
- Connect filter screen end of hose onto the hot water supply faucet until finger tight. Then turn 1/4 turn with pliers.
- Connect rubber washer end of hose onto the water mixing valve marked “H” until finger tight. Then turn 1/4 turn with pliers.
- Check that Y-connector valves are open (if applicable).
- Turn water on and check for leaks. Wait 30 minutes and check again, some leaks are slow to show up.
- If leaks are found, turn off water, unscrew hoses and reinstall until there are no leaks.
NOTE: If leaks persist after checking and retightening hose coupling, check for crossing threading, and damaged hose(s) or rubber washer(s).
IMPORTANT: Turn off water supply whenever there will be an extended period of non-use.
Installing Hoses: Y-Connector on Water Supply

- Faucet
- Rubber Washer
- Y-Connector
- Install this end of hose to Y-Connector
- Install this end of hose to Water Fill Valve at rear of dryer
- Water Fill Valve (Dryer)
- Dryer Rear Panel
- Water Mixing Valve (Cold Water Connection)
- Water Mixing Valve (Hot Water Connection)
- Washer Rear Panel
- Fill/ Inlet Hose
- Install this end of hose to Water Mixing Valve Connections at rear of washer
- Install this end of hose to Faucet
- Filter Screen (must be facing outward)
Installing Hoses: Extension Hose to Y-Connector 
- Faucet
- Filter Screens (must be facing outward)
- Rubber Washer
- Y-Connector
- Install this end of hose to Y-Connector
- Install this end of hose to Water Fill Valve at rear of dryer
- Water Fill Valve (Dryer)
- Dryer Rear Panel
- Water Mixing Valve (Cold Water Connection)
- Water Mixing Valve (Hot Water Connection)
- Washer Rear Panel
- Fill/ Inlet Hose
- Install this end of hose to Water Mixing Valve Connections at rear of washer
- Install this end of hose to Faucet
- Extension Hose
Figure 7
IMPORTANT:
Hoses and other rubber parts deteriorate after extend-ed use. Hoses may develop cracks, blisters or material wear from the temperature and constant high pressure they are subjected to.
All hoses should be checked on a monthly basis for any visible signs of deterioration. Any hose showing the signs of deterioration listed above should be re-placed immediately. All hoses should be replaced every five years.
Risers
Risers (or air cushions) may have to be installed if the pipes knock or pound when flow of water stops. The risers are more efficient when installed as close as possible to the water supply faucets. Refer to Figure 8 . 
- Risers (Air cushions)
- Water Supply Faucets
Figure 8
Connect Drain Hose to Drain Receptacle
Remove the drain hose from its shipping position on the rear of the washer by unhooking the hose from the retainer clamp and by removing the shipping tape.
Install the drain hose into the drain receptacle (standpipe, wall or laundry tub) following the instructions below.
IMPORTANT: Drain receptacle must be capable of handling a minimum of 1-1/4 inch [32 mm] outside diameter drain hose.
| Drain Flow Rate | |
| Drain Height | Flow Rate gallons per minute [liters per minute] |
| 3 ft. [0.9 m] | 8.6 [32.7] |
| 5 ft. [1.5 m] | 6.8 [25.9] |
| 6 ft. [1.8 m] | 6.0 [22.7] |
| Drain Flow Rate | |
| Drain Height | Flow Rate gallons per minute [liters per minute] |
| 7 ft. [2.1 m] | 5.1 [19.5] |
| 8 ft. [2.4 m] | 4.0 [15.2] |
Standpipe Installation
- Place the drain hose into the standpipe.
- Remove the beaded tie-down strap from accessories bag and place around standpipe and drain hose. Refer to Figure 9 .
- Insert the end of the beaded strap into the larger hole found on the end of the strap.
- Tighten to desired fit.
- Lock strap in place by pulling beaded strap into the tapered smaller opening of the beaded strap end. A distinct snap noise should be heard once the strap is properly seat-ed.
- Pull on the strap once locked in place to ensure beaded strap is properly installed. This will prevent the drain hose from dislodging from drain receptacle during use.

Figure 9
- 24 to 36 in. [610 to 914 mm] Recommended Height
- Beaded strap from accessory bag
- Standpipe 2 in. [51 mm] or 1-1/2 in. [40 mm]
Wall Installation
For installations of this type, the drain hose MUST be secured to one of the fill hoses using the beaded strap from accessories bag. Refer to Figure 10 .
NOTE: End of drain hose must not be below 24 in. [610 mm] . 
Figure 10
- Drain Hose
- Beaded Strap (tape if necessary)
- Fill Hoses
Laundry Tub Installation
For this type of installation, the drain hose MUST be secured to the stationary tub to prevent hose from dislodging during use. Re-fer to Figure 11 . Use the beaded strap (supplied in accessories bag) to secure hose.
Figure 11
- Drain Hose
- Beaded Strap (tape if necessary)
Gas Dryers – Connect Gas Supply Pipe
WARNING
To reduce the risk of gas leaks, fire or explosion:
- The dryer must be connected to the type of gas as shown on nameplate located in the door recess.
- Use a new flexible stainless steel connector.
- Use pipe joint compound insoluble in L.P. (Liquefied Petroleum) Gas, or Teflon tape, on all pipe threads.
- Purge air and sediment from gas supply line be-fore connecting it to the dryer. Before tightening the connection, purge remaining air from gas line to dryer until odor of gas is detected. This step is required to prevent gas valve contamination.
- Do not use an open flame to check for gas leaks. Use a non-corrosive leak detection fluid.
- Any disassembly requiring the use of tools must be performed by a suitably qualified service per-son.
- Make certain your dryer is equipped for use with the type of gas in your laundry room. Dryer is equipped at the factory for Natural Gas with a 3/8 inch NPT gas connection.
NOTE: The gas service to a gas dryer must conform with the local codes and ordinances, or in the absence of local codes and ordinances, with the latest edition of the National Fuel Gas Code ANSI Z223.1/NFPA 54 or the CAN/CSA-B149.1 Natural Gas and Propane Installation Code.Natural Gas Altitude Adjustments Altitude Orifice Size Part No.
feet [m] No. inches [mm] 3000 [915] 43 0.0890 [2.26] D503778 6000 [1830] 44 0.0860 [2.18] 58719 8000 [2440] 45 0.0820 [2.08] D503779 9000 [2740] 46 0.0810 [2.06] D503780 10,000 [3050] 47 0.0785 [1.99] D503781 Table 1
- Remove the shipping cap from the gas connection at the rear of the dryer. Make sure you do not damage the pipe threads when removing the cap.
- Connect to gas supply pipe using thread sealant or Teflon tape. Torque 90 – 175 inch-pounds [10.2 – 19.7 Nm] .
NOTE: The connection of gas supply to the appliance shall be made with a flexible hose suitable for the appliance category in accordance with national installation regulations of the country of destination. If in doubt contact the dryer distributor or manufacturer.
NOTE: When connecting to a gas line, an equipment shut-off valve in accordance with the National Fuel Gas Code, ANSI Z223.1/NFPA 54 and the Natural Gas and Propane Installation Code, CSA B149.1 must be installed within 6 feet [1.8 m] of the dryer. An 1/8 in. NPT pipe plug must be installed as shown for checking inlet pressure. Refer to Figure 12 .
Starting Serial No. 1908000001, the following must be furnished and installed by the customer for the gas service line to dryer: Union at gas supply connection (listed to ANSI Z21.24 and CSA 6.10).
Figure 12- New Stainless Steel Flexible Connector – (Use design CSA certified connector) Use only if allowed by local co-des
- 1/8 in. NPT Pipe Plug
- Equipment Shut-Off Valve
- Black Iron Pipe:
Shorter than 20 ft. [6.1 m] – Use 3/8 in. [9.5 mm] pipe. Longer than 20 ft. [6.1 m] – Use 1/2 in. [12.7 mm] pipe. - 3/8 in. NPT Gas Connection
- Tighten all connections securely but don’t overtighten to avoid breaking or bending the gas valve bracket. Turn on gas and check all pipe connections (internal & external) for gas leaks with a non-corrosive leak detection fluid.
NOTE: The dryer and its appliance main gas valve must be disconnected from the gas supply piping system during any pressure testing of that system at test pressures in excess of 1/2 psi [3.45 kPa] . Refer to Check Heat Source.
NOTE: DO NOT connect the dryer to L.P. Gas Service without converting the gas valve. Install L.P. Gas Con-version Kit 649P3, available at extra cost.
L.P. (Liquefied Petroleum) Gas, 2500 Btu/ft.3 [93.1 MJ/m3 ] , service must be supplied at 10 ± 1.5 inch water column pressure.
For proper operation at altitudes above 3000 feet [915 m] the L.P. gas valve spud orifice size must be reduced to ensure complete combustion. Refer to Table 2 .
| L.P. Altitude Adjustments | |||
| Altitude | Orifice Size | Part No. | |
| feet [m] | No. | inches [mm] | |
| 3000 [915] | 55 | 0.0520 [1.32] | 58755 |
| 8000 [2440] | 56 | 0.0465 [1.18] | D503786 |
Table 2
Electric Dryer Only – Connect Electrical Plug
Dryer requires 120/240 Volt or 120/208 Volt, 60 Hertz, 3 or 4 wire electrical supply. Refer to serial plate for specific electrical requirements.
IMPORTANT: Use only a new U.L. listed No. 10 (copper wire only) three or four conductor power supply cord kit rated 240 Volts (minimum) 30 Amperes and labeled as suitable for use in a clothes dryer.
NOTE: The wiring diagram is located in the control cabinet.
WARNING
To reduce the risk of fire, electric shock, serious in-jury or death, all wiring and grounding MUST con-form with the latest edition of the National Electrical Code, ANSI/NFPA 70, or the Canadian Electrical Code, CSA C22.1, and such local regulations as might apply. It is the customer’s responsibility to have the wiring and fuses installed by a qualified electrician to make sure adequate electrical power is available to the dryer.
Earth/Ground Information
This dryer must be properly connected to protective earth/ground metal, permanent wiring system; or an equipment-earth/ground conductor must be run with the circuit conductors and connected to the equipment-earth/ground terminal or lead on the dryer.
The dryer has its own terminal block that must be connected to a separate branch, 60 Hertz, single phase circuit, AC (alternating current) circuit, fused at 30 Amperes (the circuit must be fused on both sides of the line). Electrical service for the dryer should be of maximum rated voltage (208 or 240 Volt, depending on heat-ing element) listed on the serial plate. Do not connect dryer to 110, 115, or 120 Volt circuit.
Heating elements are available for field installation in dryers which are to be connected to electrical service of different volt-age than that listed on serial plate, such as 208 Volt.
NOTE: Branch circuit wire size requirements to laundry room outlet are shown in table below.
| Wire Length | Wire |
| Less than 15 ft. [4.5 m] | Listed No. 10 AWG Copper wire only |
| Longer than 15 ft. [4.5 m] | Listed No. 8 AWG Copper wire only |
Table 3
The power cord connection between wall receptacle and dryer terminal block IS NOT supplied with dryer. Type of power cord and gauge of wire must conform to local codes.
Connecting Power Cord with Three-Wire Plug
- NOTE: Four-wire cord is required for new branch-circuit installations, mobile homes or where codes do not permit grounding through neutral.
- NOTE: The power cord is NOT supplied with the electric dryer. Type of power cord and gauge of wire must conform to local codes and instructions. The method of wiring the dryer is optional and subject to local code requirements.
- NOTE: Connect the dryer to the power supply with the MAXIMUM RATED VOLTAGE listed on the serial plate.
- NOTE: Use COPPER WIRE only.
Shorter than 15 ft. (4.5 m) – use 10 AWG Longer than 15 ft. (4.5 m) – use 8 AWG

- A typical 30-Amp Three-Wire Receptacle NEMA Type 10-30R
- 120 ± 12 V.A.C.
- 240 ± 12 V.A.C.
- Intermediate Fuse Box (may be omitted if service entrance box is fused)
- Wall Receptacle
- Power Supply
- 3-Wire Earth/Ground Neutral 120/240 Volt, 60 Hertz AC 1 Phase Service Entrance Switch Box (Refer to NOTE above)
- 30 Ampere Fuses or Circuit Breaker
- Neutral Wire
- Metallic or Non-Metallic Sheathed Cable (Copper Wire Only)
- Power Cord (Not supplied with dryer)
- Neutral
- Terminal Block in Dryer
- Intermediate Shut-Off Box (may or may not be fused)
- Direct Connection
- Power Cord Connection
Figure 13
- Disconnect power to dryer.
- Remove access cover from rear of dryer.

- Use a strain relief and insert end of power cord through power supply hole.

- Use the three screws from the accessories bag to attach the power cord wires to the terminal block. Refer to Figure 16.
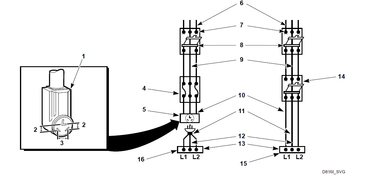
3-Wire Connection
- “L1” Terminal
- Neutral Terminal
- “L2” Terminal
- Earth/Ground to Bulkhead
Figure 16
- Using a screwdriver, tighten all screws firmly.
IMPORTANT: Failure to tighten these screws firmly may result in wire failure at the terminal block. - Secure the strain relief to the power cord, or wires, where they enter the dryer cabinet.
- Check the continuity of the earth/ground connection before plugging the cord into an outlet. Use an acceptable indicating device connected to the center earth/ground pin of the plug and the green screw on the back of the cabinet.
- Reinstall access cover and screw.
Connecting Power Cord with Four-Wire Plug
NOTE: Four-wire cord is required for new branch-circuit installations, mobile homes or where codes do not permit grounding through neutral.
- Typical Four-Wire Receptacle
- Power Cord – Not Supplied with Dryer
- Strain Relief Nut
- Strain Relief
- 0 V.A.C.
- 240 ± 12 V.A.C.
- 120 ± 12 V.A.C.
Figure 17
- Disconnect power to dryer.
- Remove access cover from rear of dryer.
Figure 18 - Remove earth/ground screw from earth/ground to neutral wire and save for use in Step 5. Earth/ground to neutral wire will be attached to the neutral terminal in Step 6.

- Earth/Ground Screw
Figure 19
- Earth/Ground Screw
- Use a strain relief and insert end of power cord through power supply hole.
1. Strain Relief
Figure 20 - Attach power cord earth/ground (green) wire to rear bulkhead using earth/ground screw removed in Step 3.
4-Wire Connection
- Neutral Terminal
- “L2” Terminal
- Black
- White
- Earth/Ground
- Red
- “L1” Terminal
- Earth/Ground to Neutral Wire
Figure 21
- Use the three screws from the accessories bag to attach the remaining power cord wires to the terminal block as follows:
- a. Red wire to “L1” terminal.
- b. Black wire to “L2” terminal.
- c. White wire to Neutral terminal.
NOTE: When installing the white wire, loop the free eyelet end of the earth/ground to neutral wire (re-moved in Step 3) and attach along with the white wire to the neutral (center) terminal on the terminal block.
- Using a screwdriver, tighten all screws firmly. IMPORTANT: Failure to tighten these screws firmly may result in wire failure at the terminal block.
- Secure the strain relief to the power cord, or wires, where they enter the dryer cabinet.
- Check the continuity of the earth/ground connection before plugging the cord into an outlet. Use an acceptable indicating device connected to the center earth/ground pin of the plug and the green screw on the back of the cabinet.
- Reinstall access cover and screw.
Connect Dryer Exhaust System
WARNING
To reduce the risk of fire and combustion gas accumulation the dryer MUST be exhausted to the out-doors.
WARNING
To reduce the risk of fire and the accumulation of combustion gases, DO NOT exhaust dryer air into a window well, gas vent, chimney or enclosed, unventilated area, such as an attic, wall, ceiling, crawl space under a building or concealed space of a building.
WARNING
This gas appliance contains or produces a chemical or chemicals which can cause death or serious ill-ness and which are known to the State of California to cause cancer, birth defects, or other reproductive harm. To reduce the risk from substances in the fuel or from fuel combustion, make sure this appliance is installed, operated, and maintained according to the instructions in this manual.
WARNING
To reduce the risk of fire, DO NOT use plastic or thin foil ducting to exhaust the dryer.
WARNING
To reduce the risk of fire, the exhaust duct and weather hood MUST be fabricated of a material that will not support combustion. Rigid or flexible metal pipe is recommended for a clothes dryer.
WARNING
Risk of fire. Do not install a booster fan in the exhaust duct.
NOTE: The booster fan warning does not apply to clothes dryers intended to be installed in a multiple clothes dryer system, with an engineered exhaust duct system that is installed per the clothes dryer manufacturer’s guidelines.
Figure 22
- Correct
- Incorrect
- DO NOT use plastic, thin foil or type B ducting. Rigid metal duct is recommended.
- Locate dryer so exhaust duct is as short as possible.
- Be certain old exhaust ducts are cleaned before installing your new dryer.
- Use 4 inch [102 mm] diameter rigid or flexible metal duct.
- The male end of each section of duct must point away from the dryer.
- Use as few elbows as possible.
Use of duct tape or pop-rivets on all seams and joints is recommended, if allowed by local codes. DO NOT use sheet metal screws or fasteners on exhaust pipe joints which extend into the duct and catch lint. - Ductwork that runs through unheated areas must be insulated to help reduce condensation and lint build-up on pipe walls.
- In mobile home installations, dryer exhaust duct must be se-cured to mobile home structure.
Dryer exhaust duct MUST NOT terminate under mobile home. - Exhaust duct must not be connected to any other duct, vent, or chimney.
- Dryer exhausts 220 cfm per unit (measured at back of dryer).
- DO NOT install flexible duct in concealed spaces, such as a wall or ceiling.
- Static pressure in exhaust duct should not be greater than 0.6 inches water column [1.5 cm water column] , measured with manometer placed on exhaust duct 2 feet [610 mm] from dry-er (check with dryer running and no load).
- Exhausting dryer in hard-to-reach locations can be done by installing 521P3 Flexible Metal Vent Kit (available as option-al equipment at extra cost).
- Sufficient make-up air must be supplied to replace the air exhausted by the dryer. The free area of any opening for outside air must be at least 40 in.2 [25806 mm2 ] per unit.
- Failure to exhaust dryer properly will void warranty.
- A dryer will dissipate 60 Btu/ft2 [681,392 J/m2 ] of surface area exposed to the conditioned air.
NOTE: Venting materials are not supplied with the dry-er (obtain locally).
IMPORTANT: DO NOT block the airflow at the bottom of the dryer’s front panel with laundry, rugs, etc. Blockage will decrease airflow through the dryer, thus reducing the efficiency of the dryer.
Exhaust Direction
The dryer can be exhausted to the outdoors through the back, left, right or bottom of the dryer.
EXCEPTION: Gas dryers cannot be vented out the left side because of the burner housing.
Dryer is shipped from factory ready for rear exhaust.
Exhausting the dryer through sides or bottom can be accomplished by installing a Directional Exhaust Kit, 528P3, available as optional equipment at extra cost.
Exhaust System
For best drying results, recommended maximum length of exhaust system is shown in Table 4 .
To prevent backdraft when dryer is not in operation, outer end of exhaust pipe must have a weather hood with hinged dampers (obtain locally).
NOTE: Weather hood should be installed at least 12 inches [305 mm] above the ground. Larger clearances may be necessary for installations where heavy snow-fall can occur.
| Number of 90° Elbows | Weather Hood Type | |
| Recommended | Use Only for Short Run Installations | |
![]()
| ![]()
| |
| Maximum length of 4 in. [102 mm] diameter rigid metal duct. | ||
| 0 | 65 feet [19.8 m] | 55 feet [16.8 m] |
| 1 | 55 feet [16.8 m] | 47 feet [14.3 m] |
| 2 | 47 feet [14.3 m] | 41 feet [12.5 m] |
| Number of 90° Elbows | Weather Hood Type | |
| Recommended | Use Only for Short Run Installations | |
| 3 | 36 feet [11.0 m] | 30 feet [9.1 m] |
| 4 | 28 feet [8.5 m] | 22 feet [6.7 m] |
Table 4
NOTE: Deduct 6 feet [1.8 m] for each additional elbow.
NOTE: The maximum length of a 4 in. [102 mm] diameter flexible metal duct must not exceed 7.87 ft. [2.4 m] , as required to meet UL2158, clause 7.3.2.A.
Position and Level the Unit
WARNING
Units elevated above floor level must be anchored to that elevated surface, base or platform. The material used to elevate the unit should also be anchored to the floor to ensure that the unit will not walk or that the unit can not be physically pulled, tipped or slid from its installed position. Failure to do so may result in conditions which can produce serious injury, death and/or property damage.
- Position unit so it has sufficient clearance for installation and servicing.

NOTE: Shaded areas indicate adjacent structure.Dryer and Exhaust Duct Clearances Area Description Minimum Clearance A Left Dryer Side 0 in. [0 mm] B Right Dryer Side 1 in. [25 mm] C Dryer Top 6 in. [152 mm] D * Dryer Rear 4 in. [102 mm] E Exhaust Duct Clearance to Combustible Materials 2 in. [51 mm] * Rear clearance is minimum. 6 inches [152 mm] are recommended when venting through rear of unit. NOTE: Use of the dispenser drawer or unit doors as a handle in the transportation of the unit may cause damage to the dispenser or doors.
- Place unit in position on a solid, sturdy and level floor. Installing the unit on any type of carpeting, soft tile or other weakly supported structures is not recommended.
- Place a level on the raised portion of cabinet top and check if the unit is level from side to side and front to back.
- If unit is not level, tilt unit to access the front and rear leveling legs. For easier access to leveling legs, prop up unit with a wooden block.
- Loosen 7/8 in. locknut and adjust legs by screwing into or out of unit base until the unit is level from side to side and front to back (using a level). Unit should not rock.
NOTE: Leveling legs can also be adjusted from in-side the unit using an adjustable wrench. - Tighten the locknuts securely against the unit base. If the locknuts are not tight, unit will move out of position during operation.
NOTE: DO NOT slide unit across floor if the leveling legs have been extended. Legs and base could be-come damaged. - Remove rubber feet from accessories bag and place on all four leveling legs.
- Verify that unit doesn’t rock.
Figure 23
- Level
- Wood Block
- Rubber Foot
- Leveling Leg
- Locknut
- Unit Base
Reverse Door, if Desired
NOTE: Doors with windows cannot be reversed.
The door on this dryer is completely reversible. To reverse door proceed as follows:
- Remove four hinge attaching screws.
Figure 24 - Remove all nine screws.
Figure 25 - Pull bottom of door liner out, then pull down, removing door liner from door panel.
Figure 26 - Rotate door panel 180 degrees as shown.
Figure 27 - Remove door strike from door liner and reinstall on opposite side.
Figure 28 - Insert liner under flange on bottom of door, then push top of door liner into place.
Figure 29 - Reinstall nine screws removed in Step 2.
Figure 30 - Using screwdriver, remove two door plugs, and reinstall on opposite side of door opening.
Figure 31 - Reinstall four hinge attaching screws, removed in Step 1.

Figure 32
Wipe Out Inside of Washer and Dryer Drum
IMPORTANT: Prior to first wash, use an all-purpose cleaner, or a detergent and water solution, and a damp cloth to remove shipping dust from inside the drums.
Figure 33
Figure 34
Plug In the Washer and Dryer
Electric Dryer
Connect the dryer to an electrical power source. Refer to Connect Electrical Plug section for information on connecting power cord.
Connect to 30 Amp Circuit
Figure 35
Gas Dryer
Dryer requires 120 Volt, 60 Hertz electrical supply and comes equipped with a 3-prong earth/ground plug. Refer to serial plate for specific electrical requirements.
NOTE: The wiring diagram is located in the control cabinet.
WARNING
To reduce the risk of fire, electric shock, serious in-jury or death, all wiring and grounding MUST con-form with the latest edition of the National Electrical Code, ANSI/NFPA 70, or the Canadian Electrical Code, CSA C22.1, and such local regulations as might apply. It is the customer’s responsibility to have the wiring and fuses installed by a qualified electrician to make sure adequate electrical power is available to the dryer.
When plugging in the dryer:
- DO NOT overload circuits.
- DO NOT use an extension cord.
- DO NOT use an adapter.
- DO NOT operate both a washer and a gas dryer on the same circuit. Use separately fused 15 Amp circuits.
The dryer is designed to be operated on a separate branch, polarized, three-wire, effective earth/ground, 120 Volt, 60 Hertz, AC (alternating current) circuit protected by a 15 Ampere fuse, equivalent fusetron or circuit breaker.
The three-prong earth/ground plug on the power cord should be plugged directly into a polarized three-slot effective earth/ground receptacle rated 120 Volts AC (alternating current) 15 Amps. Refer to Figure 36 to determine correct polarity of the wall receptacle.
Plug Cord Into Separately Fused 15 Amp Circuit
- L1
- Earth/Ground
- Neutral
- Round Earth/Ground Plug
- Neutral Side
- 0 V.A.C.
- 120 ± 12 V.A.C.
- 120 ± 12 V.A.C.
Figure 36
Earth/Ground Information
This appliance must be properly connected to protective earth/ground. In the event of malfunction or breakdown, the earth/ground will reduce the risk of electric shock by providing a path of least resistance for electric current.
The dryer is equipped with a cord having an equipment earth/ground conductor and a three-prong earth/ground plug. The three-prong earth/ground plug on the power cord should be plugged directly into a polarized three-slot effective earth/ground receptacle rated 110/120 Volts AC (alternating current) 15 Amps.
WARNING
This unit is equipped with a three-prong (earth/ground) plug for your protection against shock hazard and should be plugged directly into a protective earth/ ground three-prong receptacle. Do not cut or remove the earth/ground prong from this plug.
WARNING
Improper connection of the equipment earth/ground conductor can result in a risk of electric shock. Check with a qualified electrician or service person if you are in doubt as to whether the dryer is properly connected to a protective earth/ground.
Do not modify the plug provided with the dryer – if it will not fit the outlet, have a proper outlet installed by a qualified electrician.
NOTE: Have a qualified electrician check the polarity of the wall receptacle. If a voltage reading is measured other than that illustrated, the qualified electrician should correct the problem.
Do not operate other appliances on the same circuit.
WARNING
To reduce the risk of an electric shock or fire, DO NOT use an extension cord or an adapter to connect the dryer to the electrical power source.
Washer
Washer requires 120 Volt, 60 Hertz electrical supply and comes equipped with a 3-prong earth/ground plug. Refer to serial plate for specific electrical requirements.
NOTE: The wiring diagram is located behind the control panel, inside the control cabinet.
WARNING
To reduce the risk of fire, electric shock, serious in-jury or death, all wiring and protective earth/ground connections MUST conform with the latest edition of the National Electrical Code, ANSI/NFPA No. 70, and such local regulations as might apply. It is the customer’s responsibility to have the wiring, fuses and circuit breakers installed by a qualified electrician to make sure adequate electrical power is available to the washer.
When plugging in the washer:
- DO NOT overload circuits.
- DO NOT use an extension cord.
- DO NOT use an adapter.
- DO NOT operate both a washer and a gas dryer on the same circuit. Use separately fused 15 Amp circuits.
The washer is designed to be operated on a separate branch, polarized, three-wire, effective earth/ground, 120 Volt, 60 Hertz, AC (alternating current), circuit protected by a 15 ampere fuse, equivalent fusetron or circuit breaker.
The three-prong earth/ground plug on the power cord should be plugged directly into a polarized three-slot effective earth/ground receptacle rated 110/120 Volts AC (alternating current) 15 Amps. Refer to Figure 37 to determine correct polarity of the wall receptacle.
Standard 120 Volt, 60 Hertz 3-Wire Effective Earth/Ground Circuit
- L1
- Earth/Ground
- Neutral Side
- Round Earth/Ground Prong
- Neutral
- 0 V.A.C.
- 120 ± 12 V.A.C.
- 120 ± 12 V.A.C.
Figure 37
WARNING
To reduce the risk of an electric shock or fire, DO NOT use an extension cord or an adapter to connect the washer to the electric power source.
Earth/Ground Instructions
This appliance must be properly connected to protective earth/ground. In the event of malfunction or breakdown, the earth/ground will reduce the risk of electric shock by providing a path of least resistance for electric current.
The appliance is equipped with a cord having an equipment earth/ground conductor and a three-prong earth/ground plug. The plug must be plugged into an appropriate outlet that is properly installed and connected to a protective earth/ground in accordance with all local codes and ordinances.
WARNING
Improper connection of the equipment earth/ground conductor can result in a risk of electric shock. Check with a qualified electrician or service person if you are in doubt as to whether the unit is properly connected to a protective earth/ground.
- DO NOT modify the plug provided with the unit – if it will not fit the outlet, have a proper outlet installed by a qualified electrician.
- If the laundry room’s electrical supply does not meet the above specifications and/or if you are not sure the laundry room has an effective earth/ground, have a qualified electrician or your local electrical utility company check it and correct any problems.
- Do not operate other appliances on the same circuit when this appliance is operating.
WARNING
This unit is equipped with a three-prong (earth/ground) plug for your protection against shock hazard and should be plugged directly into a protective earth/ ground three-prong receptacle. Do not cut or remove the earth/ground prong from this plug.
Check Installation
- Refer to Installer Checklist on the back cover of this manual and make sure that unit is installed correctly.
- Run washer with a test load to make sure it is operating properly and properly leveled.
- Put about six pounds of laundry (four bath towels and three jeans) into washer.
- Close door.
- Select Spin cycle and press Start.
- When washer spins at high speed, verify that it is stable.
- If it is not, after cycle is complete, refer to Position and Level the Washer to readjust leveling legs.
Check Heat Source
Electric Dryers
- Close the loading door and start the dryer in a heat setting (refer to the operation instructions).
- After the dryer has operated for three minutes, the exhaust air or exhaust pipe should be warm.
Gas Dryers
IMPORTANT: This operation is to be conducted by qualified personnel only.
- To view the burner flame, remove the lower front panel of the dryer.
- Close the loading door and start the dryer in a heat setting (refer to the operation instructions). The dryer will start, the ig-niter will glow red and the main burner will ignite.
IMPORTANT: If all air is not purged out of gas line, gas igniter may go off before gas is ignited. If this happens, after approximately two minutes igniter will again attempt gas ignition.
IMPORTANT: If igniter does not light, make sure gas is turned on. - After the dryer has operated for approximately five minutes, observe burner flame through lower front panel.
- Adjust the air shutter to obtain a soft, uniform blue flame. (A lazy, yellow-tipped flame indicates lack of air. A harsh, roar-ing, very blue flame indicates too much air.)
Adjust the air shutter as follows:- Loosen the air shutter lock screw.
- Turn the air shutter to the left to get a luminous yellow-tipped flame, then turn it back slowly to the right to obtain a steady, soft blue flame.
- After the air shutter is adjusted for proper flame, tighten the air shutter lock screw securely.
- Reinstall the lower front panel.
WARNING
To reduce the risk of serious injury or death, low-er front panel must be in place during normal operation. - After the dryer has operated for approximately three minutes, exhaust air or exhaust pipe should be warm.

- Air Shutter Lock screw
- Air Shutter
- Appliance Main Gas Valve
- 1/8 in. [3.1 mm] Pipe Plug (For checking manifold pressure)
Figure 38
Installer Checklist
Fast Track for Installing the Stacked Washer/Dryer
| 1 | Position Unit Near Installation Area. | 7 | Connect Dryer Exhaust System. | ![]() | |
| CHECK | CHECK | ||||
| 2 | Remove the Shipping Materials and Install Plugs. |
| 8 | Position and Level the Washer. | ![]() |
| CHECK | CHECK | ||||
| 3 | Connect Fill/ Inlet Hoses. | ![]() | 9 | Wipe Out Inside of Washer and Dryer Drums. |
|
| CHECK | CHECK | ||||
| 4 | Connect Drain Hose to Drain Receptacle. | ![]() | 10 | Plug In Washer and Dryer. |
|
| CHECK | CHECK | ||||
| 5 | GAS ONLY
| ![]() | 11 | Recheck Steps. | |
| CHECK | CHECK | ||||
| 6 | ELECTRIC ONLY – Connect Electrical Cord | ![]() | 12 | Start and Run Dryer in Heat Setting to Verify Dryer is Heating. | |
| CHECK | CHECK | ||||
Refer to the manual for more detailed information
© Copyright, Alliance Laundry Systems LLC – DO NOT COPY or TRANSMIT
Part No. 808186EN

Wrench



Figure 12


Figure 18
1. Strain Relief



Figure 24
Figure 25
Figure 26
Figure 27
Figure 28
Figure 29
Figure 30
Figure 31


























