Midea MDRT134FGF09AP Top Mount Freezer Refrigerator

Safety warnings
This appliance is intended to be used in household and similar applications such as staff kitchen areas in shops, offices and other working environments; farm houses and by clients in hotels, motels and other residential type environments; bed and breakfast type environments; catering and similar non retail applications. This appliance is not intended for use by persons (including children) with reduced physical, sensory or mental capabilities, or lack of experience and knowledge, unless they have been given supervision or instruction concerning use of the appliance by a person responsible for their safety. Childern should be supervised to ensure that they do not play with the appliance. If the supply cord is damaged, it must be replaced by the manufacturer, its service agent or similarly qualified persons in order to avoid a hazard. DO not store explosive substances such as aerosol cans with a flammable propellant in this appliance. The appliance has to be unplugged after use and before carrying out user maintenance on the appliance. Keep ventilation openings, in the appliance enclosure or in the built-in structure, clear of obstruction. Do not use mechanical devices or other means to accelerate the defrosting process, other than those recommended by the manufacturer. Do not damage the refrigerant circuit. Do not use electrical appliances inside the food storage compartments of the appliance, unless they are of the type recommended by the manufacturer. Please abandon the refrigerator according to local regulators for it use flammable blowing gas and refrigerant. When positioning the appliance, ensure the supply cord is not trapped or damaged. Do not locate multiple portable socket outlets or portable power supplies at the rear of the appliance. DO not use extension cords or ungrounded two prong adapters.
Risk of child entrapment
Before you throw away your old refrigerator or freezer .Take off the doors. Leave the shelves in place so that children may not easily climb inside. The refrigerator must be disconnected from the source of electrical supply before attempting the installation of accessory. Refrigerant and cyclopentane foaming material used for the appliance are
flammable. Therefore, when the appliance is scrapped, it shall be kept away from any fire source and be recovered by a special recovering company with corresponding qualification other than be disposed by combustion, so as to prevent damage to the environment or any other harm. The necessity that, for doors or lids fitted with locks and keys, the keys be kept out of the reach of children and not in the vicinity of the refrigerating appliance, in order to prevent children from being locked inside .
For EU standard
This appliance can be used by children aged from 8 years and above and persons with reduce physical sensory or mental capabilities or lack of experience and knowledge if they have been given supervision or instruction concerning use of the appliance in a safe way and understand the hazards involved. Children shall not play with the appliance. Cleaning and user maintenance shall not be made by children without supervision. Children aged from 3 to 8 years are allowed to load and unload refrigerating appliances.
TO avoid contamination of food, please respect the following instructions
- Opening the door for long periods can cause a significant increase of the temperature in the compartments of the appliance.
- Clean regularly surfaces that can come in contact with food and accessible drainage systems.
- Clean water tanks if they have not been used for 48 h; flush the water system connected to a water supply if water has not been drawn for 5 days.
- Store raw meat and fish in suitable containers in the refrigerator, so that it is not in contact with or drip onto other food.
- Two-star frozen-food compartments are suitable for storing pre-frozen food, storing or making ice cream and making ice cubes.
- One,two and three-star compartments are not suitable for the freezing of fresh food.
- For appliances without a 4-star compartment: this refrigerating appliance is not suitable for freezing foodstuffs.
- If the refrigerating appliance is left empty for long periods, switch off, defrost, clean, dry, and leave the door open to prevent mould developing within the appliance.
- Please confirm whether it is applicable according to your product compartment type.
- For a freestanding appliance this refrigerating appliance is not intended to be used as a built in appliance.
Warning
To avoid a hazard due to instability of the appliance, it must be fixed in accordancewith the instructions. Connect to potable water supply only. (Suitable for ice making machine. TO Prevent A Child From Being Entrapped, Keep Out Of Reach Of Children And Not In The Vicinity Of Freezer Or Refrigerator. Suitable for products with locks.
Meaning of safety warning symbols
Prohibition symbol

This is a prohibition symbol. Any incompliance with instructions marked with this symbol may result in damage to the product or endanger the personal safety of the user.
Warning Symbol
This is a warning symbol. It is required to operate in strict observance of instructions marked with this symbol; or otherwise damage to the product or personal injury may be caused.
NOTE SYMBOL

This is a cautioning symbol. Instructions marked with this symbol require special caution. Insufficient caution may result in slight or moderate injury, or damage to the product.
Electricity related warnings

Do not pull the power cord when pulling the power plug of the refrigerator. Please firmly grasp the plug and pull out it from the socket directly. To ensure safe use, do not damage the power cord or use the power cord when it is damaged or worn.

Please use a dedicated power socket and the power socket shall not be shared with other electrical appliances. The power plug should be firmly contacted with the socket or else fires might be caused. Please ensure that the grounding electrode of the power socket is equipped with a reliable grounding line.

Please turn off the valve of the leaking gas and then open the doors and windows in case of leakage of gas and other flammable gases. Do not unplug the refrigerator and other electrical appliances considering that spark may cause a fire.

Do not use electrical appliances on the top of the appliance, unless they are of the type recommended by the manufacturer.
Warnings for using
Do not arbitrarily disassemble or reconstruct the refrigerator, nor damage the refrigerant circuit; maintenance of the appliance must be conducted by a specialist Damaged power cord must be replaced by the manufacturer, its maintenance department or related professionals in order to avoid danger.

The gaps between refrigerator doors and between doors and refrigerator body are small, be noted not to put your hand in these areas to prevent from squeezing the finger. Please be gentle when close the refrigerator door to avoid falling articles. Do not pick foods or containers with wet hands in the freezing chamber when the refrigerator is running, especially metal containers in order to avoid frostbite.
Do not allow any child to get into or climb the refrigerator; othenwise suffocation or falling injury of the child may be caused.

Do not place heavy objects on the top of the refrigerator considering that objects may fall when close or open the door, and accidental injuries might be caused.Please pull out the plug in case of power failure or cleaning. Do not connect the freezer to power supply within five minutes to prevent damages to the compressor due to successive starts.

Warnings for placement
Do not put flammable, explosive, volatile and highly corrosive items in the refrigerator to prevent damages to the product or fire accidents. Do not place flammable items near the refrigerator to avoid fires.
The refrigerator is intended for household use, such as storage of foods it shall not be used for other purposes, such as storage of blood, drugs or biological products, etc.

Do not store beer, beverage or other fluid contained in bottles or enclosed containers in the freezing chamber of the refrigerator; or otherwise the bottles or enclosed containers may crack due to freezing to cause damages.

Warnings for disposal
Refrigerant and cyclopentane foaming material used for the refrigerator are flammable. Therefore, when the refrigerator is scrapped, it shall be kept away from any fire source and be recovered by a special recovering company with corresponding qualification other than be disposed by combustion, so as to prevent damage to the environment or any other harm. When the refrigerator is scrapped, disassemble the doors, and remove gasket of door and shelves; put the doors and shelves in a proper place, so as to prevent trapping of any child.
Correct Disposal of this product
This marking indicates that this product should not be disposed with other household wastes. To prevent possible harm to the environment or human health from uncontrolled waste disposal, recycle it responsibly to promote the sustainable reuse of material resources. To return your used device, please use the return and collection systems or contact the retailer where the product was purchased. They can take this product for environmental safe recycling.
Proper use of refrigerator
Placement
Before use, remove all packing materials, including bottom cushions, foam pads and tapes inside of the refrigerator tear off the protective film on the doors and the refrigerator body.

Keep away from heat and avoid direct sunlight, Do not place the freezer in moist or watery places to prevent rust or reduction of insulating effect. Do not spray or wash the refrigerator, do not put the refrigerator in moist places easy to be splashed with water so as not to affect the electrical insulation properties of the refrigerator.

The refrigerator is placed in a welkventilated indoor place; he ground shall be flat, and sturdy (rotate left or right to djust the wheel for levelling if unstable.
The top space of the refrigerator shall be greater than 30cm, and The refrigerator should be placed against a wall with a free distance more than 10cm to facilitate heat dissipation.
Precautions before installation
Before installation or adjusting of accessories, it shall be ensured that the refrigerator is disconnected from power. Precautions shall be taken to prevent fall of the handle from causing any personal injury.
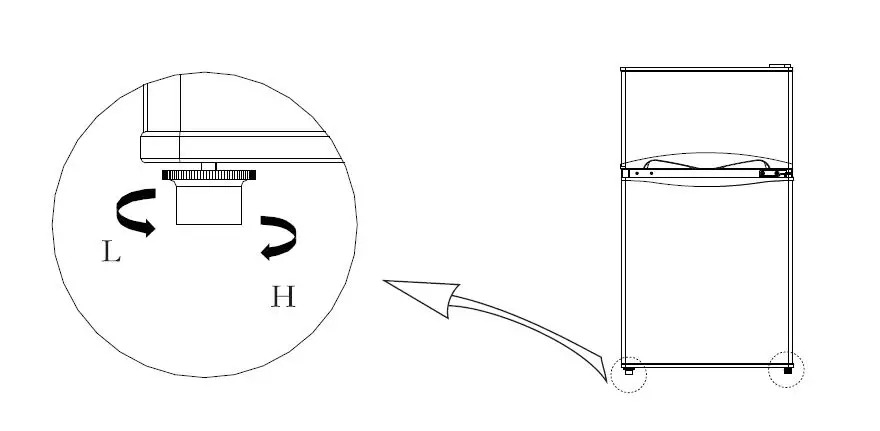
Levelling feet
Schematic diagram of the leveling feet.
The actual configuration will depend on the physical product or statement by the distributor
Adjusting procedures
- Turn the feet clockwise to raise the refrigerator
- Turn the feet counterclockwise to lower the refrigerator.
- Adjust the right and left feet based on the procedures above to a horizontal level.
Door Right Left Change

Remove all food from the inner door liner. Fix the door by tapes. Dismantle ton hinge cover ton hinae and hole can of the other side

Remove freezer chamber door as well as middle hinge and hole cap of the other side.

Remove refrigerating chamber door and dismantle bottom hinge and adjustable foot.
5) Exchange the installation position of bottom hinge and adjustable foot, then fix them respectively. Remove the hinge sleeve pipe of the refrigerating chamber door.and install it on the other side. Remove the hinge sleeve pipe of the freezing chamber door and install it on the other side.

Place refrigerating chamber door on bottom hinge, then fix the middle hinge on left side and insert the hole caps on right side.
Place freezer chamber door on middle hinge ,then fix the top hinge, top hinge cover on left side and insert hole caps on right side.

The actual configuration will depend on the physical product or statement by the distributor
Changing the Light optional
Replacement of incandescent lamps: Disconnecting the power supply before carrying out the bulb replacement, Hold and remove the light bulb cover. Dismantle the old bulb by unscrewing it counterclockwise.replace by a new bulb (Max. 15W) by screwing it clockwise, and make sure it is fixed in the bulb holder tightly. Reassemble the light cover and re-connect your Fridge to the power supply.
Starting
Before initial start, keep the refrigerator still for two hours before connecting it to power supply. Before putting any fresh or frozen foods, the refrigerator shall have run for 2-3 hours, or for above 4 hours in summer when the ambient temperature is high.
Spare enough space for convenient opening of the doors and drawers or statement by the distributor.
Energy saving tups
The appliance should be located in the coolest area of the room, away from heat producing appliances or heating ducts, and out of the direct sunlight. Let hot foods cool to room temperature before placing in the appliance. Overloading the appliance forces the compressor to run longer. Foods that freeze too slowly may lose quality, or spoil. Be sure to wrap foods properly, and wipe containers dry before placing them in the appliance. his cuts down on trost build-up inside the appliance. Appliance storage bin should not be lined with aluminum foil, wax paper, or paper toweling. Liners interfere with cold air circulation, making the appliance less etticient. Organize and label food to reduce door openings and extended searches. Remove as many items as needed at one time, and close the door as soon as possible.
Structure and functions
Key components

Refrigerating chamber
The Refrigerating Chamber is suitable for storage of a variety of fruits, vegetables, beverages and ner tood consumed in the shor term. suggestea storage ume days to ays. Is the moSt energy eicient to place Tood in tne posiion shown in tne picture above. Foods are recommondad toh l oou oroom temperature. ThO lee cholue ca b detodr r d forronobla otofe The glass shelves can be adjusted up or down for a reasonable amount of storage space and easy use.
Freezing chamber
The low temperature freezing chamber may keep food fresh for a long time and it is mainly used to store frozen foods and making ice. The freezing chamber is suitable for storage of meat, fish, rice balls and other foods not to be consumed in short term. Chunks of meat are preferably to be divided into small pieces for easy access. Please be noted food shall be consumed within the shelf time.
Note
Storage of too much food during operation after the initial connection to power may adversely affect the freezing effect of the refrigerator.
Functions
The picture above is only for reference. The actual configuration will depend on the physical product or statement by the distributor) Turn the temperature control knob to MAX, the internal temperature of the refrigerator becomes lower Turn the temperature control knob to MIN, the internal temperature of the refrigerator becomes higher NOTE: Please adjusting and using between MAX and MIN. Recommended gear Mid range.
Maintenance and care of the refrigerator
Cleaning
Dusts behind the refrigerator and on the ground shall be timely cleaned to improve the cooling effect and energy saving.- Check the door gasket regularly to make sure there are no debris.
- Clean the door gasket with a soft cloth dampened with soapy water or diluted detergent.
- The interior of the refrigerator should be cleaned regularly to avoid odor.
- Please turn off the power before cleaning interior, remove all foods, drinks ,shelves, drawers, etc.
- Use a soft cloth or sponge to clean the inside of the refrigerator, with two tablespoons of baking soda and a quart of warm water.
- Then rinse with water and wipe clean.
- After cleaning, open the door and let it dry naturally before turning on the power.
- For areas that are difficult to clean in the refrigerator (such as narrow sandwiches, gapse corners, it is recommended to wipe them regularly with a soft rag, softbrush, etc. and when necessary, combined with some auxiliary tools such as thin sticks to ensure no contaminants or bacterials accumulation in these areas.
- Do not use soap, detergent, scrub powder, spray cleaner, etc., as these may cause odors in the interior of the refrigerator or contaminated food.
- Clean the bottle frame, shelves and drawers with a soft cloth dampened with soapy wate or diluted detergent.
- Dry with a soft cloth or dry naturally.
- Wipe the outer surface of the refrigerator with a soft cloth dampened with soapy water, detergent, etc., and then wipe dry.
- Do not use hard brushes, clean steel balls, wire brushes, abrasives such as toothpastes organic solvents such as alcohol, acetone, banana oil, etc boiling water, acid or alkaline items, which may damage the cooler surface and interior.
- Boiling water and organic solvents such as benzene may deform or damage plastic parts.
- Do not rinse directly with water or other liquids during cleaning to avoid short circuits or affect electrical insulation after immersion.
Defrost
Power off the refrigerator. Remove the food from the refrigerator and place it properly to prevent food from melting. Clear the drain pipe to use soft materials to prevent damage to the liner), Prepare the water containers for defrosting pay attention to clean the compressor compartment water draining tray Avoding overflow to the ground. You can use the natural temperature for the natural defrost, you can also use the ice shovel to eliminate the frost (to use plastic or wooden ice shovel, for avoding damage to the liner or pipe. You can also use the appropriate amount of hot water to speed up the defrost, with a dry towel to dry the water after defrosting. After defrosting. put back the foods in cabinet, and power on the refrigerator.
Stop using
Power failure: In case of power failure, even if it is in summer, foods inside the appliance can be kept for several hours, during the power talure, the times of door opening shall be reduced, and no more fresh food shall be put into the appliance. Long-time nonuse: The appliance shall be unplugged and then dleaned; then the doors are left open to prevent odor. Moving: Betore the refrigerator is moved, take all objects inside out, fix the glass partitions, vegetable hok freezing chamber drawers and etc. with tape, and tighten the levelling feet; close the doors and fix them with tape. During moving, the appliance shall not be laid upside down or horizontall, or be vibrated; the incination during movement shall be no more than 45. The appliance shall run continuously once it is started. Generally, the operation of the appliance A shall not be interrupted:otherwise the service life may be impaired.
Trouble shooting
You may try to solve the following simple problems by yourselí. If them cannot be solved, please contact the after-sales department.
Failed operation
Check whether the appliance is connected to power or whether the plug is in well contact Check whether the voltage is too low Check whether there is a power failure or partial circuits have tripped.
Odor
Odorous foods shall be tighty wrapped Check whether there is any rotten food Clean the inside of the refrinerator
Long time operatior of the compressor
Long operation of the refrigerator is normal in summer when the ambient temperature is high It is not suggestible having too much food in the appliance at the same time Food shall get cool before being put into the appliance The doors are opened too frequently
Light fails to get lit
Check whether the refrigerator is connected to power supply and whether the illuminating light is damaged Have the light replaced bya specialist
Doors cannot be properly closed
The door is stuck by food packages Too much food is placed The refrigerator is tited.
Loud noise
Check whether the floor is level and whether the refrigerator is placed stably |Check whether accessories are placed at proper locations.
Door seal fails to be tight
Remove foreign matters on the door seal Heat the door seal and then cool it for restoration (or blow it with an electrical drier or use a hot towel for heating.
Water pan overflows
There is too much food in the chamber or food stored contains too much water, resulting in heavy defrosting The doors are not closed properly, resulting in frosting due to entry of air and increased water due to defrosting
Hot housing
Heat dissipation of the built-in condenser via the housing, which is normal When housing becomes hot due to high ambient temperature, storage of too much food.provide sound ventilation to facilitate heat dissipation
Surface condensation
Condensation on the exterior surface and door seals of the refrigerator is normal when the ambient humidity is too high. Just wipe the condensate with a clean towel.
Abnormal noise
Buzz
The compressor may produce buzzes during operation, and the buzzes are loud particularly upon start or stop. This is normal. Creak: Refrigerant flowing inside of the appliance may produce creak, which is norm.


Energy saving tups
Dusts behind the refrigerator and on the ground shall be timely cleaned to improve the cooling effect and energy saving.


















