
Stand fan with remote control

TSA8024
Thank you for purchasing the TEESA appliance. Please read this operation instruction carefully before use, and keep it for future use. The distributor does not take responsibility for damages caused by inappropriate handling and use of the product.
SAFETY INSTRUCTIONS
In order to reduce the injuries or damages, follow basic safety precautions applied when using any electrical device, including the following:
- Read this instruction manual carefully, even if you are familiar with the appliance. Keep the manual for future reference.
- Before connecting the device to the power supply socket, make sure the voltage indicated on the appliance corresponds to the voltage in the power supply socket.
- Place the device on a flat, stable surface.
- Protect this device from shock and being dropped.
- Clean this device in accordance with the instructions listed in the “Cleaning and Maintenance” section.
- ALWAYS turn off the device and disconnect it from the mains supply:
• if it’s not operating correctly,
• if there’s an uncommon voice when using,
• before disassembling the device,
• before cleaning,
• when not in use. - When you disconnect the power cord of the device, grasp and pull the plug, not the cord/ cable.
- This appliance may be used by children who are above 8 years old and by persons with reduced physical, sensory or mental capabilities, or lack of experience and knowledge if they are supervised and guided by a person who is responsible for their safety in a cautious manner, and all the safety precautions are understood and followed. Children should not play with this device. Children should not perform cleaning and servicing of the device unsupervised.
- Fixed power cable may only be replaced at an authorized service point.
- Keep the device and its cord/cable away from heat, water, moisture, sharp edges, and any other factor which may damage the appliance or its cord.
- Do not place the appliance in water or any liquid; nor handle/use it with wet or moist hands.
- Do not use the product for purposes different from displayed in this operating manual.
- Do not use unauthorized accessories.
- Appliance for home use; do not use it for commercial or industrial purposes. Device for indoor use only.
- DO NOT use this device if the cord or the plug is damaged, or the appliance is broken.
- Do not attempt to repair this appliance yourself. Only authorized and qualified personnel may repair this device. Never disassemble this device.
- Never place the fan near any gas appliances, fire, or flammable liquids.
- Do not turn on the device if the guard is not mounted properly.
- Do not plug the device into power mains before completing the installation.
- Never insert fingers, pencils, or any other object through the guard when the fan is running.
- Never cover or obstruct the air inlet or outlet to prevent overheating.
- Improper installation may result in the risk of fire, electric shock, or injury to persons.
PRODUCT DESCRIPTION

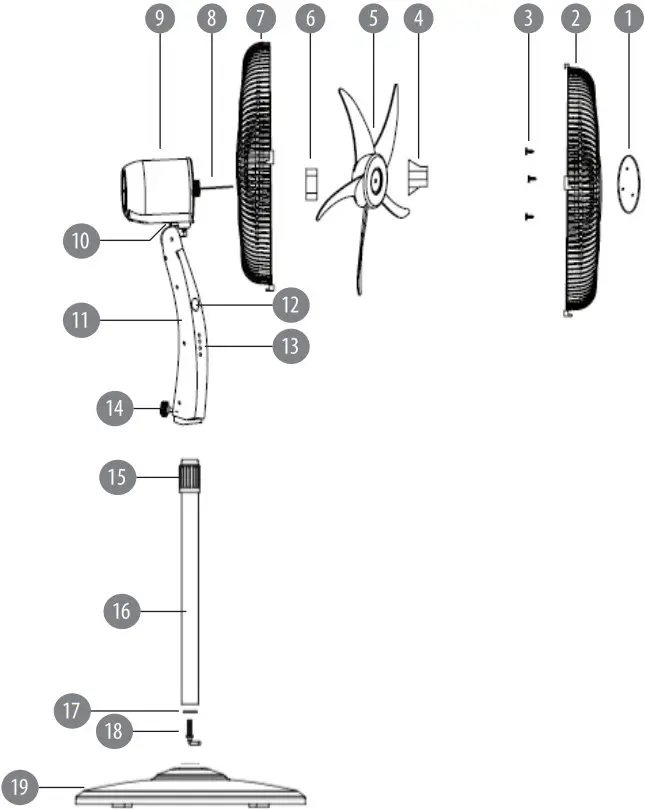
| 1. Front plate 2. Front guard 3. Screws 4. Blade screw 5. Blade 6. Rear guard screw 7. Rearguard 8. Motor shaft 9. Motor housing 10. Tilt angle adjustment screw | 11. Motor housing holder 12. Display 13. Buttons 14. Fastening screw 15. Height adjustment nut 16. Stand 17. Washer 18. 7-shape bolt 19. Base |
ASSEMBLY
BASE

| FIG.1 | FIG.2 | FIG.3 |
| 1. Unscrew the bolt and washer from the stand. | 2. Insert the stand into the base, attach the washer and tighten the bolt. | 3. Loosen the height adjustment nut and adjust the telescopic tube to the desired height. NOTE: If you cannot see the telescopic tube, it may have slid inside the stand. If such a case pulls it out from the stand. |
BLADE AND GUARDS
- Remove the rear guard screw from the motor shaft.
- Position the rearguard against the front of the motor housing through the motor shaft. Ensure that the handle at the rearguard is facing up and that all guiding pegs on the motor housing are lined up with the cutouts on the rear guard.
- Secure the read guard with the rear guard screw. Fasten it onto the motor housing by tightening it in a clockwise direction.
- Install the blade onto the motor shaft with the cutouts fitted.
- Fasten it into place by tightening the blade screw counter-clockwise.
- Attach the front plate to the front guard by tightening the screws.
- Attach the front guard to the rear guard with the clamps.
- Check the correct rotation of the blade.
BATTERY INSTALLATION
- Open the battery cover.
- Insert two 1,5 V AAA batteries with correct polarization (+/-).
- Close the battery cover.
Notes:
- Do not mix old and new batteries or batteries of different types.
- Always point the IR sensor of the remote control towards the control panel of the fan.
OPERATION
Note: Make sure the product is fully assembled before plugging it into the power supply socket.
- Place the fan on a flat stable surface.
- Plug the fan into power mains.
- If you want to adjust the tilt angle, loosen the screw underneath the motor housing, set the desired tilt angle, and tighten the screw.
- Press the ON/SPEED button to turn on the device.
- Keep pressing the ON/SPEED button to switch between three available speed modes.
- Press the SWING button to start or stop oscillation.
- Keep pressing the TIMER button to set the timer in 30 minute time intervals. After the timer runs out, the fan will automatically turn off.
- Keep pressing the MODE button on the remote control to switch between three available work modes:
• NORMAL: Normal mode of fan operation.
• NATURAL: Simulation of airflow under natural conditions.
• SLEEP: Fan gradually decreases and increases speed. - Press the OFF button to turn off the device.
CLEANING AND MAINTENANCE
- Prior to cleaning, disconnect the device from power mains.
- Clean this device with a soft, slightly damp cloth. Do not use any chemical agents to clean the fan.
- Dry the fan with a dry cloth after cleaning.
SPECIFICATION
FUNCTIONS
8-speed modes
3 working modes: normal, natural, sleep
Timer: 0,5-7,5 h
Automatic oscillation: 90°
Adjustable height: 114-130,5 cm
Adjustable tilt angle
Metal blade guard
TECHNICAL DATA
Power: 50 W
Grill diameter: 43 cm
Blade diameter: 38 cm
Power cable length: 1,5 m
Power supply: 220 – 240 V, 50/60 Hz
Inset: remote control, user’s manual
![]()
It is forbidden to place equipment waste marked with the symbol of a crossed-out trash bin together with other waste. This equipment is subject to collection and recycling. The harmful substances it contains can cause environmental pollution and pose a threat to human health.
![]()



















