Powertrak Cyclonic

Thanks for buying a BISSELL vacuum: We’re glad you purchased a BISSELL vacuum. Everything we know about floor care went into the design and construction of this complete, high-tech home cleaning system.
Your BISSELL vacuum is well made, and we back it with a limited one year warranty. We also stand behind it with a knowledgeable, dedicated Consumer Services department, so, should you ever have a problem, you’ll receive fast, considerate assistance.
My great-grandfather invented the floor sweeper in 1876. Today, BISSELL is a global leader in the design, manufacture, and service of high quality homecare products like your BISSELL vacuum .
Thanks again, from all of us at BISSELL.
IMPORTANT SAFETY INSTRUCTIONS
When using an electrical appliance, basic precautions should be observed, including the following:
READ ALL INSTRUCTIONS BEFORE USING YOUR UPRIGHT VACUUM.
Always connect to a polarized outlet (left slot is wider than right). Unplug from outlet when not in use and before conducting maintenance.
To reduce the risk of fire, electric shock, or injury:
- Do not modify the polarized plug to fit a non-polarized outlet or extension cord.
- Do not leave vacuum cleaner unattended when it is plugged in.
- Unplug from outlet when not in use and before servicing.
- Unplug before attaching the TurboBrush.
- Do not use outdoors or on wet surfaces.
- Do not allow children to operate vacuum cleaner or use as a toy.
- Close attention is necessary when used by or near children.
- Do not use for any purpose other than described in this user’s guide.
- Use only manufacturer’s recommended attachments.
- Do not use with damaged cord or plug.
- If appliance is not working as it should, has been dropped, damaged, left outdoors, or dropped into water, have it repaired at an authorized service center.
- Do not pull or carry by cord, use cord as a handle, close a door on cord, or pull cord around sharp edges or corners. Do not run appliance over cord. Keep cord away from heated surfaces.
- Do not unplug by pulling on cord. To unplug, grasp the plug, not the cord.
- Do not handle vacuum cleaner or plug with wet hands.
- Do not put any object into openings. Do not use with any opening blocked; keep openings free of dust, lint, hair, and anything that may reduce air flow.
- Keep hair, loose clothing, fingers, and all parts of body away from openings and moving parts.
- Turn off all controls before plugging or unplugging vacuum cleaner.
- Use extra care when cleaning stairs.
- Do not pick up flammable materials (lighter fluid, gasoline, kerosene, etc.) or use in the presence of explosive liquids or vapors.
- Do not pick up toxic material (chlorine bleach, ammonia, drain cleaner, etc.).
- Do not use vacuum cleaner in an enclosed space filled with vapors given off by oil base paint, paint thinner, some moth proofing substances, flammable dust, or other explosive or toxic vapors.
- Do not pick up hard or sharp objects such as glass, nails, screws, coins, etc.
- Do not pick up anything that is burning or smoking, such as cigarettes, matches, or hot ashes.
- Do not use without filters in place.
- Use only on dry, indoor surfaces.
- Keep appliance on a level surface.
- Do not carry the vacuum cleaner while it is running.
SAVE THESE INSTRUCTIONS FOR FUTURE USE
THIS APPLIANCE HAS A POLARIZED PLUG.
To reduce the risk of electric shock, this appliance has a polarized plug (one blade is wider than the other). This plug will fit in a polarized outlet only one way. If the plug does not fit fully in the outlet, reverse the plug. If it still does not fit, contact a qualified electrician to install a proper outlet. Do not change the plug in any way.
This model is for household use only.
Product view

Assembly
The only tool you’ll need to assemble your vacuum cleaner is a Phillips screwdriver.
Attach handle to vacuum
- Locate the handle and cord wrap. Remove the screw packet taped to the handle.
- Stand the vacuum upright and from the rear of the unit, slide the base of the handle firmly into the grooves at the top of the vacuum body.
- IMPORTANT “ before inserting the screws into the handle, slide the cord wrap into the handle.
- Ensure that the handle and cord wrap are firmly fit to the vacuum body. If there are any gaps, continue to push firmly until the handle and cord wrap are flush.
- Insert 2 of the screws provided (3 total) into the existing holes, attaching the cord wrap and handle to the body of the vacuum. Tighten securely with a screwdriver.
- Attach the hose and cord clip by snapping it into the handle of the unit. Secure it by inserting the screw provided.
- Attach the lower hose clip by snapping it into place and twisting to the right.

CAUTION: Do not plug in your vacuum cleaner until you are familiar with all instructions and operating procedures.
WARNING: Plastic film can be dangerous. To avoid danger of suffocation, keep away from babies and children.
Attach vacuum hose and tools
- Line up the tabs on the base of the Twist ‘n Snap hose with the corresponding notches on the hose collar as shown.
- Turn the Twist ‘n Snap hose to the left to lock the hose into place.
- Connect the curved hose wand to the hose. Grasping the curved hose wand, slide the end of the curved hose wand onto the hose wand base. Snap the hose into the hose clip.
NOTE: The vacuum will not operate effectively unless the curved hose wand is firmly attached. - Slide the extension wand and crevice tool together into the storage clip.
- Slide the dusting brush/upholstery tool into the storage clip.
- Attach the TurboBrush by snapping it onto the top cap of the upper tank.
CAUTION: Before using your vacuum, make sure that the dirt container is in the locked position and that all filters (pre-motor and post-motor) are in place. Do not operate your vacuum without these filters.
NOTICE: For above floor cleaning, the floor brush will continue to rotate but is raised above floor. To prevent carpet damage, do not lean on the vacuum or let the powerfoot tilt forward.
CAUTION: To avoid personal injury and to prevent the cleaner from falling when cleaning stairs, always place it at the bottom of the stairs.
Handle positions
Press the handle release pedal, located on the lower left side of the vacuum, with your foot to place your vacuum into one of three cleaning positions.
- Upright – For storage and above floor cleaning with tools.
- Normal Cleaning – Press handle release pedal once. Position used for most household floor cleaning tasks.
- Low Cleaning – With the vacuum in normal cleaning position, press handle release pedal again. Use for reaching under low furniture such as tables, chairs or beds.
Tip: Before cleaning under low furniture, check area first for objects that might harm the unit or block the vacuum hose.
Height adjustment
The powerfoot/rotating floor brush on your vacuum can be adjusted to clean several floor surfaces.
NOTE: For optimal cleaning performance, adjust to the lowest practical setting. If your cleaner is difficult to push, adjust to the next higher setting.
Turn height adjustment knob to desired setting:
Bare Floor For non-carpeted, indoor surfaces
Lowest Setting For short pile carpets
Medium Setting For short and medium pile carpets
Highest Setting For plush pile carpet
Transporting cleaner

- To move your cleaner from room to room, put the handle in the upright position, tilt the cleaner back on its rear wheels and push forward.
- The cleaner can also be moved by using the carrying handle.
Operation
Clean filter indicator
NOTICE: While vacuuming, certain carpets and low humidity conditions may generate small static discharges. The discharges are entirely harmless and are not associated in any way with the main power supply.
Select Models Only
The clean filter indicator tells you when the air flow in your vacuum is reduced due to dirty filters or a clog in the hose. The clean filter indicator will remain green while the unit is running until the airflow is reduced by a clog or dirty filter. At that time, it begins to change to red or black. When it is fully red, the airflow is significantly reduced or clogged by a dirty filter. Follow the steps on page 11 to clean your filters. All filters in the vacuum should be cleaned or replaced when the clean filter indicator turns red.
If the indicator turns black, it means you have a clog in your hose. To check and remove the clog, remove the hose from the unit by turning the Twist ‘n Snap hose to the right. Try to visually locate the clog. Once you have done this, use a blunt long object such as a broom handle to loosen and remove the debris. Once this is completed, reassemble the hose to the unit.
If the indicator remains red or black with the vacuum running, follow the steps on page 15 to check for and clear clogs.
NOTE: When your vacuum is turned off, the clean filter indicator will go to the red color setting. The clean filter indicator only detects reductions in airflow when the vacuum power is on.
Special on-board tools
Your vacuum is not only a powerful carpet and rug cleaner, it’s also a versatile above floor vacuum cleaner when you select one of the special tools.
- Raise the handle to the upright position.
- Grasp the curved hose wand handle to separate from hose wand base.
- Attach tools by firmly pushing onto vacuum hose, curved hose wand or extension wand. They are a friction fit, so be sure the hose and tool fit snuggly together.
Dusting Brush/Upholstery Tool: Two types of cleaning tools in one attachment.
- Use the dusting brush to dust furniture, blinds, books, lamps, shelves and baseboards.
- Slide the brush off to use the upholstery tool on cushions, draperies and fabrics.
Crevice Tool: Use in tight narrow spaces. Extension Wand: Use with desired attachment for a longer reach.
Curved Hose Wand: Use with desired attachment for a longer reach or for cleaning hard to reach places.
TurboBrush®: Use rotating brush action for small areas such as stairs and upholstery.
NOTE: Press gently when using the TurboBrush to maximize cleaning. Too much pressure will cause the brush to stop rotating.
Power cord usage
- To use your vacuum, remove the cord and plug it into an electrical outlet. For your convenience, there are two quick release cord wraps for easy cord removal. There is also a cord clip that is part of the upper cord wrap where you can attach the cord when vacuuming.
- When you are finished cleaning, turn vacuum cleaner off.
- Unplug power cord by grasping the polarized plug (NOT the cord) and disconnect from outlet.
- Loop power cord around cord wraps on rear of vacuum cleaner. Be sure to first return the quick release cord wraps back to their original position before wrapping the cord.
- Clip molded plug to power cord to secure.
NOTICE: The floor brush will continue to rotate while you use your vacuum for above floor cleaning. To prevent carpet damage, do not lean on the vacuum or let the powerfoot tilt forward.
CAUTION: The rotating floor brush continues to rotate while tools are in use. To reduce the risk of injury from moving parts, always move the cleaner with the carrying handle. Always place vacuum cleaner on the floor with handle in upright position when using tools. Never place your fingers under the cleaner when it is running. Never place powerfoot on furniture or uneven surfaces. Do not place vacuum cleaner close enough to objects to pull them into rotating brush.
Maintenance and care
To maximize your cleaning performance and extend the life of your vacuum, it is very important that you empty your dirt container and check and clean your filters frequently. Perform the following maintenance steps:
- Empty the dirt container when the dirt reaches the “Full” line on the container, or more frequently to prevent overfills. For best performance, empty after each use.
- Check the pre-motor filter and post-motor filter at least once a month, clean or replace as needed.
NOTE: Be sure to clean or replace your filters anytime the clean filter indicator (select models only) begins to turn red. - Replace the post-motor filter every three to six months.
NOTE: More frequent filter cleaning may be necessary if you are vacuuming new carpet, fine dust, or have allergy concerns. Follow the instructions on the following pages to perform these simple maintenance steps.
WARNING: To reduce the risk of electric shock, turn power switch OFF and disconnect polarized plug from electrical outlet before performing maintenance or troubleshooting checks.
Tip: To maximize cleaning performance, check and clean or replace all filters as suggested.
Empty dirt container
The dirt container needs to be emptied when the dirt reaches the “Full” line on the container.
- Unplug the vacuum from electrical outlet
- Slide the Lock ‘n Seal Lever to the “Unlock” position.
- Grasp handle and pull the dirt container straight out to remove from the vacuum.
- Empty dirt into garbage container.
NOTE: Emptying the dirt container after every use will help prevent over filling and ensure that the vacuum is ready to go the next time you clean.
Cleaning the pre-motor and replacing the post-motor filter
- Unplug the vacuum from electrical outlet.
- The pre-motor filter protects the motor from dirt particles. It is located in the slide out tray underneath the dirt container. If the filter becomes dirty, pull out the tray, lift out the foam filter pad and clean it.
NOTE: The pre-motor filter may be hand washed in cold water with mild detergent. Rinse well and air dry thoroughly before replacing. - The post-motor filter assists in the filtration process to return clean air to the room. It is located behind the door on the side of the vacuum. If the filter becomes dirty, open the door, remove the filter and replace.
NOTE: The post-motor filter is a white, pleated filter. This filter is not washable and must be replaced when it becomes dirty.
WARNING: Do not operate cleaner with damp or wet filters or without all filters in place.
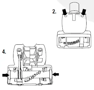
Check rotating floor brush and drive belt
You should check your vacuum cleaner’s rotating floor brush and drive belt regularly for wear or damage. You should also clean the brush and brush ends of strings, hair and carpet fibers. This type of debris can wrap around the brush and hamper its ability to effectively clean your carpet. Also remove any debris that has accumulated under the brush cover.
- Unplug the vacuum from electrical outlet.
- Place handle in low position and turn vacuum cleaner over so bottom side is facing up.
- Lift tab 1 and release the three latches in order 2-4 marked. Lift off the brush cover.
- Grasp rotating floor brush at both ends and lift.
- Clean strings, hair and other debris from rotating floor brush, paying particular attention to brush ends.
- Clean strings, hair and other debris from motor pulley and drive belt areas.
- Check drive belt carefully for wear, cuts or stressed areas.
- Check air passageway for obstructions. Remove debris from this area.
WARNING: To reduce the risk of injury from moving parts, turn vacuum cleaner off and disconnect power plug from electrical outlet.
Replace drive belt
- Unplug the vacuum from electrical outlet.
- With rotating floor brush removed from vacuum cleaner (Steps 1-4 of check rotating floor brush and drive belt), grasp old drive belt and remove from motor pulley. Discard the old drive belt.
- Place new drive belt over motor pulley and loop other end over rotating floor brush in the space between the bristles. NOTE: It is important that you use only genuine BISSELL replacement belts. Generic belts may not meet the exacting specifications required to keep your vacuum operating at its peak performance. The use of unbranded belts could lead to early failure of the vacuum and could void your warranty.
- Pull the rotating floor brush firmly into position, stretching the drive belt and place ends of rotating floor brush down into the slots on sides as shown. Alignment of brush ends in slots may be necessary to fully insert the brush.
- Turn rotating floor brush by hand several times in the direction of motor pulley. If properly installed, drive belt will center itself on rotating brush crown.
- Insert front edge of brush cover, rotate into place, and snap 3 latches.
Replace lightbulb
- Unplug the vacuum from electrical outlet.
- Using a flat bladed screwdriver, pry the tab on the left and right side out and pull out to remove the lens.
- Remove the bulb from the socket by grasping the bulb and pulling gently. Install the new bulb by pushing it gently into the socket until the bulb snaps into place.
- Reposition the lens and snap it back into place.
Maintaining TurboBrush
The TurboBrush should be checked regularly for clogs or debris wrapping around the brush.
- Unplug the vacuum from electrical outlet.
- If a clog is present or debris is visible, unscrew the two screws on the back of the TurboBrush to remove the faceplate and clear any obstructions.
- To clean debris from the brush, remove the brush from the drive belt and clean debris.
- Reposition the drive belt on the brush. Place ends of brush in slots on sides as shown. Reposition faceplate and secure with two screws.
Maintaining pet hair TurboBrush
Select models only: Use for removing pet hair from stairs, upholstery, area rugs and other small areas.
- Attach to the end of the hose or extension wand.
- Pull toward you in a raking motion. Press gently when using the Pet Hair TurboBrush to gain maximum cleaning. Too much pressure could damage the pet hair grabbers or cause the brush to stop rotating.
See standard TurboBrush instructions above for storage and maintenance information.
NOTE: This tool is designed to remove pet hair from upholstered or carpeted surfaces. It should not be used on pets.
Clearing clogs
Low suction or poor pickup may be due to a clog in the vacuum cleaner. If you notice a change in the sound of the motor, check for clogs. 
- Unplug the vacuum from electrical outlet.
- Empty dirt container.
- Check upper tank for build up or clogs.
- If you notice a clog in the upper tank, flip the separator plate down, remove the debris barrier, if necessary, and remove the article causing the clog. Replace debris barrier and flip separator door back to its original posi-tion. (see section “Cleaning the Upper Tank” on page 16).
- Grasp the curved wand and separate it from the hose wand base. Check for a clog in the base, the wand or in the hose.
NOTE: On select units that have the clean filter indicator, when the indicator reads black, there is a clog in the hose which is diminishing suction power. Remove the clog in the hose to restore full suction power. - Remove the Twist ‘n Snap hose from the vacuum by turning to the right. Straighten the hose and unclog with a long, narrow object.
- If you notice debris or dirt clogged in the connecting tube, remove it by pulling it out at the top and lifting the tube out. Clean the tube of any debris and clear any possible clog from the port to the pre-motor filter. Reattach tube by first installing the base and than push in the top of the tube.
- If the clog persists, follow the instructions for checking the rotating floor brush and drive belt on page 12 and inspect the air passageway for obstructions.
Cleaning the upper tank
- Unplug the vacuum from electrical outlet.
- Remove the dirt container as instructed in “Empty Dirt Container” on page 10.
- Flip separator plate down.
- Remove debris barrier by pulling straight down.
- Wipe out the inside of the upper tank and the separator plate with a damp cloth moistened with water or a mild cleaning solution.
- Replace debris barrier and flip separator plate up; returning to original position.
- Replace the dirt container.
Troubleshooting
Vacuum cleaner won’t run
Possible causes
- Power cord not plugged in
- Blown fuse/tripped breaker in home
Remedies
- Check electrical plug
- Check/replace fuse or reset breaker.
Vacuum cleaner and tools won’t pick up dirt
Possible causes
- Incorrect height adjustment
- Hose not attached to suction opening
- Twist ‘n Snap hose not securely attached
- Crack or hole in hose
- Broken or worn drive belt
- Rotating floor brush bristles worn
- Rotating floor brush jammed
- Clog in vacuum
- Dirt container full
- Dirt container not installed properly
- Filters are dirty
- TurboBrush is clogged or debris is wrapped around the brush roll
Remedies
- Adjust powerfoot to correct height
- Firmly push curved hose wand into hose wand base
- Make sure Twist ‘n Snap hose is snapped into locked position
- Check hose and replace if needed
- Replace drive belt, see pages 12-13
- Replace brusha
- Remove brush and clean debris from brush ends
- Clear clogs, see page 15
- Empty dirt container
- Position correctly and lock in place
- Check pre-motor and post-motor filters
- Maintaining TurboBrush, see page 14
Vacuum cleaner is difficult to push
Possible causes
- Incorrect height setting
Remedies
- Adjust powerfoot to correct height setting
Visible dirt escaping from cleaner
Possible causes
- Dirt container full
- Filters missing or installed incorrectly
- Dirt container installed incorrectly
Remedies
- Empty dirt container
- Check pre-motor and post-motor filters for correct installation
- Pull out and re-insert dirt container correctly
Replacement parts – BISSELL Vacuum
You may purchase parts from your retailer, by calling BISSELL Consumer Services or by visiting our website. Below is a list of common replacement parts. While not all of these parts may have come with your specific model, they are available for purchase if desired. Please note, all attachments may not store on board your vacuum.
Item | Part No. | Part Name |
1 | 32074 | Style 7/9/10/12/14 Drive Belt (2-Pack) |
2 | 203-1297 | Headlight Bulb |
3 | 203-1063 | Crevice Tool |
4 | 203-1228 | Dusting Brush/Upholstery Tool |
5 | 203-2302 | TurboBrush, clear top with black brush roll |
6 | 203-1022 | Extension Wand |
7 | 203-2303 | Curved Hose Wand |
8 | 203-2304 | Twist ‘n Snap Vacuum Hose (clear) |
9 | 203-2305 | Wide Window Foot Brush Roll (gray) |
10 | 3290 | Style 7/8/14 Pre-Motor Foam Filter |
11 | 3091 | Style 8/14 Post-Motor Filter |
12 | 203-2306 | Hose & Cord Wrap |
13 | 203-2307 | Cord Clip |
14 | 203-2308 | Hose Clip |

Warranty
This warranty gives you specific legal rights, and you may also have other rights which may vary from state to state. If you need additional instruction regarding this warranty or have questions regarding what it may cover, please contact BISSELL Consumer Services by E-mail, telephone, or regular mail as described below.
Limited One Year Warranty
Subject to the *EXCEPTIONS AND EXCLUSIONS identified below, upon receipt of the product BISSELL Homecare, Inc. will repair or replace (with new or remanufactured components or products), at BISSELL’s option, free of charge from the date of purchase by the original purchaser, for one years any defective or malfunctioning part.
See information below on “If your BISSELL product should require service”.
This warranty applies to product used for personal, and not commercial or rental service. This warranty does not apply to fans or routine maintenance components such as filters, belts, or brushes. Damage or malfunction caused by negligence, abuse, neglect, unauthorized repair, or any other use not in accordance with the User’s Guide is not covered.
If your BISSELL product should require service:
Contact BISSELL Consumer Services to locate a BISSELL Authorized Service Center in your area.
If you need information about repairs or replacement parts, or if you have questions about your warranty, contact BISSELL Consumer Services.
Website or E-mail: www.bissell.com
Use the “Customer Services” tab.
Or Call: BISSELL Consumer Services 1-800-237-7691
Monday – Friday 8 a.m. – 10 p.m. ET
Saturday 9 a.m. – 8 p.m. ET
Or Write: BISSELL Homecare, Inc.
PO Box 3606
Grand Rapids MI 49501
ATTN: Consumer Services
BISSELL HOMECARE, INC. IS NOT LIABLE FOR INCIDENTAL OR CONSEQUENTIAL DAMAGES OF ANY NATURE ASSOCIATED WITH THE USE OF THIS PRODUCT. BISSELL’S LIABILITY WILL NOT EXCEED THE PURCHASE PRICE OF THE PRODUCT.
Some states do not allow the exclusion or limitation of incidental or consequential damages, so the above limitation or exclusion may not apply to you.
*EXCEPTIONS AND EXCLUSIONS FROM THE TERMS OF THE LIMITED WARRANTY
THIS WARRANTY IS EXCLUSIVE AND IN LIEU OF ANY OTHER WARRANTIES EITHER ORAL OR WRITTEN. ANY IMPLIED WARRANTIES WHICH MAY ARISE BY OPERATION OF LAW, INCLUDING THE IMPLIED WARRANTIES OF MERCHANTABILITY AND FITNESS FOR A PARTICULAR PURPOSE, ARE LIMITED TO THE ONE YEAR DURATION
Bissell 6390/ 3910 Series Powertrak Cyclonic/ Momentum BAGLESS VACUUM User’s Guide – Download [optimized]
Bissell 6390/ 3910 Series Powertrak Cyclonic/ Momentum BAGLESS VACUUM User’s Guide – Download

































