HENN C367-05 Countertop for American Built-in Oven

Product Information
| Product Name | ITM/C367 |
|---|---|
| Revision | 000 |
| Contact Number | +55 49 3674.3500 |
| Website | @moveishenn |
Product Usage Instructions
- Check all the components included in the box before starting the assembly.
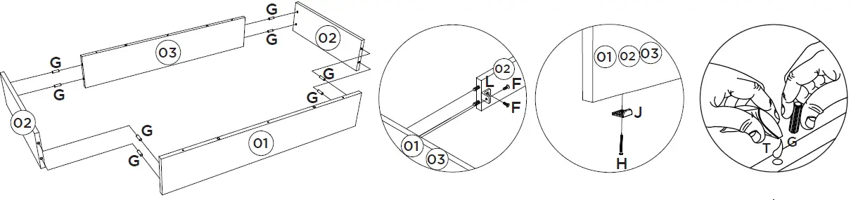
- Follow the assembly system indicated by the numbers on the components. Start with component number 01 and proceed in increasing order.
- If you choose to put a foot in the product, use the pre-drillings in the Base and fix it with the Screw included in the Kit.
- To clean your furniture, use a dry or wet cloth. Do not use chemicals that may damage the product.
- If you want to fix the furniture to the wall, use the mounting bracket (Q), the 3.5x14mm FLA (E) screw, the 8mm bushing (P), and the 5.0x50mm FLA screw (A).
- The screw (N) should only be used when attaching this module to another Henn modular module.
- If you purchase the optional top (C904-114 or C904-128), follow the additional instructions provided separately.
- Use the glue sachet (T) on all the pegs (G) of the product.
Assembly Requirements:
| Box | Item | Quantity |
|---|---|---|
| 01 | Base | 1 |
| 02 | Lateral esquerda | 1 |
| 03 | Lateral direita | 1 |
| 04 | Vista Lateral | 2 |
| 05 | Fundo | 1 |
| 06 | Ferragens | 1 pack |
Hardware:
| Description | Quantity |
|---|---|
| Screw 5,0x50mm FLA | 4 |
| Screw 4,5x50mm CHT | 3 |
| Screw 4,0x25mm CHT | 2 |
| Screw 3,5x40mm CHT | 14 |
| Screw 3,5x14mm FLA | 52 |
| Screw 3,5x12mm CHT | 15 |
| Dowel 8x25mm | 20 |
| Ringed Nails 12x12mm | 4 |
| Plastic angle brackets | 2 |
| Union Screw 30mm | 2 |
| Profile H 785mm | 1 |
| 8mm plastic bushing | 1 |
| Glue bag | 1 |
BALCONY FOR BUILT-IN OVEN AMERICANA
Assembly Requirements

Images for illustration only 
List of parts
| Item | Box | Qty | Description | Size (measurements) (mm) |
| 01 | 1/1 | 01 | Front Footer | 799x145x15 |
| 02 | 1/1 | 02 | Side Footer | 450x145x15 |
| 03 | 1/1 | 01 | Rear Footer | 767x145x15 |
| 04 | 1/1 | 01 | Base | 800x490x15 |
| 05 | 1/1 | 01 | Left side | 660x490x15 |
| 06 | 1/1 | 01 | Right side | 660x490x15 |
| 07 | 1/1 | 01 | Front crossbar | 769x60x15 |
| 08 | 1/1 | 01 | Rear bumper | 769x60x15 |
| 09 | 1/1 | 02 | Larger Front View | 798x128x15 |
| 10 | 1/1 | 02 | Side view | 414x104x15 |
| 11 | 1/1 | 02 | Support Plate | 420x118x25 |
| 12 | 1/1 | 02 | Bottom | 793x312x3 |
OPTIONAL: O944-121 Tapered Foot Kit 145mm (sold separately). If you choose to put foot in the product, use the pre-drillings in the Base and fi x it with the Screw included in the Kit.
ASSEMBLY SYSTEM
The products’ assembly system works according to the increasing order of the indicated numbers. For example: 01, 02, 03, 04 … to the end of the assembly.
Hardware

The screw (N) should be used only when this module is attached to another Henn modular module.
RECOMMENDATION
To fi x the furniture to the wall use the mounting bracket (Q), the 3.5x14mm FLA (E) screw, the 8mm bushing (P) and the 5.0x50mm FLA screw (A).
Use the glue sachet (T) on all the pegs (G) of the product.
























