
User Manual
DDAL-SW3Bx
Important: Read all instructions prior to installation.
Field-Selectable Wattage and CCT LED
Dusk-to-Dawn Area Light
Safety and Notes
- The product should be installed by a certified electrician in accordance with applicable national, state, and local building and electrical codes.
- To reduce the risk of electric shock, ensure that the main power source and circuit breakers are switched off before performing any installation or wiring procedures.
- Avoid looking directly into the lamp when illuminated.
- Ensure all amounts are securely attached and will support the weight of the fixture. Failure to properly support the fixture may result in damage or injury, for which the
manufacturer does not assume responsibility.
Photocell Operation
Included photocell sensor switches the light on when ambient light goes below 40 lx, and off when ambient light goes back above 125 lx.
Parts Included
– area light
– pole mount bracket
– access plate (for wall installation)
– hardware kit
Specifications
| Model | DDAL-SW3Bx |
| Environmental Rating | IP65 |
| Operating Temperature | -40°–113° F (-40°–45° C) |
Check the product labels for specific electrical specifications related to installation.
Improper installation will void the warranty.
CCT and Wattage Selection
CCT and wattage are selected using the DIP switch on the front of the light. 
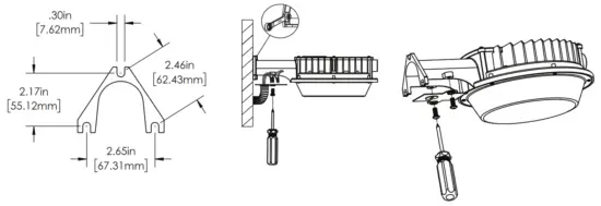
Wall Mount Installation
- Remove supply power.
- Measure mounting flange and drill three pilot holes.
- Partially thread the bottom two lag screws in place.
- Place light over to lower lag screws and install third lag screw, then tighten all lag screws.
- Make all electrical connections. The wire should pass through rear or lower access plate knockout using a conduit.
- Attach access plate to light.
- Restore supply power.
- Remove cap and adjust wattage and CCT to the desired value. Replace cap to prevent damage to switch.

Pole Mount Installation
- Remove supply power.
- Make all electrical connections.
- Loosely attach pole mount bracket to light.
- Slide light over the pole (max diameter 1.75” OD) and tighten the mount bracket.
Note: Overtightening bracket may result in damage to pole or bracket. - Restore supply power.
- Remove cap and adjust wattage and CCT to the desired value. Replace cap to prevent damage to switch.


4400 Earth City Expy, St. Louis, MO 63045
866-590-3533 superbrightleds.com
Rev Date: V1 11/01/2021



















