SubZero SZ-PRAXIS10 Praxis Musician Monitor User Manual

WARNING!
Do not open cover. No user-serviceable parts inside. Refer servicing to qualified service personnel
Do not place the product in a location near a heat source such as a radiator, or in an area subject to direct sunlight, excessive dust, mechanical vibration or shock
The product must not be exposed to dripping or splashing and no objects filled with liquids, such as vases, shall be placed on the product
No naked flame sources, such as lighted candles, should be placed on the product
Allow adequate air circulation and avoid obstructing vents (if present) to prevent internal heat build-up. The ventilation must not be impeded by covering the appliance with items such as newspapers, table-cloths, curtains etc.
The mains plug is used to disconnect the appliance from the mains supply. Ensure that the mains outlet is easily-accessible and remove the plug from the mains outlet if you notice any abnormality with the appliance.
Disconnect from mains before cleaning! Never use solvents or aggressive detergents in order to clean the device! Rather use a soft and damp cloth.
INTRODUCTION
Thank you for purchasing the SubZero Musicians Monitor. To get the most from your new product, please read this manual carefully.
BOX CONTENTS
- 1 x SZ-PRAXIS10 / SZ-PRAXIS-12
- 1 X UK power cable
- 1 x EU power cable
- 1 x User manual
FEATURES
- Hear every last nuance thanks to the expansive 50/55Hz-19kHz frequency response.
- Class D / AB amplification system ensures super-silent, low energy operation.
- Choose between three angles to find the position that suits you best.
- DSP presets provide performance ready results, designed to inspire.
OVERVIEW

- IEC Socket with Fuse holder
Power input. Please use the power cable provided in the box. Always replace fuse with the correct type and rating for your supply voltage. - INPUTS
Two individual combination XLR / Jack inputs to receive connection from instruments, playback devices or mixing desks. Each Input has dedicated level control. - DSP MODES
Press the DSP MODE button to scroll through the
Tone/DSP modes.
1. NORMAL
2. GUITAR
3. KEYBOARD
4. DRUM - VOLTAGE SELECT SWITCH
Although every effort has been made to select the correct voltage for the region of use, please check before powering up for the first time. - POWER SWITCH
Turns the Monitor on or off. - MIX OUT
Both Inputs 1 and 2 are sent to the line level Mix Out output channel. - MASTER VOLUME
Controls the overall output level. - LED SWITCH
Turns the blue front LED on/off.
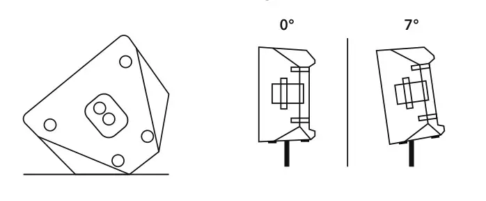
USE WITH SPEAKER STAND
The SubZero Praxis can be used with a standard 35mm PA Speaker Stand, and features two pole mounting sockets which enable the monitor to be angled perfectly for the performer.
The front socket is set to 0 degrees. The rear socket is set to 7 degrees.

DIGITAL SIGNAL PROCESSING (DSP) PRESETS

The Praxis includes built-in presets, so you get the optimum sound for your venue. The advanced Digital Signal Processing (DSP) has been specially designed to enable you to get the best possible sound from your instrument, whether rehearsing or performing.
The four presets have been carefully fine-tuned by professional audio engineers and are easily selected at the touch of a button.
We’ve taken care of the technology, so you can concentrate on making your experience the best it can be.
NORMAL

A flat frequency curve which gives a natural representation of your instruments sound.
GUITAR

An altered frequency response designed to accentuate the tones and timbres of most electric or electro-acoustic guitars.
KEYBOARD

An altered frequency response designed to highlight the natural tones of most electric pianos and keyboards.
DRUMS

An altered frequency response designed to emphasise the sound of most electric drum kits.
SPECIFICATIONS
PRAXIS10
Frequency Response . . . . . . . 55Hz – 19KHz
Power Output (RMS/Peak) . . 300W RMS / 430W Peak / 1200W Max
Max SPL (Peak) . . . . . . . . . . . . 132dB
Amplifier Type . . . . . . . . . . . . Class D + AB
Coverage Angle . . . . . . . . . . . 120degress x 20degrees
LF Transducer . . . . . . . . . . . . . 10” Woofer, 2” Voice Coil
HF Transducer . . . . . . . . . . . . . 3 x 2.75” Wideband Speakers
Cross Over Frequency . . . . . . 1.1KHz
Handles . . . . . . . . . . . . . . . . . . 1 x Top, 2 x Sides
Material . . . . . . . . . . . . . . . . . . PP
Pole Socket . . . . . . . . . . . . . . . 2 x 35mm (0 degress, 7 degrees)
Input Connections . . . . . . . . . 2 x Balanced Combi XLR/Jack
Output Connections . . . . . . . 1 x Balanced XLR Dimensions
(W x H x D) . . . . . . . . . . . . . . . . 540 x 325 310mm
Weight . . . . . . . . . . . . . . . . . . . 12.3kg
Input Power . . . . . . . . . . . . . . . 110-120V/220-240V
Fuse . . . . . . . . . . . . . . . . . . . . . 250V, T2A/120V, T4A
Power Consumption . . . . . . . 300W
PRAXIS12
Frequency Response . . . . . . . 50Hz – 19KHz
Power Output (RMS/Peak) . . 400W RMS / 570W Peak / 1600W Max
Max SPL (Peak) . . . . . . . . . . . . 134dB
Amplifier Type . . . . . . . . . . . . Class D + AB
Coverage Angle . . . . . . . . . . . 120degress x 20degrees
LF Transducer . . . . . . . . . . . . . 12” Woofer, 2.36” Voice Coil
HF Transducer . . . . . . . . . . . . . 3 x 2.75” Wideband Speakers
Cross Over Frequency . . . . . . 1.0KHz
Handles . . . . . . . . . . . . . . . . . . 1 x Top, 2 x Sides
Material . . . . . . . . . . . . . . . . . . PP
Pole Socket . . . . . . . . . . . . . . . 2 x 35mm (0 degress, 7 degrees)
Input Connections . . . . . . . . . 2 x Balanced Combi XLR/Jack
Output Connections . . . . . . . 1 x Balanced XLR Dimensions
(W x H x D) . . . . . . . . . . . . . . . . 420 x 665 x 410mm
Weight . . . . . . . . . . . . . . . . . . . 14.9kg
Input Power . . . . . . . . . . . . . . . 110-120V/220-240V
Fuse . . . . . . . . . . . . . . . . . . . . . 250V, T3.15A/120V, T6.30A
Power Consumption . . . . . . . 400W
KETTLESTRING LANE | YORK | YO30 4XF | UNITED KINGDOM
If you have any more questions about this product, please do not hesitate to contact the
Gear4music Customer Service Team on: +44 (0) 330 365 4444 or [email protected]




![Philips Gaming Monitor [272e1] User Manual Philips Gaming Monitor [272e1] User Manual](https://static-data1.manualsee.com/1/img/407/16107/2020/12/Philips-Gaming-Monitor-272E1.jpg)













