
Network Fixed Dome Cameras
Quick Guide
Waterproof Requirements
Please waterproof cables in accordance with the following instructions. User shall assume all responsibility for device damage caused by water due to improper waterproof measures.
NOTE!
- Before you start, connect all the needed cables and cut off the copper wires for the cables that you don’t use.
- Please use self-adhesive waterproof tape (supplied with some products) to protect the cables.
- Use waterproof components to protect the network cable. Waterproof the power cable separately if you don’t use it. The video cable does not need waterproof treatment.
- Use insulation tape (not included in the package) to insulate the connection part of each cable.

- Waterproof the cables with self-adhesive waterproof tape.
(1) Fully stretch the waterproof tape at both ends.
(2) Wrap the connection part and the cable ends tightly with waterproof tape.
Make sure the tape is fully stretched during the process.
(3) Tighten the tape at both ends to prevent water leakage.
- Install the supplied waterproof components to the network cable in sequence.

CAUTION!
You need to mount the rubber ring onto the network cable interface first. - If your camera has a DC cable and you will not use it, insert the plug into the interface.

- (Optional) After the waterproof treatment is completed, put the cables into a waterproof junction box (purchased separately).
CAUTION!
- The cable connector must not be exposed and must be kept away from water.
- Restore and fasten the device after dismounting.
- Place the power adapter in a power distribution box.
Packing List
Contact your local dealer if the package is damaged or incomplete. The attachments may vary with models, please see the actual model for details.
| No. | Name | Qty | Unit |
| 1 | Camera | 1 | PCS |
| 2* | Waterproof components(1) | 1 | Set |
| 3* | Screw components(2) | 1 | Set |
| 4* | Mount accessory (3) | 1 | Set |
| 5 | User manual | 1 | Set |
Remarks:
* means optional and supplied with certain models only.
- Including one or more waterproof components such as tape and plug.
- Including one or more accessories such as screws and a hex key.
- Including one or more items from the drilling template, bracket adapter, anti-static gloves, etc.
Safety Instructions
Installation and removal of the unit and its accessories must be carried out by qualified personnel. You must read all of the safety instructions before installation and operation.
2.1 Precautions
- Use a power adapter or a PoE device that meets the requirements. Otherwise, the device may be damaged.
- Be careful not to blur, scratch, damage the dome cover or leave fingerprints on it because this could decrease image quality. Keep the protective film on the dome cover until installation is complete.
- Make sure the length of the power cable between the power adapter and the camera is not too long, otherwise the voltage of the camera is lowered, causing the camera to work abnormally. If it is required to lengthen the power cable, lengthen the cable between the power adapter and the mains.
- Do not overbend the cables during the installation, otherwise, poor cable contact may cause malfunction.
- When connecting to an external interface, use an existing connection terminal, and ensure that the cable terminal (latch or clamp) is in good condition and properly fastened. Ensure that the cable is not tense during mounting, with a proper margin reserved to avoid poor port contact or loosening caused by shock or shake.
- During transportation, special attention is required to protect the transparent dome cover from friction, scratch, stain, etc. Do not remove the protective film from the cover until the mounting is finished. Remove the protective film before powering on the device.
- Make sure the wall or ceiling is strong enough to support the weight of the camera. If dust falls during mounting, take off the dome cover and keep it away from dust. Install the dome cover after the base is installed.
- Contact professionals for maintenance information. Do not attempt to dismantle the device by yourself. We shall not assume any responsibility for problems caused by unauthorized repair or maintenance.
2.2 Maintenance
- If there is dust on the front glass surface, remove the dust gently using an oil-free brush or a rubber dust-blowing ball.
- If there is grease or a dust stain on the front glass surface, clean the glass surface gently from the center outward using anti-static gloves or an oil-free cloth. If the grease or the stain still remains, use anti-static gloves or an oil-free cloth dipped with detergent and clean the glass surface gently until it is clean.
- Do not use organic solvents (such as benzene and alcohol) to clean the transparent dome cover.
Appearance
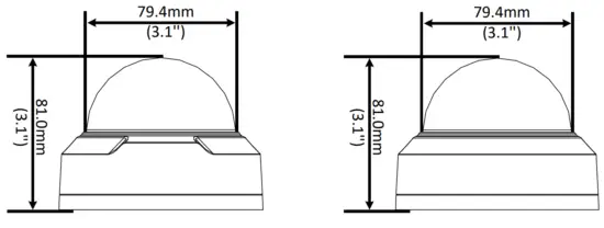
3.1 Dimensions
The following figure shows device dimensions. The appearance may vary with device model.
Type A Type B 
3.2 Cable Connection
The appearance and tail cable may vary with the device model.

Mount Your Camera
4.1 (Optional) Insert Micro SD Card
Insert an SD card into the slot to use the local storage function. For detailed specifications of recommended SD cards, contact your dealer or technical support. Hot plugging is not recommended.
4.2 Ceiling Mount
You can adopt a wall mount or pendant mount and purchase hardware accessories separately. The following part takes the wall mount as an example. The pendant mount is similar to the wall mount and therefore is omitted here.
- Locate the positions of the holes. Paste installation positioning stickers on the ceiling and lead the cables through the hole on the wall.

- Drill holes on the wall. Use a Ø 6-6.5mm drill bit to drill 30 mm-depth guide holes according to the positions marked by stickers.

- Mount the plastic rivets of self-tapping screws. Knock the plastic rivets into the guide holes and ensure that they are tightened up.

- Mount the camera. Connect all cables of the ceiling and the camera, lead self-tapping screws through the guide holes in the camera base, and fix the camera on the ceiling
by using a screwdriver.
- Adjust the monitoring direction of the lens (tighten screws after vertically adjusting the lens). The lens can horizontally turn by rotating the lens base, as shown by
1in the following figure. After loosening the fastening screws, you can vertically turn the lens, as shown by2in the following figure.
- Attach the lining and lock it into the buckle on the base. The following shows the installation instructions of cameras 2-Axis and 3-Axis. The linings are different. Please see the actual products for the differences.
2-Axis:
3-Axis:
For 3-Axis, after adjusting the lens horizontally and vertically (see step 5), you can also rotate the lens clockwise or counterclockwise to get the desired monitoring direction. Please stop rotating the camera when the lens is blocked, otherwise, the camera lens might be damaged.
- Mount the transparent dome housing.
(1) Align the screw holes in the base, and tighten the two cross-recessed Panhead screws on the edge of the transparent dome housing to fix it, as shown by 1 in the following
figure.
(2) Align the grooves (non-tail cable grooves) of the transparent dome housing to the buckle of the base, and push up the dome housing to fix it, as shown by 2 in the following figure.
NOTE!
- The preceding installation process is concealed installation, during which holes are drilled in the ceiling and the tail cable is led out from the top of the camera. Cables are connected and frapped at the ceiling side to prevent messy cables from affecting camera mounting. If the open installation is adopted, the tail cable is led out from one side of the camera and can be routed from the side groove of the camera.
- After mounting the dome housing, check that the two cross-recessed pan-head screws on the edge of the dome housing are tightened up to ensure that the camera is properly sealed. For details, see Mount the transparent dome housing.
Startup
After you have installed the device, connect one end of the power adapter (purchased separately) to the power supply, and then connect the other end to the power interface to start up the device.
Access Your Camera
- Open your Web browser, enter the camera’s IP address in the address bar, and then press Enter. The default IP is 192.168.1.13.
- In the login page, enter the default username and password (admin/123456), then click Login.
NOTE!
- DHCP is enabled by default. If a DHCP server is used in your network, your camera may be assigned an IP address, and you need to use the assigned IP address to log in.
- You may need to install a plug-in at your first login. Please follow the on-screen instructions to complete the installation and then open the browser again to log in.
- The default password is intended only for your first login. To ensure security, please change the password after your first login. You are strongly recommended to set a strong password of at least nine characters including all three elements: digits, letters, and special characters.
- If the password has been changed, please use the new password to log in.
Disclaimer and Safety Warnings
Copyright Statement
No part of this manual may be copied, reproduced, translated or distributed in any form by any means without prior content in writing from our company (referred to as us hereafter). The product described in this manual may contain proprietary software owned by our company and its possible licensors. Unless permitted, no one is allowed to copy, distribute, modify, abstract, decompile, disassemble, decrypt, reverse engineer, rent, transfer, or sublicense the Software in any form by any means.
Export Compliance Statement
Our company complies with applicable export control laws and regulations worldwide, including that of the People’s Republic of China and the United States, and abides by relevant regulations relating to the export, re-export, and transfer of hardware, software, and technology. Regarding the product described in this manual, our company asks you to fully understand and strictly abide by the applicable export laws and regulations worldwide.
Privacy Protection Reminder
Our company complies with appropriate privacy protection laws and is committed to protecting user privacy. You may want to read our full privacy policy at our website and get to know the ways we process your personal information. Please be aware, that using the product described in this manual may involve the collection of personal information such as the face, fingerprint, license plate number, email, phone number, and GPS. Please abide by your local laws and regulations while using the product.
About This Manual
- This manual is intended for multiple product models, and the photos, illustrations, descriptions, etc, in this manual may be different from the actual appearances, functions, features, etc, of the product.
- This manual is intended for multiple software versions, and the illustrations and descriptions in this manual may be different from the actual GUI and functions of the software.
- Despite our best efforts, technical or typographical errors may exist in this manual. Our company cannot be held responsible for any such errors and reserves the right to change the manual without prior notice.
- Users are fully responsible for the damages and losses that arise due to improper operation.
- Our company reserves the right to change any information in this manual without any prior notice or indication. Due to such reasons as product version upgrades or regulatory requirements of relevant regions, this manual will be periodically updated.
Disclaimer of Liability
- To the extent allowed by applicable law, in no event will our company be liable for any special, incidental, indirect, consequential damages, nor for any loss of profits, data, and documents.
- The product described in this manual is provided on an “as is” basis. Unless required by applicable law, this manual is only for informational purposes, and all statements, information, and recommendations in this manual are presented without warranty of any kind, expressed or implied, including, but not limited to, merchantability, satisfaction with quality, fitness for a particular purpose, and non-infringement.
- Users must assume total responsibility and all risks for connecting the product to the Internet, including, but not limited to, network attacks, hacking, and virus. We strongly recommend that users take all necessary measures to enhance the protection of network, device, data, and personal information. Our company disclaims any liability related thereto but will readily provide necessary security-related support.
- To the extent not prohibited by applicable law, in no event will our company and its employees, licensors, subsidiary, or affiliates be liable for results arising out of using or inability to use the product or service, including, not limited to, loss of profits and any other commercial damages or losses, loss of data, procurement of substitute goods or services; property damage, personal injury, business interruption, loss of business information, or any special, direct, indirect, incidental, consequential, pecuniary, coverage, exemplary, subsidiary losses, however, caused and on any theory of liability, whether in contract, strict liability or tort (including negligence or otherwise) in any way out of the use of the product, even if our company has been advised of the possibility of such damages (other than as may be required by applicable law in cases involving personal injury, incidental or subsidiary damage).
- To the extent allowed by applicable law, in no event shall our total liability to you for all damages for the product described in this manual (other than as may be required by applicable law in cases involving personal injury) exceed the amount of money that you have paid for the product.
Network Security
Please take all necessary measures to enhance network security for your device.
The following are necessary measures for the network security of your device:
- Change the default password and set a strong password: You are strongly recommended to change the default password after your first login and set a strong password of at least nine characters including all three elements: digits, letters, and special characters.
- Keep firmware up to date: It is recommended that your device is always upgraded to the latest version for the latest functions and better security. Visit our official website or contact your local dealer for the latest firmware.
The following are recommendations for enhancing the network security of your device: - Change the password regularly: Change your device password on a regular basis and keep the password safe. Make sure only the authorized user can log in to the device.
- Enable HTTPS/SSL: Use an SSL certificate to encrypt HTTP communications and ensure data security.
- Enable IP address filtering: Allow access only from the specified IP addresses.
- Minimum port mapping: Configure your router or firewall to open a minimum set of ports to the WAN and keep only the necessary port mappings. Never set the device as the DMZ host or configure a full cone NAT.
- Disable the automatic login and save password features: If multiple users have access to your computer, it is recommended that you disable these features to prevent unauthorized access.
- Choose Username and password discretely: Avoid using the username and password of your social media, bank, email account, etc, as the username and password of your device, in case your social media, bank, and email account information is leaked.
- Restrict user permissions: If more than one user needs access to your system, make sure each user is granted only the necessary permissions.
- Disable UPnP: When UPnP is enabled, the router will automatically map internal ports, and the system will automatically forward port data, which results in the risk of data leakage. Therefore, it is recommended to disable UPnP if HTTP and TCP port mapping have been enabled manually on your router.
- SNMP: Disable SNMP if you do not use it. If you do use it, then SNMPv3 is recommended.
- Multicast: Multicast is intended to transmit video to multiple devices. If you do not use this function, it is recommended you disable multicast on your network.
- Check logs: Check your device logs regularly to detect unauthorized access or abnormal operations.
- Physical protection: Keep the device in a locked room or cabinet to prevent unauthorized physical access.
- Isolate video surveillance network: Isolating your video surveillance network with other service networks helps prevent unauthorized access to devices in your security system from other service networks.
Safety Warnings
The device must be installed, serviced, and maintained by a trained professional with the necessary safety knowledge and skills. Before you start using the device, please read through this guide carefully and make sure all applicable requirements are met to avoid danger and loss of property.
Storage, Transportation, and Use
- Store or use the device in a proper environment that meets environmental requirements, including and not limited to, temperature, humidity, dust, corrosive gases, electromagnetic radiation, etc.
- Make sure the device is securely installed or placed on a flat surface to prevent falling.
- Unless otherwise specified, do not stack devices.
- Ensure good ventilation in the operating environment. Do not cover the vents on the device. Allow adequate space for ventilation.
- Protect the device from the liquid of any kind.
- Make sure the power supply provides a stable voltage that meets the power requirements of the device. Make sure the power supply’s output power exceeds the total maximum power of all the connected devices.
- Verify that the device is properly installed before connecting it to power.
- Do not remove the seal from the device body without consulting our company first. Do not attempt to service the product yourself. Contact a trained professional for maintenance.
- Always disconnect the device from power before attempting to move the device.
- Take proper waterproof measures in accordance with requirements before using the device outdoors.
Power Requirements - Installation and use of the device must be in strict accordance with your local electrical safety regulations.
- Use a UL-certified power supply that meets LPS requirements if an adapter is used.
- Use the recommended cordset (power cord) in accordance with the specified ratings.
- Only use the power adapter supplied with your device.
- Use a mains socket outlet with a protective earthing (grounding) connection.
- Ground your device properly if the device is intended to be grounded.
Battery Use Caution
- When the battery is used, avoid:
- High or low extreme temperatures during use, storage, and transportation;
- Extremely low air pressure, or low air pressure at high altitude.
- Battery replacement.
- Use the battery properly. Improper use of the battery such as the following may cause risks of fire, explosion, or leakage of flammable liquid or gas.
- Replace the battery with an incorrect type;
- Dispose of a battery into fire or a hot oven, or mechanically crush or cutting of a battery;
- Dispose of the used battery according to your local regulations or the battery manufacturer’s instructions.
Regulatory Compliance
FCC Statements
This device complies with Part 15 of the FCC Rules. Operation is subject to the following two conditions: (1) this device may not cause harmful interference, and (2) this device must accept any interference received, including interference that may cause undesired operation. Caution: The user is cautioned that changes or modifications not expressly approved by the party responsible for compliance could void the user’s authority to operate the equipment.
NOTE: This equipment has been tested and found to comply with the limits for a Class B digital device, pursuant to part 15 of the FCC Rules. These limits are designed to provide reasonable protection against harmful interference in a residential installation. This equipment generates, uses and can radiate radio frequency energy and, if not installed and used in accordance with the instructions, may cause harmful interference to radio communications. However, there is no guarantee that interference will not occur in a particular installation. If this equipment does cause harmful interference to radio or television reception, which can be determined by turning the equipment off and on, the user is encouraged to try to correct the interference by one or more of the following measures:
- Reorient or relocate the receiving antenna.
- Increase the separation between the equipment and receiver.
- Connect the equipment into an outlet on a circuit different from that to which the receiver is connected.
- Consult the dealer or an experienced radio/TV technician for help.
RF Radiation Exposure Statement:
This equipment complies with FCC radiation exposure limits set forth for an uncontrolled environment. This equipment should be installed and operated with a minimum distance of 20cm between the radiator and any part of your body.
LVD/EMC Directive
This product complies with the European Low Voltage Directive 2014/35/EU and EMC Directive 2014/30/EU.
WEEE Directive–2012/19/EU
The product this manual refers to is covered by the Waste Electrical & Electronic Equipment (WEEE) Directive and must be disposed of in a responsible manner.
Battery Directive-2013/56/EC
The battery in the product complies with the European Battery Directive 2013/56/EC. For proper recycling, return the battery to your supplier or to a designated collection point.









3-Axis:

















