RANGER RCI-69_BASE Amateur Base Station Transceiver

Product Information
The RCI-69 BASE is an amateur base station transceiver designed and manufactured by Ranger Communications Inc. It has a frequency range of 28.7650 – 29.2050 MHz and supports various modes including CW, FM, AM, SSB, and PA. The transceiver uses a Phase-Lock-Loop Synthesizer for frequency control and has a frequency tolerance of0.005%. It operates on an AC input voltage of 110V60Hz (220V50HzInside Switch) and has a standard SO-239 type antenna connector with an impedance of 50 ohms.
The RCI-69 BASE has two meters: Meter #1 displays RF output power and antenna SWR while Meter #2 displays receive signal strength and IMOD%. The transceiver has a maximum RF power output of 20W RMS for AM/CW, 50W for FM, and 60W PEP for AM/SSB. It has a clarifier range of up to 100% for AM modulation and spurious emissions and carrier suppression of -60dB. The receiver sensitivity is 0.5 pV for 10dB S/N for CW/AM, 0.25 uV for 20dB S/N for FM, and 0.3 MV for 10dB S/N for SSB. The squelch sensitivity is 0.5 pV, selectivity is -55 dB, image rejection is -50 dB, an adjacent channel rejection is -60 dB. The audio power output is 2.5W at 10% THD.
Product Usage Instructions
Amateur Radio License
Note that an Amateur Radio License is required to operate this device. For licensing information within the United States of America, visit http//www.fcc.gov, and for residents of Canada, visit httD:/fwww.rac.ca.
Installation – Location/Connection
Place the transceiver in a convenient operating location close to an AC power outlet and the antenna lead-in cable(s). The transceiver comes with an AC power cord set. Connect the coax antenna cable with a standard-type SO-239 antenna connector on the rear panel for easy connection to standard PL-259 plugs. If the coax antenna cable must be made longer, use a coax cable with an impedance of 50 ohms and use only enough cable to suit your needs to ensure proper impedance match and maximum power transfer from the transmitter to the antenna.
product Operation
Take some time to familiarize yourself with the controls and connections of the RCI-69 BASE transceiver to appreciate its numerous operating features fully. The transceiver supports various modes including CW, FM, AM, SSB, and PA. Use Meter #1 to monitor RF output power and antenna SWR, and Meter #2 to monitor receive signal strength and IMOD%. The clarifier range can be adjusted up to 100% for AM modulation. The receiver sensitivity varies depending on the mode, with a squelch sensitivity of 0.5 pV. The transceiver has a maximum RF power output of 20W RMS for AM/CW, 50W for FM, and 60W PEP for AM/SSB. The selectivity is -55 dB, image rejection is -50 dB, and adjacent channel rejection is -60 dB. The audio power output is 2.5W at 10% THD.
NOTE
Amateur Radio License is required to operate this device. For licensing information within the United States of America, visit https://www.fcc.gov, for residence of Canada, visit htts:/fwww.rac.ca
Introduction
Thank you for your confidence in selecting the RCI-69 BASE 10m Amateur transceiver. We know you will find your transceiver as exciting as it is practical. Many years of valuable experience designing electronic products are behind ourcommunications systems. Only the highest quality components are incorporated into our radios to assure reliability and maximum performance.Installing and operating your transceiver is not complicated, but the flexibilityprovided by its numerous operating features may not be fully appreciated until a little time is spent becoming familiar with its controls and connections. It will beto your advantage to save all the packing materials cartons, fillers, cushioning,etc; they will prove valuable preventing damage should you ever have occasion to transport or ship your transceiver to your dealer.
Location/Connection
The transceiver should be placed in a convenient operating location close to an AC power outlet and the antenna lead in cables). The transceiver is attached with the AC power cord set. Proceed as follows to complete all necessary connections to the transceiver.
- Your transceiver has a standard type SO-239 antenna connectors located on the rear panel for easy connection to standard PL-259 coax plugs. If the coax antenna cable must be made longer, use coax cable with impedance of 50ohms and use only enough cable to suit your needs. This will insure a properimpedance match and maximum power transfer from the transmitter to the antenna.
- AC Power Operation: 100~120 (220V 50Hz Inside Switch) VAC (60Hz/50Hz) power input.
Noise Interference
There are several kinds of noise interference you may encounter in fixed operation. Some of these noise sources are; fluorescent buzz, nearbycommercial broadcast, electrical appliances, lawnmowers, electrical storms, etc. Commercial products are available to reduce interference from these sources. Consult your dealer or professional amateur radio supply shops.
Antennas
For best transmission and reception, you should use an antenna especially cut for a frequency of 28-30 MHz (10-meter bands). Antennas are purchasedseparately and include installation instructions. Numerous types of antennas are available in that range from simple verticals and dipoles to directional beams or quads, which provide gain and directivity. Often the difference in performance between antennas can make quite a difference in receiving and transmitting performance.
- Vertical Ground Plane Antenna: These omnidirectional antennas can provide optimum performance for DX work due to their low angle of radiation.

- Directional Beam Antenna: Concentrates power in a narrower beam thereby providing gain and directivity.

- Remote Speaker The external speaker jack (EXT. SP.) on the rear panel is used for remote receiver monitoring. The external speaker should have 8 ohms impedance and be able to handle at least 3 watts. When the external speaker is plugged in, the internal speaker is disconnected.
NOTE
The PHONE jack on the front panel overrides both external and internal speakers. When the plug from a headphone is pluggedto the PHONE jack, both internal and external speakers are silenced simultaneously.
Public address
An external 8 Ohms, 4W speaker must be connected to the PA jack located on the rear panel when the transceiver is used as a public address system. The speaker should be directed away from the microphone to prevent acoustic feedback. Physical separation or isolation of the microphone and speaker is important when operating the PA at high output levels.
Operation
Controls and Indicators
Front Panel

- POWER ON/OFF CONTROL: Push ON to apply power to the unit.
- RF/SWR METER: This meter operates during transmit only.It reads power output or SWR.
- SWR/CAL SWITCH: This switch is used with the “CALIBRATE” pot (No. 12) to measure your SWR. Simply put this switch in the “CAL” position. Then, transmit in AM, FM or CW while adjusting the “CALIBRATE” pot until the needle on the left meter goes to the small red “Notch” on the SWR scale (You nay need to be at maximum power to reach the “SET” mark). Now, wile still transmitting, put this switch up to the “SWR” position. This will give vou an SWR reading. When you are finished, be sure to turn the “CALIBRATE” potfully CCW to the “RF” position so you are able to read your output power.Youwill hear the “RF” switch click on.
- NB/ANL SWITCH: This switch control the Noise Blanker and Automatic Noise Limiter simultaneously. They are turned on and off together. The Noise Blanker is very effective for eliminating repetitive impulse noise such asignition interference. is used primarily to improve reception in strong signalareas. Under normal operating conditions, the control should be turned fully clockwise. When strong overloading or distorted signals are received, rotate this control counterclockwise to reduce gain.
- ROGER BEEP SWITCH: When this switch is placed in the ROGER BEE position, the radio automatically transmits an audio tone at the end of yourtransmission so that people who are having trouble hearing you will know that you are done speaking. As a countesy to other, use the Roger Beep only when necessary.
- NOISE FILTER: This filter de-emphasizes audio high frequency response in order to increase the signal-to-noise ratio of weak signals. While you will notice a dramatic reduction in the “rushing” sound when this filter is active, it does not have much effect on the signal-to-noise ratio of strong signals.
- HIGH/LOW SWITCH: This switch select HIGH or LOW band of operation.
- SIGNAL/MODULATION METER: This meter indicates signal strenath of incoming signals during receive and your percentage of modulation when transmitting in the AM. Modulation readings are most accurate when using maximum output . The modulation meter does not work at all in FM or SSB.
- CHANNEL: This channel display indicates the current selected channel.
- FREQUENCY COUNTER: The frequency counter indicates the frequency of operation.
- MICROPHONE JACK: Used to connect microphone for voice source.
- CALIBRATE CONTROL: In the “R’ position, the left meter reads power output in watts. When rotated clockwise.it is used in conjunction with the “SWR/CAL” switch (No.3).
- DIM CONTROL: Controls the brightness of the meter lamps and display digits.
- TALK BACK: This is a switched pot that controls the volumes of the talkback sound. It does not affect the sound you transmitting. You can turn the talkback off (Fully CCW) or adjust the volume as you desire. This talkback circuit can be used anytime – even without any sound effects.
- RF GAIN CONTROL: This control is used to reduse the gain of the RF amplifier under strong signal conditions.
- MIC GAIN CONTROL: This control adjusts the microphone gain in the transmit mode. This feature is designed for use in a high-ambient noise environment or to maximize talk power.
- TIME/ECHO CONTROL: This “TIME” control pot turns the ECHO on and off and is used to set the time delay of the ECHO repetitions. The ECHO control sets the intensity of the ECHO effect.
- CHANNEL SELECTOR: This control is used to select a desired frequency.
- MODE CONTROL: This control allows you to select one of six operating modes: PA/FM/AM/USB/LSB/CW.
- BAND SELECT SWITCH: This switch allows the user to select the desired band.
- SQUELCH CONTROL: This switch is used to control or eliminate background noise in the absence of an incoming signal. For maximum receiver sensitivity, it is desired that the control be adjusted only to the point where the receiver background noise is eliminated. Tum is fully counterclockwise, then slowly clockwise until the receiver noise disappears. Any signal to be received must now be slightly stronger than the average receiver noise. Further clockwise rotation will increase the threshold level that a signal must overcome in order to be heard. Only a strong signal will
be heard at a maximum clockwise setting. - RF POWER: This control is used to adjust the RF power level you want in AM or FM transmission.
- VOLUME CONTROL: Permits you to adjust the listening level when receiving.
- COARSE/FINE CONTROL: The “COARSE” control adjusts the frequency ‡5.0 KHz in receive and transmit. The “FINE” control adjusts the frequency ‡1.5KHz in receive only. This comes in handy when tuning in someone who is “OFF” frequency compared to everyone else.
- PHONE JACK: Accepts a plug from a headset of 4 to 32 Ohm impedance.
- MODE LED INDICATORS: The lighted LED indicates which mode the radio is in.
- RX/TX LED: Light green during receive and change to red during transmit.
NOTE
The Squelch Control may require readjustment with reduced RF Gain control.
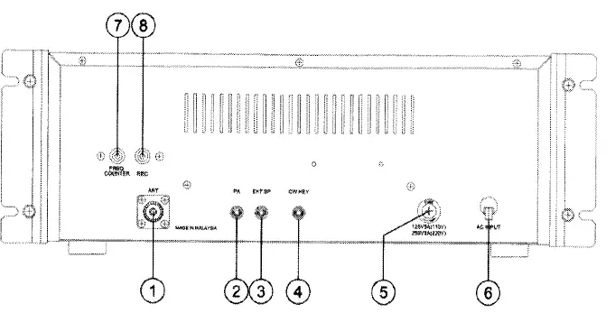
REAR PANEL CONNECTOR:

- ANTENNA: This jack accepts 50 Ohm coaxial cable with a type PL-259 connector.
- PASP: Used to connect a PA speaker (8 Ohm 4W) for PA operation. Before operating PA you must first connect a PA speaker to this jack.
- EXTERNAL SPEAKER: This jack accepts 4 to 8 ohm, 5Watt external speakers. When the external speaker is connected to this jack, the built-in speaker will be disabled.
- CW KEY: Use for Morse Code operation. Connect a CW key to this jack and place the MODE switch in the CW position.
- FUSE: Accommodates a fuse for AC input circuit protection. USE 125V/7A fuse for replacement
- AC POWER CORD: Connect to AC power outlet for AC mains supply. Use 100-120 VAC (60Hz/50Hz) power input only.
- FREQUENCY COUNTER JACK: The RCA-type jack provides a signal used by some frequency counters so you can read the frequency digitally. Then readout signal operates on transmit only.
- REC JACK: The RCA- type (pin) jack provides audio output for connection to the tape recorder. This can be used to record incoming signals or your voice when transmitting.
NOTE
Before replacing the fuse, see your dealer to check and find out the reason why the fuse was blown. Replacing without checking the cause may only blow the fuse again.
Microphone
The receiver and transmitter are controlled by the push-to-talk switch on the microphone. Press the switch and the transmitter is activated, release the switch to receive. When transmitting hold the microphone two inches from the mouth and speak clearly in a normal “voice”. This transceiver comes complete with a low-impedance dynamic microphone. For best results, the user should select a low-impedance dynamic typemicrophone or a transistorized microphone. The microphone should provide the functions shown in schematic below.
4 WIRE MIC CABLE

Operating Procedure (Receive Mode)
- Turn the unit on by setting the POWER SWITCH to ON position. The meters, Frequency Indicator, and Function Indicators will illuminate.
- Set the MODE SELECTOR switch to desired mode.
- Set the SQUELCH CONTROL in fully counterclockwise position and adjust the VOLUME control for a comfortable listening level.
- Use the “COARSE/FINE” control as necessary to tune signals in properly.
IMPORTANT:
Make sure that the ANTENNA and MICROPHONE are connected before you operate.
Operating Procedure To Transmit
- Select the desired operating frequency.
- If the frequency is clear, depress the Push-to-Talk switch on the microphone. Speak in a normal tone of voice.
Public Address Operation
To use this feature, a speaker having a voice coil impedance of 8 to 16 Ohms and a power handling capability of at least 3 Watts should be connected to the PA SP jack on the rear panel. Be sure that there is physical separation between the microphone and the PA speaker itself. If the PA speaker is located very close to the microphone, acoustic feedback will result when the PA amplifier is operated at high volume (or when PA is used indoors). Adjustment of PA volume is made with MIC GAIN control.
SWR Measurement
Most antennae are factory tuned, but the antenna efficiency may be peaked by slightly adjusting the length of the antenna using the SWR meter built into the unit. This adjustment may improve the antenna standing wave ratio (SWR). The SWR permits you to determine how well-matched the antenna and its cable are to your transceiver.
- Set the unit in the receive mode as instructed under the operating procedure to receive section.
- Set the mode switch to AM position, the SWR-CAL switch to CAL position.
- Press the push-to-talk switch on the microphone and turn the calibrate control clockwise (past click) so that the SWR meter pointer exactly coincides with the set mark on the scale. Release the posh-to-talk switch.
- Set the SWR-CAL switch to the SWR position and depress the push-to-talk switch again. The SWR of your antenna is read directly on the.
867 Bowsprit Road Chula Vista, CA 91914




















