BREWFERM 110.029.7 Grain Gorilla Pro Malt Mill with 3 Stainless Steel Rollers

Product Information
The 3 Roller Malt Mill Grain Gorilla Pro is a sturdy and compact malt mill designed for grinding barley, wheat, and other grains. It features adjustable stainless steel rollers made of AISI 304 grade steel. The housing and hopper are made of aluminum, providing durability and strength. The malt mill has a capacity of 50 kg per hour when used manually.
Components
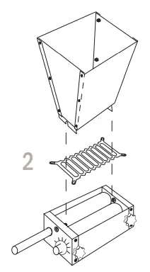
- 1 Malt Mill
- 1 Metal Base Plate with Teeth
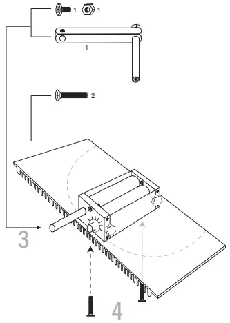
- 2 Screws to Secure Malt Mill to Base Plate
- 1 Hopper (4 Aluminum Panels with 12 Bolts and 12 Nuts)
- 1 Protective Grill
- 1 Crank Handle with Screw
Application
The 3 Roller Malt Mill is suitable for home brewing and professional use. It is designed to grind grains for beer production and can handle various types of grains.
Product Usage Instructions
Assembly
- Remove the protective plastic film from the malt mill.
- Assemble the hopper using the provided bolts and nuts, following the instructions in the photo.
- Mount the protective grill on top of the hopper.
- Fit the hopper onto the malt mill and tighten the two screws on the inside of the malt mill to secure it.
- Attach the crank handle to the malt mill using the provided screw.
Initial Use
Prior to using the malt mill for the first time, it is recommended to mill a small amount of malt to remove any residues on the rollers.
Maintenance
If the malt mill is not used for an extended period, it should be dusted off with a brush or a dry cloth. Store the malt mill in a cool and dry location.
Setting the Malt Mill
- Start with an empty malt mill.
- Loosen the two black screws on the side of the malt mill to adjust the gap between the rollers.
- Set the desired fineness by adjusting both sides of the malt mill equally.
- To check the setting, mill a small amount of malt and evaluate the result.
- If you are not satisfied with the fineness, repeat the process from step 1.
Tips for Usage
- Make sure the drill machine is not running before inserting the malt into the mill.
- Avoid overloading the mill with malt to ensure optimal grain crushing quality.
- If the malt gets stuck, gently push down the flaps of the hopper located above the rollers to ensure proper feeding without touching the rollers.
MALT MILL WITH ADJUSTABLE STAINLESS STEEL ROLLERS
Congratulations with your purchase of this malt mill.


MATERIAL
- Housing and hopper: aluminium
- Rollers: stainless steel AISI 304
COMPONENTS
- 1 malt mill
- 1 metal base plate with teeth
- 2 screws to secure malt mill to base plate
- 1 hopper (4 aluminium panels with 12 bolts and 12 nuts)
- 1 protective grill
- 1 handle with screw
APPLICATION
Sturdy, compact 3-roller malt mill for barley, wheat and other grains. Equipped with continuously adjustable rolls with gap indicator at each end.
CAPACITY
- Manual operation: 50 kg/h
- Roller adjustment range: 0.6 mm – 2.5 mm
USE
- Remove the protective plastic film
- Using the included bolts and nuts, assemble the hopper as shown in the photo.
- Mount the protective grill.
- Fit the hopper on the malt mill and tighten the two screws on the inside of the malt mill
- Attach the crank handle
- To remove any residues on the rolls, first mill a small amount of malt before using the mill for the first time
MAINTENANCE
If the mill has not been used for an extended period, dust it off with a brush or a dry cloth. Then store it in a cool, dry location.
SETTING THE MALT MILL
- Start with an empty malt mill.
- First, loosen the two black screws on the side of the mill.
- Then set the same fineness on both sides of the mill.
- Now retighten the black screws to secure the setting.
- Grind a small amount of malt to check the setting.
- If you are not satisfied with the fineness, restart at step 1.
TIPS FOR USE
- If you want to use a drill, make sure the drill is already running before you put the malt in the mill.
- Keep in mind that grinding too fast can negatively affect the grist quality of the grains.
- Never get your fingers into the hopper of the malt mill.
- If the malt is stuck, you can try gently folding down the flaps of the hopper, which are located above the rollers, before use.
- Make sure the hopper does not touch the rollers after adjustment.
- The Brookland team wishes you all the best in your brewing activities!
Brewferm®
products by Brouwland
Korspelsesteenweg 86
3581 Beverlo – Belgium
Tel. +32 11 401 408
www.brewferm.be



















