DO91122 Fridge with Freezer Section
Instruction Manual
PRODUCT OF![]()
![]()
Fridge with Freezer Section
Read all instructions carefully – save this instruction manual for future reference.
Dear client,
All of our products are always submitted to strict quality control before they are sold to you.
Should you nevertheless experience problems with your device, we sincerely regret this.
In that case, we kindly request you to contact our customer service.
Our staff will gladly assist you.
+32 14 21 71 91
[email protected]
Monday – Thursday: 8.30 – 12.00 and 13.00 – 17.00
Friday: 8.30 – 12.00 and 13.00 – 16.30
This appliance has a two-year warranty period. During this period the manufacturer is responsible for any failures that are the direct result of construction failure. When these failures occur the appliance will be repaired or replaced if necessary. The warranty will not be valid when the damage to the appliance is caused by wrong use, not following the instructions, or repairs executed by a third party. The guarantee is issued with the original till receipt. All parts, which are subject to wear, are excluded from the warranty.
If your device breaks down within the 2-year warranty period, you can return the device together with your receipt to the shop where you purchased it.
The guarantee on accessories and components that are liable to wear and tear is only 6 months.
The guarantee and responsibility of the supplier and manufacturer lapse automatically in the following cases:
- If the instructions in this manual have not been followed.
- In case of incorrect connection, e.g. electrical voltage that is too high.
- In case of incorrect, rough, or abnormal use.
- In case of insufficient or incorrect maintenance.
- In case of repairs or alterations to the device by the consumer or non-authorized third parties.
- If the customer used parts or accessories that are not recommended or provided by the supplier/manufacturer.
SAFETY INSTRUCTIONS
When using electrical appliances, basic safety precautions should always be taken, including the following:
- Read all instructions carefully. Keep this manual for future reference.
- Make sure all packaging materials and promotional stickers have been removed before using the appliance for the first time. Make sure children cannot play with the packaging materials.
- This appliance is intended to be used in household and similar applications such as:
- staff kitchen areas in shops, offices, and other working environments;
- farmhouses;
- by clients in hotels, motels, and other residential-type environments;
- bed and breakfast type environments.
- Children should be supervised to ensure that they do not play with the appliance.
- This appliance can be used by children aged 16 years and above and persons with reduced physical, sensory, or mental capabilities or lack of experience and knowledge if they have been given supervision or instruction concerning the use of the appliance in a safe way and understanding the hazards involved. Children shall not play with the appliance. Cleaning and user maintenance shall not be made by children unless they are older than 16 and supervised.
- Keep the appliance and its cord out of reach of children younger than 16 years.
- Close supervision is necessary when the appliance is used near or by children.
- All repairs should be carried out by the manufacturer or its after-sales service.
- Make sure that children do not touch the cord or appliance.
- Your appliance uses isobutane (R600a) as a refrigerant. Despite the fact that R600a is an environmentally friendly natural gas, it is highly flammable. Therefore you should be careful during shipment and installation to prevent your appliance’s cooler elements from being damaged.
In the event of a leak caused by damage to the cooler elements, move your fridge from open flame or heat sources and ventilate the room where the appliance is located for a few minutes.
ELECTRICAL WARNINGS
- Attention: This appliance cannot be used with an external timer or a separate remote control.
- Before use, check if the voltage stated on the appliance corresponds with the voltage of the power net at your home.
- The plug must be plugged into an appropriate outlet that is installed and grounded in accordance with all local standards and requirements.
- Do not let the cord hang on a hot surface or on the edge of a table or countertop.
- Never use the appliance when the cord or plug is damaged, after a malfunction, or when the appliance itself is damaged. In that case, take the appliance to the nearest qualified service center for a check-up and repair.
- If the socket is loose, do not plug in the appliance (risk of electric shock or fire).
- It is dangerous to alter or modify the device and its specifications.
- When disposing of the appliance, remove the plug from the power socket, cut the power cord (as closely as possible to the appliance), and remove the door to prevent playing children from getting an electrical shock or shutting themselves in the appliance.
- The lamp in the appliance is intended for use in this cooling device only. Do not use the lamp as a household light.
- Unplug the appliance when it is not in use, before assembling or disassembling any parts, and before cleaning the appliance. Put all buttons and knobs into the ‘off’ position and unplug the appliance by grasping the plug. Never unplug by pulling the cord.
INSTALLATION
- Never place this appliance near a gas stove or electrical stove or in a place where it may come into contact with a warm appliance.
- Always use the appliance on a steady, dry, and level surface.
- Keep the cord away from sharp edges and hot parts or other heat sources.
- Keep the ventilation openings free of obstructions.
- The appliance may not be used with an extension lead or multiple sockets.
- Avoid long exposure to direct sunlight.
- Make sure that you have access to the plug of the appliance.
- Make sure that the plug does not get squashed or damaged by the back of the appliance. A squashed or damaged power plug may overheat and cause a fire.
- This is a heavy appliance. Be careful when moving it.
- This cooling unit is not intended for use as a built-in appliance.
- Do not place a power strip or other portable power supply behind the appliance.
- After installation, it is advisable to wait at least four hours before connecting the appliance to allow the oil to flow back into the compressor.
USE
- Do not use the appliance outdoors.
- Only use the appliance for its intended use.
- Only use the appliance for domestic use. The manufacturer can not be held responsible for accidents that result from improper use of the appliance or not following the instructions described in this manual.
- Do not use any other electrical appliance inside the fridge, unless they are approved for this purpose by the manufacturer.
- Do not keep any explosive substances inside the appliance, like for instance aerosol cans with a flammable propellant.
- Do not place carbonated or fizzy drinks in the freezer compartment as it creates pressure on the container, which may cause it to explode, resulting in injury or damage to the appliance.
- Do not use the appliance without a lamp.
- The use of accessories that are not recommended or sold by the manufacturer can cause fire, electrical shock, or injuries.
- Ensure the food in the appliance does not touch the back wall.
- Do not touch anything that comes out of the freezer with damp or wet hands. This could cause skin burns.
- Be careful when consuming ice cubes or ice creams that come from the freezer. These can cause frostbite on the lips or tongue.
- Follow the instructions below to prevent contamination of food:
- Keeping the door open for long periods may cause the temperature in the compartments of the appliance to rise considerably.
- Clean surfaces that could come into contact with food regularly. Keep the condensation channel and drainage hole at the back of the appliance clean. Regularly examine the drain in the refrigerator for defrosted water. If necessary, clean the drain. If the drain is blocked, water will collect in the bottom of the appliance.
- Store raw meat and fish in suitable containers in the refrigerator so that they do not come into contact with or drip onto other food.
- If the appliance is left empty for long periods, it should be turned off, defrosted, and cleaned. Allow it to dry and leave the door ajar to prevent mold from growing in the appliance.
CLEANING AND MAINTENANCE
- Never immerse the appliance, the cord, or the plug-in in water, or any other liquid.
- Do not place warm or hot objects on top of the appliance.
- Do not clean the appliance with anything made of metal.
- Make sure that the refrigerant circuit does not get damaged, for instance during transportation or installation.
- Do not use mechanical appliances or other means to speed up the defrosting process, unless approved by the manufacturer.
WARNING! Never place this appliance on or in the neighborhood of a gas or electric fire or in a place where it could come into contact with a heat source. There are flammable materials located on the back of the appliance. Pay attention to the symbol ‘Fire risk – flammable materials’ located on the back of the appliance.
PARTS
- Control panel
- Freezer compartment
- LED lighting
- Shelves
- Vegetable container
- Leveling feet
- Door shelves
- Handle

INSTALLATION
- Remove the exterior and interior packing, and wipe the outside thoroughly with a soft dry cloth and the inside with a wet, lukewarm cloth. Dry the appliance off well.
- Let air circulate freely around the cabinet.

- Make sure there is sufficient space to open the door.
- This cooling unit is not intended for use as a built-in appliance.
- Select a place with a strong, level floor.
- Avoid direct sunlight and heat. Direct sunlight may affect the acrylic coating. Heat sources nearby will cause higher electricity consumption.
- Avoid very moist places. Too much moisture in the air will cause frost to form very quickly on the evaporator and your refrigerator.
- Before connecting your refrigerator to the power supply, check that the voltage stated on the rating label of your appliance corresponds to the voltage in your home. A different voltage could damage the appliance.
- After installation, leave the freezer for 24 hours before turning it on. This way the refrigerant can settle.
- Allow the appliance to run empty for 12 hours so the compartment can cool to the appropriate temperature.
- One can level the appliance using adjustable legs. The adjustable legs can be adjusted by screwing them in or out of the appliance.

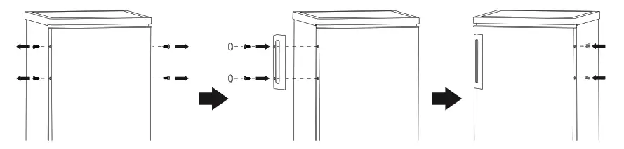
- Install the handle.

- The climate class indicates the minimum and maximum ambient temperature for the proper operation of an appliance. You can find the climate class on the type plate on the back of the appliance.
- SN: Subnormal: ambient temperature between 10°C and 32°C
- N: Normal: ambient temperature between 16°C and 32°C
- ST: Subtropical: ambient temperature between 16°C and 38°C
- T: Tropical: ambient temperature between 16°C and 43°C
RUBBER SUPPORT FOOT
If the refrigerator is (almost) empty and pressure is put on the open door, the appliance may tip forward. You can fasten the rubber support foot to the bottom of the door to steady the appliance and prevent the door from getting damaged.
- Disconnect the mains plug from the mains socket.
- Carefully tip the appliance backward so that the hole for the rubber support foot can be reached.
Attention: the inclination of the refrigerator must be less than 45° so that the compressor oil does not enter the cooling circuit. If you do shut down the unit completely, wait 8 hours before turning it back on.
- Put the supplied screw into the opening of the rubber support foot and fix the rubber support foot in the hole at the bottom of the door with a cross-tip screwdriver.

DOOR CONVERSION
If you need to hinge your door on the opposite side it is recommended that you call your local authorized service agent to make this conversion or ask a technician. Before you reverse the door, you should ensure the appliance is unplugged and empty. After reversing the door, leave the appliance alone for 8 hours before switching it on. This allows the coolant to set. It is recommended to use a crosshead screwdriver, a socket driver (8 mm and 10 mm), and a flathead screwdriver or putty knife (not supplied).
- Remove the 2 screws on the back of the top cover. Remove the top cover and place it on a padded surface to prevent it from being scratched.

- Unscrew the four screws and remove the upper hinge and the lid.

- Lift the door and place it on a padded surface to prevent it from being scratched.
- Remove both leveling feet. Remove the bottom hinge by unscrewing the screws.
- Remove the hinge pin from hole 1 of the plate and remount the pin in hole 2 of the hinge.
- Reassemble the lower hinge and the leveling feet on the other side at the bottom of the appliance.
Move the rubber support foot to the other side at the bottom of the door (if mounted).
- Put the door on the lower hinge and refit the lid and the upper hinge with two screws. Fix the two other screws on the other side. Ensure the door is aligned horizontally and vertically so that the seals are closed on all sides.

- Put the top cover back and fix it in place with the 2 screws.

You can also reverse the door of the freezer compartment:
- Keep the freezer compartment door closed. Remove the screw from the mounting clamp with a screwdriver and take the mounting clamp down.

- Open the freezer compartment door a little. Pull the door and the mounting cap (1) down.

- Unscrew the mounting bracket and fix it on the opposite side.

- Turn the freezer compartment door 180°, put the mounting cap on the upper axle, and then fit the axle into the hole at the top of the appliance.

- Keep the freezer compartment door closed. Put the mounting clamp on the lower axle and put enough pressure so that there is no gap between the mounting clamp and the housing of the appliance, then fix the screw of the mounting clamp.

- You can use the supplied cover caps to cover the original screw holes.
USE
CONTROL PANEL
Display
- Temperature of fridge: 8°C
- Temperature of fridge: 6°C
- Temperature of fridge: 4°C
- Temperature of fridge: 2°C
- Super-freezing
Touch screen buttons
A. Temperature of fridge / Super-freezing
TEMPERATURE CONTROLS
- The temperature of the fridge can be set between 2 and 8°C. Under normal conditions, it is best to select 4°C. Press the middle of the “Temp./3sec” button (temperature fridge) and continue to press until the desired temperature is displayed.

- The operating time and temperature is influenced by the location of the fridge, the number of times the door is opened and the temperature of the room the fridge is in.
Super-freezing![]()
- Select this function if the standard temperature does not cool sufficiently. For example: with extremely hot weather, if the doors are opened often, with a high environmental temperature, if a large quantity of uncooled/unfrozen food is placed in the appliance, etc.
- Keep the middle of the “Temp./3sec” button pressed for 3 seconds.

- By selecting this function, the freezer temperature is lowered for a maximum of 52 hours. It is recommended that this function be selected 24 hours prior to the freezing.
- This function is switched off automatically after the time has elapsed. The previously set temperature will once again be maintained.
- This function can be turned on and off by keeping the “Temp./3sec” button pressed for 3 seconds. The symbol will be displayed. CL
STORAGE GUIDE
For the best storage, set up your refrigerating appliance as follows:
| Refrigerator compartment | Type of food |
| Door rack | •Food with natural preservatives such as jams, juices, drinks, spices, etc. •Do not store food with a limited shelf life here |
| Crisper drawer | •Fruits, herbs, and vegetables •Do not refrigerate bananas, onions, potatoes, or garlic |
| Middle shelf | Dairy and eggs |
| Top shelf | Food that does not need to be cooked, such as ready-made meals, leftovers, spreads, etc. |
| Freezer compartment | Type of food |
| Top drawer | Ice cream, frozen fruit, frozen baked goods |
| Middle drawer | Frozen vegetables and fries |
| Bottom drawer | Raw meat, poultry, fish |
MOVING THE SHELVES AND DOOR RACK
- Empty the fridge before moving the shelves or the door racks.
- To move a shelf, raise it and pull it towards you.
- To move a door rack, grip it firmly with 2 hands. Press the right side a little inward and lift this side until it comes loose (A). Raise the door rack and pull it towards you.
- To install a door rack, fix the left side first. Press the right side a little inward and then fix this side as well (B).

LIGHTING
The lighting in the freezer and the fridge are LED lights. These are more ecological and manufactured for long life. For this reason, these may not be replaced. If there is a problem with the lighting, contact a qualified service center in your area.
MOVING YOUR APPLIANCE
If the appliance is turned off for any reason, wait for 10 minutes before turning it back on. This will allow the refrigeration system pressures to equalize before restarting.
- Turn off the appliance and unplug it from the main socket. Remove all food. Also remove all mobile parts (shelves, accessories, etc.) or fix them into the fridge to avoid any shock.
- Relocate and install. If the appliance has been left on its side for any length of time, leave it standing upright for at least 10 minutes before turning it on.
STORING FOOD IN THE FRIDGE
The fridge helps to extend the storage times of fresh perishable foods.
Fresh food care for best results:
- Store foods that are very fresh and of good quality.
- Ensure that food is well wrapped or covered before it is stored. This will prevent food from dehydrating, deteriorating in color, or losing taste and will help maintain freshness. It will also prevent odor transfer.
- Make sure that strong-smelling foods are wrapped or covered and stored away from foods such as butter, milk, and cream which can be tainted by strong odors.
- Cool hot foods down before placing them in the fridge.
FREEZING AND STORING FOOD IN THE FREEZER
Use the freezer
- To store deep-frozen food.
- To make ice cubes.
- To freeze food.
Note: Ensure that the freezer door has been closed properly. Avoid opening the freezer door unnecessarily.
Purchasing frozen food
- Packaging must not be damaged.
- Use by the ‘use by/best before/best by/’ date.
- If possible, transport deep-freezed food in an insulated bag and place quickly in the freezer.
Freezing fresh food
Freeze fresh and undamaged food only. To retain the best possible nutritional value, flavor, and color,
vegetables should be blanched before freezing.
Aubergines, peppers, zucchini, and asparagus do not require blanching.
Note: Keep food to be frozen away from food that is already frozen.
- The following foods are suitable for freezing: Cakes and pastries, fish and seafood, meat, game, poultry, vegetables, fruit, herbs, eggs without shells, dairy products such as cheese and butter, ready meals, and leftovers such as soups, stews, cooked meat and fish, potato dishes, soufflés, and desserts.
- The following foods are not suitable for freezing: Types of vegetables, which are usually consumed raw, such as lettuce or radishes, eggs in shells, grapes, whole apples, pears and peaches, hard-boiled eggs, yogurt, soured milk, sour cream, and mayonnaise.
Packing frozen food
To prevent food from losing its flavor or drying out, place food in airtight packaging.
- Place food in packaging.
- Remove air.
- Seal the wrapping.
- Label packaging with contents and dates of freezing.
Suitable packaging:
Plastic film, tubular film made of polyethylene, aluminum foil, and freezer containers.
Recommended storage times of frozen food in the freezer
These times vary depending on the type of food. The food that you freeze can be preserved from 1 to 12 months (minimum at -18°C).
| Food | Storage time |
| Bacon, casseroles, milk | 1 month |
| Bread, ice cream, sausages, pies, prepared shellfish, oily fish | 2 months |
| Non-oily fish, shellfish, pizza, scones, and muffins | 3 months |
| Ham, cakes, biscuits, beef and lamb chops, poultry pieces | 4 months |
| Butter, vegetables (blanched), eggs whole and yolks, cooked crayfish, minced meat (raw), pork (raw) | 6 months |
| Fruit (dry or in syrup), egg whites, beef (raw), whole chicken, lamb (raw), fruit cakes | 12 months |
Never forget:
- When you freeze fresh foods with a ‘use by/best before/best by/’ date, you must freeze them before the expiry of this date.
- Check that the food was not already frozen. Indeed, frozen food that has thawed completely must not be refrozen.
- Once defrosted, food should be consumed quickly.
VACATION TIME
For short vacation periods, leave the control knobs in their usual settings. During longer absences:
- Remove all foods.
- Disconnect from the electrical outlet.
- Clean the refrigerator thoroughly, including defrost pan.
- Leave the door open to avoid possible formations of condensate, mold, or odors.
POWER FAILURE
- Most power failures are corrected within an hour or two and will not affect your refrigerator temperatures. However, you should minimize the number of door openings while the power is off.
- During power failures of longer duration, take steps to protect your food by putting dry ice on top of packages.
- Frozen food should not be affected if the power failure lasts for less than 15 hours. Do not refreeze frozen foods that have thawed completely. The food may be dangerous to eat.
SOME IMPORTANT RULES FOR THE CORRECT USE OF THE REFRIGERATOR
- Never place hot foods in the refrigerator.
- Beverages should be stored in sealed containers.
- Foods to be stored for a long time should be wrapped in cellophane or polyethylene foil, or kept in glass containers.
- Never place spoiled foods in the cabinet.
- Don’t overload the cabinet.
- Don’t open the door unless necessary.
- Caution: Please keep the products away from fire or similar glowing substances before you dispose of the refrigerator.
- Caution: Not for outer camping use (e.g. in a tent).
- Caution: For indoor use only.
- Caution: The appliance cannot be used in public transportation.
- Keep all accessories such as shelves, door racks, and drawers in the appliance to minimize energy consumption.
- Please read the storage instructions on the food packaging. Always check the storage date.
- Do not place carbonated drinks in the freezer. The bottle/can is pressurized and may explode.
- Be careful when consuming ice creams that come from the freezer. These can cause frostbite.
CLEANING AND MAINTENANCE
- Do not use abrasive cleaning agents or solvents.
- Disconnect the mains plug from the mains socket.
- Take out the food and store it in a cool location.
- Clean the appliance with a soft cloth, warm water, and detergent.
- Wipe the door seal with clear water only and then wipe dry thoroughly.
- After cleaning, put the plug in the socket and set the desired temperature.
- Put the food back into the appliance.
DEFROSTING THE REFRIGERATOR
The refrigerator defrosts fully automatically.
While the cooling is running, beads of condensation or hoarfrost form at the back of the refrigerator. This is normal. It is not necessary to wipe off the condensation or frost. The rear panel defrosts automatically. The condensation runs into the condensation channel and is conveyed to the cooling from where it evaporates.
Note: Keep the condensation channel and drainage hole clean, so that the condensation can run out.
DEFROSTING THE FREEZER
A layer of frost in the freezer will impair refrigeration of the frozen food and increases power consumption. Remove the layer of frost regularly. Do not scrape off frost or ice with a knife or pointed object. Doing this may damage the refrigerant tubes.
- Remove the frozen food and place it temporarily in a cool location.
- Disconnect the appliance from the main socket.
- To accelerate the defrosting process, place a pan of hot water on a stand in the freezer.
- Wipe up condensation with a cloth or sponge.
- Wipe dry the freezer compartment.
- Plug in the appliance and adjust the temperature control knob as desired.
- Put the frozen food back in the freezer.
TROUBLE SHOOTING
Frequently, a problem is minor and a service call may not be necessary, use this troubleshooting guide for a possible solution.
Does not work
- Check the connection of the power cord to a power source.
- Plug in the unit.
- Use proper voltage.
Cools too frequently
- The temperature setting is too cool.
- Close the door securely.
- Be sure that the food is cool before inserting it.
- Do not keep the door open for too long and minimize door openings.
- Use proper voltage.
- Do not place the unit close to heat sources or direct sunlight.
Internal temperature not cold enough
- Check the connection of the power cord to a power source.
- Plug in the unit.
- Check settings and adjust as needed.
- Close the door securely.
- Be sure that the food is cool before inserting it.
- Do not keep the door open for too long and minimize door openings.
- Allow room for air to circulate around the unit.
- Use proper voltage.
- Do not place the unit close to heat sources or direct sunlight.
Unusual sounds
- The appliance is not level. Readjust the adjusting feet and level the unit.
- The unit is touching a wall or another object. Gently move the appliance.
ENVIRONMENTAL GUIDELINES
This symbol on the product or on its packaging indicates that this product may not be treated as household waste. Instead, it must be brought to the applicable collection point for the recycling of electrical and electronic equipment. By ensuring this product is disposed of correctly, you will help prevent potential negative consequences for the environment and human health, which could otherwise be caused by inappropriate waste handling of this product. For more detailed information about recycling this product, please contact your local city office, your household waste disposal service, or the shop where you purchased the product.
The packaging is recyclable. Please treat the packaging ecologically.
Webshop
ORDER
the original Domo accessories and parts online at:
webshop.domo-elektro.be
or scan here:
http://webshop.domo-elektro.be
LINEA 2000 BV – Dompel 9 – 2200
Herentals – Belgium –
Tel: +32 14 21 71 91 –
Fax: +32 14 21 54 63



































