Gude GSS 400 Saw Blade Sharpener Instruction Manual
Product Descriptions









Introduction
To enjoy your new machine as long as possible, please read carefully the Operating Instructions and the attached safety instructions before using it. Further, we recommend keeping the Operating Instructions to recall the product features in the future.
Within the continuous product development, we reserve the right to make technical changes to improve it.
Any reprints, even partial, are subject to approval.
This document represents translation of the original Operating Instructions.
Appliance description
Circular saw blade sharpener To sharpen saw discs of hard metal of diameter 90 – 400 mm.
Pic. 1 and 2:
- Base board
- Adjustable arm
- Wing nut
- Motor
- Grinding wheel guard
- Safety glass
- Grinding diisc
- Blade support
- Angular scale
- Switch ON/OFF
- Handle
- Blade receiver regulator
- Pin
- Depth gauge
Technical Data
| Circular saw blade sharpener | #94217 |
| Connection: | 230 V~50 Hz |
| Protection type: | IP 20 |
| Max. output: | 110 W (S3 50%) |
| Motor speed: | 5300 min-1 |
| Grinding wheel: | 100 x 10 mm |
| Grinding wheel setting angel: | 2×25° |
| Angular adjustment of support table: | variabel |
| Connection cable: | 1,5 m/H05 VV-F |
| Dimension LxWxH: | 290x280x235 mm |
| Weight: | 5,4 kg |
Use as designated
This product may only be used for grinding/sharpening and processing carbide tipped saw blades.
The machine cannot be used for works other than for which the machine has been designed and that are specified in the Operating Instructions. Any other use is a use in conflict with the designation. The manufacturer will not be liable for any consequential damage and injuries. Please be sure to know that the machine has not been designed for industrial purposes.
Operator requirements
The operator must carefully read the Operating Instructions before using the machine.
Qualification
No special qualification is necessary for using the machine apart from detailed instruction by an expert.
Training
Using the machine only requires appropriate instructions by a professional or reading the Operating Instructions. No special training necessary.
Important basic safety instructions
Before you start working with the appliance please read carefully the following safety regulations and Operating Instructions. If any other person is to handle the appliance provide him/her with the Operating Instructions. Keep the Operating Instructions for future reference!
Package: The appliance has been put in a package to prevent any damage during transport. Packages are raw materials so they can be reused or recycled.
Please read carefully the Operating Instructions and follow them. Use these Operating Instructions to get acquainted with the appliance, its corresponding use and safety instructions. Keep the Instructions for future reference.
- Inspect the appliance visually before each use. Do not use the appliance if any safety device is damaged or worn out.
Never remove any safety device. - Use the appliance only for the purpose specified in these Operating Instructions.
- Safety in the workplace is your responsibility.
- Work only with sufficient lighting conditions.
- Never leave the appliance unattended.
- Put the appliance to a safe place if you need to interrupt your work.
- Protect against humidity and rain.
- Do not switch the appliance on if turned over or not in the operating position.
- Keep the appliance out of reach of other persons, especially children and pets.
- All parts on the product must be checked regularly for sign of a damage or aging. The product may not be used, if its condition is not intact.
- Use only original spare parts for the maintenance.
- Any repairs can only be executed by an electrician.
- Before putting the appliance into operation and after any impact check it for any wear-out or damage and have necessary repairs executed.
- This product is not a toy for children! Children can not estimate risks caused by this product. Never let children use this product.
- Persons unable to operate the appliance due to their physical, sensory or mental abilities or their inexperience or lack of knowledge must not operate it.
- If the appliance show any sign of visible damage the appliance must not be put into operation.
- Repairs of the appliance can only be executed by an electrician. There might be significant risks as a result of unauthorised repairs.
- The same regulations apply for accessories.
Güde GmbH & Co. KG does not answer for damages caused by:
- Appliance damage by mechanical influences and overloading.
- Any changes to the appliance.
- Use for any other purpose than that described in the Operating Instructions.
- Unconditionally follow all safety instructions to prevent accidents and damage.
Important product-specific safety instructions
- The unit should be safely attached to the bench horizontally.
- Your work place should be kept clean and sufficiently lit (500 lux).
- Never use the unit close to flammable materials, gases and liquids.
- Wear protection goggles, ear protectors and suitable protection clothing. Use a respirator if necessary.
- Wear clothes fitted to the occasion. Do not wear loose clothing or jewels that could be caught by rotating parts.
Non-skid shoes are recommended. If your hair is long, wear a hairnet. - Mind a stable poise and good footing when working with the unit.
- Always leave the existing protection equipment in place and make sure that they work perfectly. The operation without the protection equipment is not allowed.
- Make regular checks to see that all the screwed joint are fitted firmly.
- Make sure that the power supply cable is not taken within the reach of rotating parts.
- Do not leave the unit unattended if it is running. Any time you leave the unit, switch it off. Do no leave any adjustment wrenches stuck in the unit.
- Before switching on, make sure that all the wrenches and adjusting tools are removed.
- Any longer products should be supported.
- Avoid any contact with grinding aids and materials.
- Be careful to avoid any hit on the saw disc. No warranty may be granted against the diamond disc damage.
The unit is allowed for use in RCD mains (stray current protection)
Residual Hazards and Protective Action
- Mechanical Residual Hazards:
- Catching, winding: Loose-fitting clothes, jewels or long hair may be caught by moving parts.
- Wear tight-fitting garments and no jewels. Protect your hair with a hairnet.
- Friction, abrasion:
A contact with the rotating grinding wheel may result in serious injuries.- Always prevent any contact of your hands with the wheel. Wear protective gloves.
- Catching, winding: Loose-fitting clothes, jewels or long hair may be caught by moving parts.
- Electrical Residual Hazards:
- Direct electrical contact:
Defective cable or plug may cause an electrical shock- Have the defective cable/plug exchanged by a professional. Use the unit only if connected via a faulty current switch (RCD).
- Indirect electrical contact
Wounds caused by conductive parts on open electrical or defective structural parts- Always unplug before any maintenance. Operate only with RCD switch installed.
- Direct electrical contact:
- Noise Hazards:
- Impaired Hearing
Prolonged work with the saw may result in hearing impairment- Always wear ear protectors
- Impaired Hearing
- Materials and Other Substances Hazards:
- Contact, aspiration:
Lungs may be affected by great amount of dust being formed- Always wear breathing mask when working with the unit.
- Contact, aspiration:
- Human Factors Neglect:
- Negligent use of personal protection equipment:
Operating the unit without adequate PPE may cause severe external/internal injuries- Always wear prescribed protective clothing and work considerately.
- Inadequate local lighting:
Insufficient light is a heavy safety risk.- Provide for sufficient lighting
- Negligent use of personal protection equipment:
- Other Hazards:
- Thrown away articles and splashes
The band or mechanical particles may wound your eyes in the course of grinding job.- Always wear protection goggles.
- Thrown away articles and splashes
Marking
Meaning of Symbols
Symbols shown below are used throughout this manual and/or on the unit:
Product Safety:
| Product corresponds to applicable EU standards | This product has protective insulation. |
Bans:
![]() | ![]() |
| General ban In combination with another pictogram) | Do not use the unit in rain! |
![]() | ![]() |
| No pulling the cable! | Do not touch rotating parts! |
Warning:
| Warning/Caution | Warning against dangerous voltage |
| Keep safe distance! |
Commands:
![]() | ![]() |
| Please read carefully the Operating Instructions. | Wear ear protectors and protective glasses! |
![]() | |
| Wear protective gloves! |
Environment protection:
![]() | ![]() |
| Dispose waste professionally so as not harm the environment. | Packing cardboard material may be delivered to collecting centres for recycling. |
![]() | ![]() |
| Any defective and/or disposed electric or electronic devices must be delivered to respective collection centres. | Interseroh-Recycling system with serial number |
Package:
![]() | |
| Protect against moisture! Caution – Fragile! This side up! |
Technical specifications:
![]() | ![]() |
| Voltage ~ frequency | Engine output |
![]() | |
| Speed | Circular saw blade diameter |
![]() | ![]() |
| Noise value indication | Blade diameter |
| Weight |
Warranty
The warranty exclusively applies to material or manufacturing defects. The original proof of purchase including the date of purchase must be submitted when applying a claim in the warranty period. The warranty does not cover any unauthorised use such as machine overload, violent use, damage by a foreign person or an undesirable item. The failure to follow the Operating Instructions and assembly instructions and common wear and tear are also excluded from the warranty.
Behaviour in case of emergency
Provide necessary first aid treatment corresponding to the injury nature and seek qualified medical help as soon as possible. Protect the injured person from other injuries and calm him/her down.
In case of accident, first aid kit must always be available in the place of your work in accordance with DIN 13164.
Material taken out of the first aid kit needs to be supplemented right away.
Please provide the following details if help is needed:
- Place of accident
- Accident nature
- Number of injured persons
- Injury type
Disposal
The disposal instructions are based on icons placed on the machine or its package. The description of the meanings can be found in the “Marking“ section.
Transport package disposal
The package protects the machine against damage during transport. Packing materials are usually chosen depending on their environmental friendliness and disposal method and can therefore be recycled. Returning the package to material circulation saves raw materials and reduces waste disposal costs. Parts of packages (e.g. foils, styropor®) can be dangerous to children. Risk of suffocation!
Keep parts of the package away from children and dispose them as soon as possible.
Assembly and Initial Operation
The unit is delivered assembled. It only needs to unpack.
- Wipe metal parts of the slide regularly with an oil-soaked cloth and lubricate the spindle before every use.
Initial Operation Safety Instructions
- Mind safe attachment of the unit to suitable surface.
- Make sure that all the screws are tight.
- Make sure all safety devices are mounted
- Check before each start-up disc for cracks and damage
Operator Safety Instructions
Unplug the unit before any maintenance/adjustment and repair. Unplug after finishing the work as well.
- Do not use the unit before you have read the operating manual carefully.
- Observe all the safety instructions indicated in the manual.
- Be responsible to the others.
Operation (Pic. 1, 2, 3, 5, 9 and 10)
Circular saw blade assembly
- Remove the blade receiver regulator (pict. 3/5), fishplates (pict. 3/1), spring (pict. 3/2) and clamping flange (pict. 3/3).
- Place the circular saw blade on the pivot bolt and assemble all parts in right order together. The circular saw blade cannot be tightened completely, it must rotate freely.
Circular saw blade configuration
- Circular saw blade shall be calibrated.
- Grinding wheel must run parallel to the plane of the saw blade.
Adjustable arm configuration – (pict. 1 and 5)
- You must calibrate the adjustable arm of the blade sharpener according to saw blade size (pict. 1/2).
- After you loose the wing nut (pict. 1/3), you are able to pull out the adjustable arm (pict. 1/2), (see pict. 5/2) and turn it around (see pict. 5/1).
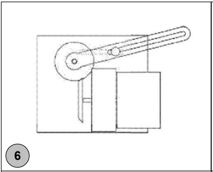
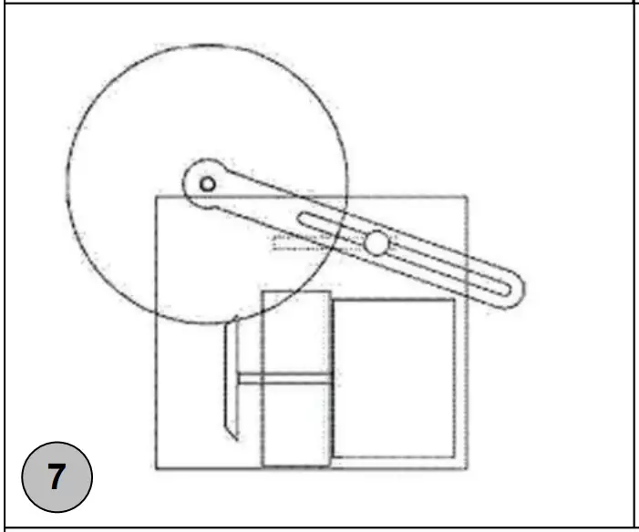
- You can sharpen saw blade from 90 to 400 mm diameter by moving the pin (pict. 1/13) on the base board (pict. 5/3) and also by movable block (pict. 5/4).
Examples:
Picture 6: Circular saw blade of 90 mm diameter- motor (pict. 1/4) must be shifted to the back.
Picture 7: Circular saw blade of 230 mm diameter- motor (pict. 1/4) must be shifted to the front.
Picture 8: Circular saw blade of 400 mm diameter- motor (pict. 1/4) must be shifted to the front and the arm shall be positioned so the wing nut (pict. 1/13) will not intersect with saw blade.
Depth gauge (pict. 1 a 9)
- Bended saw blade – motor (pict. 1/4) bevel angle must be set to correspond with saw blade bending (pict. 9).
- Loose the two nuts (pict. 1/14) and tilt the motor (pict.
1/4) until you see the required angle on the angular scale (1/9). - Then tighten the nuts (pict. 1/14) back again.
Circular saw blade sharpening (pict. 2 a 10)
- After you adjust everything, set the safety pin (pict. 10) so it will press a little against the saw blade.
- Turn the machine on and start sharpening the saw blade (pict. 2/10).
- Press the handle (pict. 2/14) down so the rotation of the grinding wheel corresponds with saw blade rotation and the depth gauge is reached.
- Pull the grinding wheel back and turn the saw blade so another tooth can be sharpened.
- Repeat these steps until all teeth are sharpened.
- In case of double teeth disc, sharpen every second tooth, then change the angle and sharpen the rest of teeth.
Inspections and Maintenance
Unplug the unit before any maintenance/adjustment and cleaning. Unplug upon finishing the work as well
Unplug the unit before any maintenance/adjustment and cleaning. Unplug upon finishing the work as well Keep the machine clean and free of any dust. Oil the slide well to prevent jerking.
Safety instructions for the inspection and maintenance:
Only a regularly maintained and well serviced product can be a satisfactory tool. Lack of maintenance and care can lead to unexpected accidents and injuries.
Inspections and Maintenance Schedule:
| Time Interval | Description | Other Details if Required |
| After every use | Wipe the unit with clean dry cloth or blow off with low-pressure air. |
Transportation and Storage
The unit has been designed for stationary use only.
Any tools that are not routinely used should be stored in a dry locked room.
Troubles-Causes- Troubleshooting
| Trouble | Cause | Troubleshooting |
| Burning disc (blunt) | 1. The sharpening surface excessively lubricated. 2. Worn diamond layer. |
|
Maintenance
Do you have any technical questions? A claim? Do you need spare parts or the Operating Instructions?
You will be helped quickly and without needless bureaucracy at our webpage www.guede.com in the Services section.
Please help us be able to assist you. To identify your machine when claimed, we need to know its serial No., order No, and year of production. All these details can be found on the type label. Enter the details below for future reference.
Serial No.:
Order No.:
Year of production:
Tel.: +49 (0) 79 04 / 700-360
Fax: +49 (0) 79 04 / 700-51999
Email: [email protected]
EU DECLARATION OF CONFORMITY
We,
Güde GmbH & Co. KG
Birkichstrasse 6 D-74549 Wolpertshausen
Germany,
hereby declare that the design of the machines below corresponds to the applicable requirements of the basic EU safety and hygiene directives.
In case of alternation of the machine, not agreed upon by us, this Declaration will lose its validity.
Machine description: Saw blade sharpener GSS 400
Art. No. #94217
Applicable EU Directives:
2004/108/EG
2006/95/EG
Applicable harmonised standards:
EN 61029-1:2000+A11+A12:03
EN 61029-2-4:2003+A1:03 in parts
EN 55014-1:2006
EN 61000-3-2:2006
EN 55014-2:1997/+A1:2001+A2:2008
EN 61000-3-3:2008
Date/authorised signature: 04.04.2012 
Title of signatory: Managing Director
Mr Arnold
Technical documentation: J. Bürkle FBL; QS
GÜDE GmbH & Co. KG
Birkichstrasse 6
74549 Wolpertshausen
Deutschland
Tel.: +49-(0)7904/700-0
Fax.: +49-(0)7904/700-250
eMail: [email protected]





































