MAYTAG MGT8820DS Freestanding Gas Range with Double Ovens

WARNING
Food Poisoning Hazard Do not let food sit for more than one hour before or after cooking. Doing so can result in food poisoning or sickness.





Surface Burners
NOTE:
Do not obstruct the flow of combustion and ventilation air around the burner grate edges. Always keep the burner cap in place when using a surface burner. A clean burner cap will help avoid poor ignition and uneven flames. Always clean the burner cap after a spillover, and routinely remove and clean the caps according to the “General Cleaning” section in the Owner’s Manual.
Alignment: Be sure to align the gas tube opening in the burner base with the orifice holder on the cooktop and the igniter electrode with the notch in the burner base.

NOTE:
The oval burner base is permanently attached to the burner cap.
Gas tube opening:
Gas must flow freely throughout the gas tube opening for the burner to light properly. Keep this area free of soil and do not allow spills, food, cleaning agents or any other material to enter the gas tube opening. Keep spillovers out of the gas tube opening by always using a burner cap.

To Clean
IMPORTANT: Before cleaning, make sure all controls are OFF and the cooktop is cool. Do not use oven cleaners, bleach, or rust removers. Do not wash in the dishwasher
- Remove the burner cap and the burner base, and clean according to “General Cleaning” section in the Owner’s Manual.
- Clean the gas tube opening with a damp cloth.
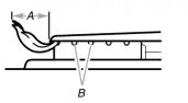
- Clean clogged burner ports with a straight pin as shown .Do not enlarge or distort the port. Do not use a wooden toothpick. If the burner needs to be adjusted, contact a trained repair specialist.

- Replace the burner base. The burner bases and caps must be properly positioned before cooking. Your range comes with three sizes of burners and caps. See the following illustration for burner positions.

- Replace the burner cap, making sure it is properly aligned with the burner base. If burner caps are not properly positioned, surface burners will not light. The burner cap should not rock or wobble when properly aligned.

IMPORTANT: The bottom of the small and medium caps are different. Do not put the wrong size burner cap on the burner base.
- Turn on the burner. If the burner does not light, check cap alignment. If the burner still does not light, turn off the burner. Do not service the burner yourself. Contact a trained repair specialist.
Grates
The grates on this range cover the full width of the cooktop. The two grates may interlock (on some models), using the hook formed into one end of both grates. The flat end of one grate drops onto the hook on the other grate as shown in the following illustration.
On some models, the two grates are identical and can be used on either the left or right side of the cooktop. Grates that are designed for use on only one side of the cooktop will have either “LEFT” or “RIGHT” embossed on the bottom side of the grate.
Griddle

To Use the Griddle:
- Locate the griddle on the right side grate as shown. The locating feet on the bottom of the griddle will engage the grate tines to keep the griddle from sliding.
- Before each use, brush on a thin layer of cooking oil to keep food from sticking. Cooking sprays may leave a sticky residue on the griddle that is hard to remove.
- Preheat the griddle for 5 minutes. Preheating the griddle slowly will ensure even heat distribution and will avoid warping the griddle.
- For preheating and cooking, set the front burner to the lowest heat setting and the rear burner to Medium-High heat for best performance.
NOTE: The griddle may also be used on the left side grate. For best results, the rear burner setting should be set to Medium-Low or Medium, and the front burner setting should be set to Low.
To Clean the Griddle:
- Let the griddle cool, and then empty the drip tray
- See the “General Cleaning” section of your Owner’s Manual for cleaning instructions.
- Store griddle in a cool dry place.
Cookware
IMPORTANT:
Do not leave empty cookware on a hot surface cooking area, element, or surface burner. Ideal cookware should have a flat bottom, straight sides, and a well-fitting lid, and the material should be of medium-to-heavy thickness.
Rough finishes may scratch the cooktop or coils. Aluminum and copper may be used as a core or base in cookware. However, when used as a base, they can leave permanent marks on the grates.
Cookware material is a factor in how quickly and evenly heat is transferred which affects cooking results. Cookware with nonstick surfaces should not be used under the broiler. Check for flatness by placing the straight edge of a ruler across the bottom of the cookware. While you rotate the ruler, no space or light should be visible between it and the cookware.

Use the following chart as a guide for cookware material characteristics.
For best results, the cookware should be centered above the burner with the bottom sitting level on the grate. The flame should be adjusted so that it does not extend up the sides of the pan.

Home Canning
When canning for long periods, alternate the use of surface burners between batches. This allows time for the most recently used areas to cool.
- Center the canner on the grate above the burner.
- Do not place canner on 2 surface burners at the same time.
- For more information, contact your local agricultural extension office, or refer to published home canning guides. Companies that manufacture home canning products can also offer assistance.
OVEN USE
Odors and smoke are normal when the oven is used the first few times or when it is heavily soiled.
IMPORTANT: The health of some birds is extremely sensitive to the fumes given off. Exposure to the fumes may result in death to certain birds. Always move birds to another closed and well ventilated room.
Electronic Oven Controls
Control Display
The display will flash when powered up or after a power loss. Press Cancel to clear. When oven is not in use, the time of day is displayed.
Tones
Tones are audible signals, indicating the following:
One Tone
- Valid keypad press
- Oven is preheated (long tone).
- Kitchen timer (long tone with reminder tone every minute).
- Function has been entered. Three Tones
- Invalid keypad press Four Tones
- End of cycle (with reminder tone every minute) Use the Settings or Options keypad to change the tone settings.
Settings
Many features of the oven control can be adjusted to meet your personal needs. These changes are made using the Settings keypad. Use the Settings keypad to scroll through the features that can be changed. Each press of the Settings keypad will advance the display to the next setting. After selecting the feature to be changed, the control will prompt you for the required input. Details of all of the feature changes are explained in the following sections.
Press CANCEL UPPER or CANCEL LOWER to exit Settings.
Fahrenheit and Celsius
The temperature is preset to Fahrenheit but can be changed to Celsius.
- Press SETTINGS until “TEMP UNIT” is displayed.
- The current setting will be displayed.
- . Press the Time/Temp + keypad to adjust the setting.
- Press CANCEL UPPER or CANCEL LOWER to exit and display the time of day.
Audible Tones Disable
Turns off all tones, including the end of cycle tone and keypress tones.
- Press SETTINGS until “SOUND” is displayed.
- The current setting will be displayed.
- Press the Time/Temp “+” keypad to adjust the setting.
- Press CANCEL UPPER or CANCEL LOWER to exit and display the time of day.
Sound Volume
Sets the pitch of the tone to either high or low.
- Press SETTINGS until “SOUND VOLUME” is displayed.
- The current setting will be displayed.
- Press the Time/Temp “+” keypad to adjust the setting.
- Press CANCEL UPPER or CANCEL LOWER to exit and display the time of day.
End of Cycle Tone
Activates or turns off the tones that sound at the end of a cycle.
- Press SETTINGS until “END TONE” is displayed.
- The current setting will be displayed.
- Press the Time/Temp “+” keypad to adjust the setting.
- Press CANCEL UPPER or CANCEL LOWER to exit and display the time of day.
Keypress Tones
Activates or turns off the tones when a keypad is pressed.
- Press SETTINGS until “KEYPRESS TONE” is displayed.
- The current setting will be displayed.
- Press the Time/Temp “+” keypad to adjust the setting.
- Press CANCEL UPPER or CANCEL LOWER to exit and display the time of day.
Reminder Tones Disable
Turns off the short repeating tone that sounds every 1 minute after the end-of-cycle tones.
- Press SETTINGS until “REMINDER TONE” is displayed.
- The current setting will be displayed.
- Press the Time/Temp “+” keypad to adjust the setting.
- Press CANCEL UPPER or CANCEL LOWER to exit and display the time of day.
12/24 Hour Clock
Turns off the short repeating tone that sounds every 1 minute after the end-of-cycle tones.
- Press SETTINGS until “12/24 HOUR” is displayed.
- The current setting will be displayed.
- Press the Time/Temp + keypad to adjust the setting.
- Press CANCEL UPPER or CANCEL LOWER to exit and display the time of day.
Demo Mode
IMPORTANT: This feature is intended for use on the sales floor with 120 V power connection and permits the control features to be demonstrated without the oven turning on. If this feature is activated, the oven will not heat.
- Press SETTINGS until “DEMO MODE” is displayed.
- The current setting will be displayed.
- Press the Time/Temp “+” keypad to adjust the setting.
- Press CANCEL UPPER or CANCEL LOWER to exit and display the time of day.
12 Hour Shut-Off
The oven control is set to automatically shut off the oven 12 hours after the oven initiates a cook or clean function. This will not interfere with any timed or delay cook functions.
- Press SETTINGS until “12-HR SHUT-OFF” is displayed.
- The current setting will be displayed.
- Press the Time/Temp “+” keypad to adjust the setting.
- Press CANCEL UPPER or CANCEL LOWER to exit and display the time of day.
Languages – Scrolling Display Text
Language options are English, Spanish and French.
- Press SETTINGS until “LANGUAGE” is displayed.
- The current setting will be displayed.
- Press the Time/Temp “+” or “-” keypad to adjust the setting.
- Press CANCEL UPPER or CANCEL LOWER to exit and display the time of day.
Energy Save
The Energy Save mode deactivates the display to reduce energy consumption. The setting will be activated after being idle for several minutes. Any mode may be used with the range in Energy Save by selecting the desired mode.
- Press SETTINGS until “ENERGY SAVE” is displayed.
- The current setting will be displayed.
- . Press the Time/Temp “+” keypad to adjust the setting.
- Press CANCEL UPPER or CANCEL LOWER to exit and display the time of day.
Oven Temperature Offset Control
IMPORTANT: Do not use a thermometer to measure oven temperature. Elements will cycle on and off as needed to provide consistent temperature, but they may run slightly hot or cool at any point in time due to this cycling. Most thermometers are slow to react to temperature change and will not provide an accurate reading due to this cycling. The oven provides accurate temperatures; however, it may cook faster or slower than your previous oven, so the temperature can be adjusted to personalize it for your cooking needs. It can be changed in Fahrenheit or Celsius.
To Adjust Oven Temperature:
- Press SETTINGS until “TEMP CALIB” is displayed.
- The current setting will be displayed. Press the Time/Temp “+” keypad to toggle between the upper and lower ovens.
- Press START UPPER or START LOWER to select the choice displayed in Step 2. Wait 10 seconds for the display to change or press START UPPER or START LOWER, and then continue with Step 4.
- Press the Time/Temp “+” keypad to increase the temperature in 5°F (3°C) increments, or press the Time/Temp “-” keypad to decrease the temperature in 5°F (3°C) increments. The range is from -30°F to +30°F (-18°C to +18°C).
- Press START UPPER or START LOWER.
- Press CANCEL UPPER or CANCEL LOWER to exit and display the time of day.
Keep Warm
IMPORTANT: Food must be at serving temperature before placing it in the warmed oven. Food may be held up to 1 hour; however, breads and casseroles may become too dry if left in the oven during the Keep Warm function. For best results, cover food.
The Keep Warm or warm feature allows hot cooked foods to stay at serving temperature.
To Use:
- Press KEEP WARM for the desired oven.
- Press the Time/Temp “+” or “-” keypad to set the desired temperature. Press and hold to scroll quickly. The temperature will not scroll past the minimum or maximum allowable temperature.
NOTE: The temperature may be changed at any time by pressing the Time/Temp “+” or “-” keypad to enter the desired temperature and then START. - Press START.
- Place food in the oven.
- Press CANCEL for the selected oven when finished.
- Remove food from the oven.
To Cancel Keep Warm:
1. Press CANCEL for the selected oven.
2. Remove food from oven.
Sabbath Mode
Sabbath mode sets the oven to remain on in a bake setting until turned off.
When the Sabbath mode is set, only the Bake cycle will operate. All other cooking and cleaning cycles are disabled. No tones will sound and the displays will not indicate temperature changes.
When the oven door is opened or closed, the oven light will not turn on or off and the heating elements will not turn on or off immediately.
To Enable Sabbath Mode Capability (One Time Only):
- Press SETTINGS until “SABBATH” is displayed.
- Press the Time/Temp “+” keypad. Sabbath mode can be activated for baking.
- Press CANCEL UPPER or CANCEL LOWER to save the setting and exit to display the time of day.
NOTE: To disable the Sabbath mode, repeat steps 1 through 3 to change the status from “SABBATH ON” to “SABBATH OFF.”
To Activate Sabbath Mode:
- Press BAKE for the desired oven.
- Press the Time/Temp “+” or “-” keypad to set the desired temperature.
- Press START.
For timed cooking in Sabbath mode, press COOK TIME, and then press the Temp/Time “+” or “-” keypad to set the desired cook time. Press START. - (Optional) If Sabbath mode is to be used for both ovens, repeat steps 1 through 3 for the second oven.
- Press SETTINGS. Three tones will sound. Then press and hold KITCHEN TIMER for several seconds until “SAb” appears in the display.
To Adjust Temperature (when Sabbath mode is running in only one oven):
- Press the Temp/Time “+” or “-” keypad as instructed by the scrolling text to select the new temperature.
NOTE: The temperature adjustment will not appear on the display and no tones will sound. The scrolling text will be shown on the display as it was before the keypad was pressed.
2. Press START
To Adjust Temperature (when Sabbath mode is running in both ovens):
- Press BAKE for the desired oven.
- Press the Temp/Time “+” or “-” keypad as instructed by the scrolling text to select the new temperature.
NOTE: The temperature adjustment will not appear on the display and no tones will sound. The scrolling text will be shown on the display as it was before the keypad was pressed. - Press START.
To Deactivate Sabbath Mode:
Press SETTINGS, then press and hold KITCHEN TIMER to return to regular baking or press CANCEL UPPER or CANCEL LOWER to turn off the oven(s).
Positioning Racks and Bakeware
Use the following illustrations and charts as a guide for positioning racks.
Baking and Broiling
Rack Positions – Lower Oven
Multiple Rack Cooking
2-rack: Use rack positions 2 and 4 for regular baking.
2-rack (convection only): Use rack positions 2 and 4 for convection baking.
Bakeware
To cook food evenly, hot air must be able to circulate. Allow 2″ (5.0 cm) of space around bakeware and oven walls. Use the following chart as a guide.
Baking and Roasting
Preheating
When beginning a Bake cycle, the oven will begin preheating after the Start is pressed. The oven will take approximately 12 to 15 minutes to reach 350°F (177°C) with all of the oven racks provided with your oven inside the oven cavity. Higher temperatures will take longer to preheat. The preheat cycle rapidly increases the oven temperature. The actual oven temperature will go above your set temperature to offset the heat lost when your oven door is opened to insert food. This ensures that when you place your food in the oven, the oven will begin at the proper temperature. Insert your food when the preheat tone sounds. Do not open the door during preheat before the tone sounds.
Rapid Preheat
Rapid Preheat can be used to shorten the preheating time. Only one standard flat oven rack should be in the oven during Rapid Preheat. Extra racks should be removed prior to starting Rapid Preheat. The preheating cycle should be completed before placing food in the oven. When the Rapid Preheat cycle is complete, the oven starts a normal Bake cycle.
IMPORTANT: Rapid Preheat should be used only for single-rack baking.
Oven Temperature
While in use, the oven elements will cycle on and off as needed to maintain a consistent temperature, but they may run slightly hot or cool at any point in time due to this cycling. Opening the oven door while in use will release the hot air and cool the oven which could impact the cooking time and performance. It is recommended to use the oven light to monitor cooking progress.
NOTE: On models with convection, the convection fan may run in the non-convection Bake mode to improve oven performance.
Temperature Management System
The Temperature Management System electronically regulates the oven heat levels during preheating and baking to maintain a precise temperature range for optimal cooking results. The bake and broil elements or burners cycle on and off in intervals. On convection range models, the fan will run while preheating and may be cycled on and off for short intervals during the bake to provide the best results. This feature is automatically activated when the oven is in use.
Before baking and roasting, position racks according to the
“Positioning Racks and Bakeware” section. When roasting, it is not necessary to wait for the oven preheat cycle to end before putting food in unless it is recommended in the recipe.
Broiling
Close the oven door while broiling. No preheating is necessary. Position food on the grid in a broiler pan, and then place it in the center of the oven rack.
NOTE: Odors and smoke are normal the first few times the oven is used or if the oven is heavily soiled.
Changing the temperature when broiling allows more precise control when cooking. The lower the broil setting, the slower the cooking. Thicker cuts and unevenly shaped pieces of meat, fish, and poultry may cook better at lower broil settings. Refer to the “Positioning Racks and Bakeware” section for more information. In lower settings, the broil element will cycle on and off to maintain the proper temperature.
For best results, use a broiler pan and grid. It is designed to drain juices and help avoid spatter and smoke.
If you would like to purchase a broiler pan, one may be ordered. Please refer to the Quick Start Guide for contact information.
Lower Oven Convection Cooking
In a convection oven, the fan-circulated hot air continually distributes heat more evenly than the natural movement of air in a standard thermal oven. This movement of hot air helps maintain a consistent temperature throughout the oven, cooking foods more evenly, crisping surfaces while sealing in moisture, and yielding crustier bread.
If the oven door is opened during convection cooking, the fan will turn off immediately. It will come back on when the oven door is closed.
NOTE: The oven door must be closed for convection broiling.

Position the racks according to the “Positioning Racks and Bakeware” section before starting convection cooking. With convection cooking, most foods can be cooked at a lower temperature or for a shorter length of time. These adjustments can be made using the following chart or by using the EasyConvect™ Conversion feature (for some models) on your range.
Bow Tie True Convection
True convection adds an electric element around the convection fan to enhance the cooking performance. Use the following Convect Options chart as a guide.
Convect Options
Favorite
The Favorite feature allows you to save the time and temperature settings from any active cook function. Only one favorite is allowed for each oven.
To Save a Cooking Function as a Favorite:
- Press and hold FAVORITE.
- Press the Time/Temp + or – keypad to select the oven in use.
- The cooking function is now stored as a Favorite, and the control resumes operation of the saved cooking function.
To Recall and Start a Favorite:
- Press FAVORITE.
- Press the Time/Temp + or – keypad to select the oven in use.
- Press START. The set temperature can be changed by pressing the Time/Temp + or – keypad and then START. Similarly, the Cook Time can be changed by pressing COOK TIME, the Time/Temp + or
– keypad to adjust to the desired time, and then START. If the cook time is adjusted, the time remaining is replaced by the new time. - Place food in the oven.
- Press CANCEL for the oven that is being used when finished.
- Remove food from the oven. To Cancel a Favorite Cycle
To Cancel a Favorite Cycle:
1. Press CANCEL for the desired oven. The stored Favorite cycle will not be affected.
2. Remove food from the oven.
Cook Time
To Set a Timed Cook:
- Press the keypad for any cooking function except Self-Clean or Keep Warm.
- Press the Time/Temp “+” or “-” keypad to set the desired temperature. Press and hold to scroll quickly. The temperature will not scroll past the minimum or maximum allowable temperature.
- Press COOK TIME.
- Press the Time/Temp “+” or “-” keypad to enter the length of time to cook.
- Press START. The display will count down the time. When the time ends, the oven will shut off automatically. The temperature and/or time setting can be changed at any time by repeating steps 2 through 5.
- Press CANCEL for the desired oven to clear the display.
To Set a Delayed Timed Cook:
- Press DELAY START.
- Press the Time/Temp “+” or “-” keypad to select the desired oven.
- Press the Time/Temp “+” or “-” keypad to enter the number of hours and/or minutes you want to delay the start time. Press and hold to scroll quickly.
- Press the keypad for any cooking function except Keep Warm.
- Press the Time/Temp “+” or “-” keypad to set the desired temperature. Press and hold to scroll quickly. The temperature will not scroll past the minimum or maximum allowable temperature.
- Press STARTor COOK TIME.
- Press the Time/Temp “+” or “-” keypad to enter the length of time to cook.
- Press START.
When the start time is reached, the oven will automatically turn on. The temperature and/or time settings can be changed after the delay countdown by repeating steps 1 through 7. When resetting the time and temperature, it is necessary to press START for the desired oven between steps 4 and 5 to continue making changes.
When the set cook time ends, the oven will shut off automatically. - Press CANCEL for the desired oven to clear the display.
























