SEALEY GDM50B.V2 Bench Drills

Thank you for purchasing a Sealey product. Manufactured to a high standard, this product will, if used according to these instructions, and properly maintained, give you years of trouble free performance.
| IMPORTANT: PLEASE READ THESE INSTRUCTIONS CAREFULLY. NOTE THE SAFE OPERATIONAL REQUIREMENTS, WARNINGS & CAUTIONS. USE THE PRODUCT CORRECTLY AND WITH CARE FOR THE PURPOSE FOR WHICH IT IS INTENDED. FAILURE TO DO SO MAY CAUSE DAMAGE AND/OR PERSONAL INJURY AND WILL INVALIDATE THE WARRANTY. KEEP THESE INSTRUCTIONS SAFE FOR FUTURE USE. |
| Wear eye protection | Wear ear protection | Wear a mask |
|
SAFETY
ELECTRICAL SAFETY
‰ WARNING! It is the user’s responsibility to check the following:
Check all electrical equipment and appliances to ensure that they are safe before using. Inspect power supply leads, plugs and all electrical connections for wear and damage. Sealey recommend that an RCD (Residual Current Device) is used with all electrical products. You may obtain an RCD by contacting your local Sealey dealer.
if the product is used in the course of business duties, it must be maintained in a safe condition and routinely PAT (Portable Appliance Test) tested.
Electrical safety information: it is important that the following information is read and understood.
1.2. Ensure that the insulation on all cables and on the appliance is safe before connecting it to the power supply.
1.3. Regularly inspect power supply cables and plugs for wear or damage and check all connections to ensure that they are secure.
1.4. Important: Ensure that the voltage rating on the appliance suits the power supply to be used and that the plug is fitted with the correct fuse – see fuse rating in these instructions.
✗ DO NOT pull or carry the appliance by the power cable.
✗ DO NOT pull the plug from the socket by the cable.
✗ DO NOT use worn or damaged cables, plugs or connectors. Ensure that any faulty item is repaired or replaced immediately by a qualified electrician.
1.5. This product is fitted with a BS1363/A 13 Amp 3 pin plug.
If the cable or plug is damaged during use, switch the electricity supply and remove from use.
Ensure that repairs are carried out by a qualified electrician.
Replace a damaged plug with a BS1363/A 13 Amp 3 pin plug. If in doubt contact a qualified electrician.
A) Connect the GREEN/YELLOW earth wire to the earth terminal ‘E’.
B) Connect the BROWN live wire to the live terminal ‘L’.
C) Connect the BLUE neutral wire to the neutral terminal ‘N’.
Ensure that the cable outer sheath extends inside the cable restraint and that the restraint is tight. Sealey recommend that repairs are carried out by a qualified electrician.
GENERAL SAFETY

‰ WARNING! Disconnect drill from mains power before changing accessories, servicing or performing any maintenance.
‰ WARNING! Keep all guards and holding screws in place, tight and in good working order. Check regularly for damaged parts.
✓ A guard or any other part that is damaged should be replaced, before the tool is used, to ensure that it operates properly and perform its intended function. The safety guard is a mandatory fitting where drill is used in premises covered by the Health & Safety at Work Act.
✓ Check alignment of moving parts and check for possible broken parts.
✓ Replace or repair damaged parts. Use recommended parts only. Unauthorised parts may be dangerous and will invalidate the warranty.
✓ Ensure the set screws of the head frame are screwed tight before using the drill.
✓ Secure the drill to the workbench or floor.
✓ Drill is designed for use with drill bits only.
✓ Ensure the chuck is securely fastened to the spindle.
✓ Remove adjusting keys, chuck key and wrenches from the machine and working area before switching on.
✓ Use clamps or a vice (not included; available from your Sealey stockist) to secure the workpiece. DO NOT attempt to hold the workpiece by hand.
✓ Refer to speed chart for recommended drilling speeds.
‰ WARNING! Always wear approved eye or face protection when operating this drill. Use face or dust mask if dust is generated.
✓ Keep drill bits clean and sharp for best and safest performance. Follow the instructions for lubrication and changing accessories.
✓ Remove ill fitting clothing. Remove ties, watches, rings and other loose jewellery and contain long hair.
✓ Locate the drill in a suitable work area, keep area clean and tidy and free from unrelated materials. Ensure there is adequate lighting.
✓ Exclude children and non-essential persons from the work area.
✓ Maintain correct balance and footing. Ensure the floor is not slippery and wear non-slip shoes.
✓ Avoid unintentional starting.
✗ DO NOT use the drill for a task it is not designed to perform.
✗ DO NOT allow untrained persons to operate the drill.
✗DO NOT get the drill wet or use in damp or wet locations or areas where there is condensation.
✗ DO NOT operate the drill if damaged or parts are missing.
✗ DO NOT use drill in an area where paint fumes, solvents or flammable liquids pose a potential hazard. Keep flammable material away from the drill when operating. Flammable waste, such as wiping or cleaning rags, must be placed in a closed metal container and disposed of correctly.
✗ DO NOT exceed the rated capacity of the drill.
✗ DO NOT leave the drill operating unattended.
✗ DO NOT operate the drill when you are tired, under the influence of alcohol, drugs or intoxicating medication.
✓ When not in use switch off the drill, remove plug from the power supply and do not leave until the drill has come to a complete stop.
INTRODUCTION
A comprehensive range of bench pillar drills to suit light industrial, agricultural and woodworking applications. Safety devices fitted include a no-voltage release switch, allowing insurance company approval for use in educational establishments. All models have Morse taper spindle housings for accepting taper shank drill bits. Each model offers multiple speed drives and access to drive belts is denied during operation by mechanical protection. All drills are fitted with rack and pinion feed shafts with preset depth control for repetitive work. Mortise attachment Model MA10 is available for Model No’s GDM50B – GDM150B
SPECIFICATION
Model No: . . . . . . . . . . . . . . . . . . . . . . . . . . . . . . . . GDM50B.V2 . . . . . . . . . . . . GDM92B . . . . . . . . . . . . . . . GDM120B
Drilling Capacity (Chuck Size): . . . . . . . . . . . . . . . . 16mm . . . . . . . . . . . . . . . . . 16mm . . . . . . . . . . . . . . . . . . . . . . 16mm
Spindle Nose Taper: . . . . . . . . . . . . . . . . . . . . . . . . MT2 . . . . . . . . . . . . . . . . . . . MT2 . . . . . . . . . . . . . . . . . . . . . . . . MT2
Spindle Centre to Column: . . . . . . . . . . . . . . . . . . . 127mm . . . . . . . . . . . . . . . . 127mm . . . . . . . . . . . . . . . . . . . . 165mm
Spindle Travel: . . . . . . . . . . . . . . . . . . . . . . . . . . . . . 60mm . . . . . . . . . . . . . . . . . 60mm . . . . . . . . . . . . . . . . . . . . . . 80mm
Number of Speeds: . . . . . . . . . . . . . . . . . . . . . . . . . 5 . . . . . . . . . . . . . . . . . . . . . 12 . . . . . . . . . . . . . . . . . . . . . . . . . . . . 16
Speed Range: . . . . . . . . . . . . . . . . . . . . . . . . . . . . . 460-2890rpm . . . . . . . . . . . 210-2580rpm . . . . . . . . . . 210-3340rpm
Maximum Distance Spindle to Table: . . . . . . . . . . . 300mm . . . . . . . . . . . . . . . . 390mm . . . . . . . . . . . . . . . . . . . . 410mm
Maximum Distance Spindle to Base: . . . . . . . . . . . 450mm . . . . . . . . . . . . . . . . 540mm . . . . . . . . . . . . . . . . . . . . 600mm
Working Table Surface Size: . . . . . . . . . . . . . . . . . . Ø248mm . . . . . . . . . . . . . . . Ø248 . . . . . . . . . . . . . . . . . . . . . . Ø310
Working Base Surface Size: . . . . . . . . . . . . . . . . . . 160 x 180mm . . . . . . . . . . . 160 x 180mm . . . . . . . . . . 210 x 190mm
Overall Base Size: . . . . . . . . . . . . . . . . . . . . . . . . . . 345 x 215mm . . . . . . . . . . . 345 x 215mm . . . . . . . . . . 520 x 320mm
Column Diameter: . . . . . . . . . . . . . . . . . . . . . . . . . . 60mm . . . . . . . . . . . . . . . . . 60mm . . . . . . . . . . . . . . . . . . . . . . 70mm
Collar Diameter: . . . . . . . . . . . . . . . . . . . . . . . . . . . 55mm . . . . . . . . . . . . . . . . . 60mm . . . . . . . . . . . . . . . . . . . . . . 60mm
Overall Height: . . . . . . . . . . . . . . . . . . . . . . . . . . . . . 750mm . . . . . . . . . . . . . . . . 840mm . . . . . . . . . . . . . . . . . . . . 960mm
Motor Power (Start): . . . . . . . . . . . . . . . . . . . . . . . . 220W (370W) . . . . . . . . . . . 220W (370W) . . . . . . . . 350W (550W)
Supply: 230V . . . . . . . . . . . . . . . . . . . . . . . . . . . . . . 230V . . . . . . . . . . . . . . . . . . 230V . . . . . . . . . . . . . . . . . . . . . . 230V
Duty Cycle: . . . . . . . . . . . . . . . . . . . . . . . . . . . . . . . S2 . . . . . . . . . . . . . . . . . . . . S2 . . . . . . . . . . . . . . . . . . . . . . . . . . S2
Optional Keyless Chuck 16mm: . . . . . . . . . . . . . . . GDMX/KC . . . . . . . . . . . . . . GDMX/KC . . . . . . . . . . . . . . GDMX/KC
Swing: . . . . . . . . . . . . . . . . . . . . . . . . . . . . . . . . . . 254mm . . . . . . . . . . . . . . . . 254mm . . . . . . . . . . . . . . . . . . . . 330mm
Model No: . . . . . . . . . . . . . . . . . . . . . . . . . . . . . . . . GDM150B.V2 . . . . . . . . . . . GDM180B.V2
Drilling Capacity (Chuck Size): . . . . . . . . . . . . . . . . 16mm . . . . . . . . . . . . . . . . . 16mm
Spindle Nose Taper: . . . . . . . . . . . . . . . . . . . . . . . . MT2 . . . . . . . . . . . . . . . . . . . MT2
Spindle Centre to Column: . . . . . . . . . . . . . . . . . . . 178mm . . . . . . . . . . . . . . . . 216mm
Spindle Travel: . . . . . . . . . . . . . . . . . . . . . . . . . . . . . 80mm . . . . . . . . . . . . . . . . . 80mm
Number of Speeds: . . . . . . . . . . . . . . . . . . . . . . . . . 16 . . . . . . . . . . . . . . . . . . . . 16
Speed Range: . . . . . . . . . . . . . . . . . . . . . . . . . . . . . 120-3000rpm . . . . . . . . . . . 120-3000rpm
Maximum Distance Spindle to Table: . . . . . . . . . . . 480mm . . . . . . . . . . . . . . . . 495mm
Maximum Distance Spindle to Base: . . . . . . . . . . . 670mm . . . . . . . . . . . . . . . . 685mm
Working Table Surface Size: . . . . . . . . . . . . . . . . . . Ø310mm . . . . . . . . . . . . . . . Ø355mm
Working Base Surface Size: . . . . . . . . . . . . . . . . . . 200 x 220mm . . . . . . . . . . . 240 x 280mm
Overall Base Size: . . . . . . . . . . . . . . . . . . . . . . . . . . 460 x 275mm . . . . . . . . . . . 520 x 320mm
Column Diameter: . . . . . . . . . . . . . . . . . . . . . . . . . . 80mm . . . . . . . . . . . . . . . . . 80mm
Collar Diameter: . . . . . . . . . . . . . . . . . . . . . . . . . . . 60mm . . . . . . . . . . . . . . . . . 75mm
Overall Height: . . . . . . . . . . . . . . . . . . . . . . . . . . . . . 1070mm . . . . . . . . . . . . . . . 1085mm
Motor Power (Start): . . . . . . . . . . . . . . . . . . . . . . . . 450W (650W) . . . . . . . . . . . 550W (750W)
Supply: 230V . . . . . . . . . . . . . . . . . . . . . . . . . . . . . . 230V . . . . . . . . . . . . . . . . . . 230V
Duty Cycle: . . . . . . . . . . . . . . . . . . . . . . . . . . . . . . . S2 . . . . . . . . . . . . . . . . . . . . S2
Optional Keyless Chuck 16mm: . . . . . . . . . . . . . . . GDMX/KC . . . . . . . . . . . . . . n/a
Swing: . . . . . . . . . . . . . . . . . . . . . . . . . . . . . . . . . . 356mm . . . . . . . . . . . . . . . . 432mm
CONTENTS
PACKAGE CONTENTS
Unpack the parts listed below and check to ensure they are in good condition. Any queries must be reported to your stockist immediately.
- Head Assembly
- Column with Flange
- Adjusting Handle with Set Screw (table)
- Pivoted Clamp Bolts (2 – table arm & bracket)
- Arbor
- Wedge
- Base
- Feed Handle and knobs
- Table Bolts and Washers (4)
- Set Screws (2)
- Hex. Keys (2)
- Chuck and Key
- Table Arm, Bracket & Worm
- Rack and Rack Ring
- Safety Guard
ASSEMBLY
NOTE: Figures are illustrative and may differ in detail from your drill.
ASSEMBLY
5.1.1. Place the column assembly on the base, align holes and secure with the bolts and washers provided.
5.1.2. Install table bracket onto column together with rack (fig.1), engaging gear in bracket with rack.
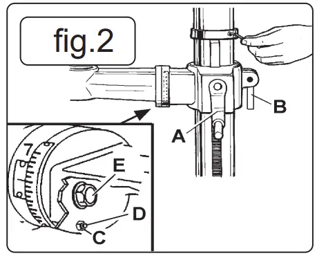
5.1.3. Install the rack collar and tighten firmly (fig.2).
5.1.4. Install table adjusting handle (fig.2.A) and pivoted clamp bolt (the longer of the two – fig.2.B).
5.1.5. Tighten the handle set screw (with the hex. key provided) and the bracket clamp bolt.
5.1.6. Install the table and table clamp bolt (fig.3).
5.1.7. Carefully place the head assembly over the column and slide it into position. Align head with base.
5.1.8. Fit the two set screws in the side of the head and tighten with hex. key (fig.4) to lock head in position.
5.1.9. Fit the feed handle to the hub of the pinion shaft (align pin with slot) and retain with central screw.
5.1.10. To install chuck: open the chuck jaws completely by turning the chuck key anticlockwise. Place a piece of wood on the drill table (to prevent the chuck from getting damaged).
5.1.11. Insert arbor (fig.5.B) into drill spindle (reduced diameter end first), fit chuck to protruding end of arbor and hold in place.
5.1.12. Turn feed handle to bring nose of chuck down onto wood (fig.5). Firmly pull on feed handle to seat arbor tapers in spindle and chuck.

5.1.13. Loosen clamp screw on safety guard mounting collar, pass guard up over chuck and fit collar round flange of quill shaft. Ensure guard pivot is central and tighten clamp screw.
DRILL MOUNTING
5.2.1. For stability and safety it is important that drill base is securely bolted to workbench (GDM150B.V2/180B.V2)
5.2.2. Ensure that the mounting surface is capable of supporting the drill together with the weight of the heaviest likely workpiece.
OPERATION
‰ WARNING! Ensure the drill is unplugged from the mains power supply before commencing.
INSTALL DRILL BIT
6.1.1. Insert drill bit into chuck jaws to 1” (25mm) deep (avoid inserting small bits too far) and centre bit in chuck before tightening.
ADJUSTING THE TABLE
6.2.1. To adjust table up or down, loosen the clamp bolt (fig.2.B) then turn the bracket handle (fig.2.A).
6.2.2. To adjust table tilt, loosen the work table bolt (fig.2.C), remove locking pin (below bolt) and adjust to the desired angle using the angle scale, then retighten. When returning table to horizontal replace locking pin.
6.2.3. To turn the table around the column, loosen the rack collar slightly, then loosen the clamp bolt (fig.2.B).
6.2.4. Turn the table to the desired position then secure the bolt and the rack collar.
ADJUSTING THE SPEED
NOTE: the belt cover is fitted with a micro-switch to prevent drill operation with the cover open.
6.3.1. Open the pulley case and loosen the belt tension lock screws (fig.6.A) – one either side of head.
6.3.2. Choose the speed for drilling operation (see drill speed chart – Section 7) and move the belts to the correct position for that speed, as shown on the chart inside the pulley cover.
BELT TENSION
6.4.1. With the belt tension lock screws (fig.6.A) loose and using hand pressure on the adjusting handle (fig.5.C), set tension so that belt deflection is no more than 1/2” (13mm). Tighten lock screws.
POSITIONING THE WORKPIECE
6.5.1. Use a piece of wood to rest the workpiece on. The drill bit may break through the workpiece and damage the table otherwise.
The wood should rest on the table so that one end of it is against the left side of the column, to prevent it spinning when the drill bit breaks through the workpiece.
6.5.2. For small workpieces that cannot be clamped to the table, use a drill vice (not included). Vice must be clamped or bolted to table.
SETTING THE DRILL DEPTH
6.6.1. Use the scale on the side of the drill head near the drill handle.
6.6.2. Loosen locking screw (fig.5.D) and set the scale to the depth desired. Tighten locking screw.
6.6.3. When ready to drill, simply pull the feed handle. The drill will stop at the set depth.
DRILL SPEEDS
| Drill Dia. (mm) | Drill Speed (rpm) | |||
| Steel | Cast Iron | Iron | Alum. & Copper | |
| 3 | 1820 | 2580 | 2580 | 2580 |
| 4 | 1350 | 1820 | 1820 | 2580 |
| 5 | 1290 | 1350 | 1350 | 2580 |
| 6 | 970 | 1290 | 1290 | 2580 |
| 7 | 830 | 970 | 970 | 2580 |
| 8 | 830 | 970 | 970 | 2580 |
| 9 | 500 | 970 | 830 | 1820 |
| 10 | 500 | 830 | 830 | 1820 |
| 11 | 500 | 830 | 830 | 1820 |
| 12 | 420 | 830 | 500 | 1820 |
| 13 | 420 | 500 | 500 | 1350 |
| 14 | 420 | 500 | 500 | 1350 |
| 16 | 320 | 500 | 500 | 1290 |
| 18 | 320 | 420 | 420 | 1290 |
| 20 | 280 | 320 | 320 | 970 |
| 22 | 210 | 320 | 280 | 970 |
| 25 | 120 | 280 | 210 | 830 |
MAINTENANCE
‰ WARNING! Disconnect drill from mains power before changing accessories, servicing or performing any maintenance.
8.1. Clean the tool after each use. A coat of maintenance spray applied to the table and column will help to keep the surfaces clean.
8.2. Blow out any dust that may have accumulated in the motor.
8.3. Periodically lubricate table elevation rack/gear/worm mechanism and the spindle sleeve exterior
8.4. BELT CHANGING – Instructional video available on Sealey YouTube channel.
8.4.1. Isolate the drill from the power supply.
8.4.2. Remove the belt tension as in section 6.4.
8.4.3. Remove the belt(s) and replace with another of the same specification.
8.4.4. Re-tension the belts as in section 6.4.
8.4.5. Close and secure the pulley case.
TROUBLE SHOOTING
| PROBLEM | POSSIBLE CAUSE | SOLUTION |
| Machine will not start | 1. Micro switch in belt cover not closed | 1. Adjust striker plate |
| Excessive noise |
|
|
| Excessive drill wobble |
|
|
| Drill binds in the workpiece |
|
|
| Drill burns or smokes |
|
|
| Table is difficult to raise/lower |
|
|
![]() | ENVIRONMENT PROTECTION Recycle unwanted materials instead of disposing of them as waste. All tools, accessories and packaging should be sorted, taken to a recycling centre and disposed of in a manner which is compatible with the environment. When the product becomes completely unserviceable and requires disposal, drain any fluids (if applicable) into approved containers and dispose of the product and fluids according to local regulations. |
![]() | WEEE REGULATIONS Dispose of this product at the end of its working life in compliance with the EU Directive on Waste Electrical and Electronic Equipment (WEEE). When the product is no longer required, it must be disposed of in an environmentally protective way. Contact your local solid waste authority for recycling information. |
| Note: It is our policy to continually improve products and as such we reserve the right to alter data, specifications and component parts without prior notice. Please note that other versions of this product are available. If you require documentation for alternative versions, please email or call our technical team on [email protected] or 01284 757505. Important: No Liability is accepted for incorrect use of this product. Warranty: Guarantee is 12 months from purchase date, proof of which is required for any claim. | |
Sealey Group, Kempson Way, Suffolk Business Park, Bury St Edmunds, Suffolk. IP32 7AR
01284 757500
01284 703534
[email protected]
www.sealey.co.uk

Refer to instructions
Wear eye protection
Wear ear protection
Wear a mask
Indoor use only


















