Healthy Choice CK9810
Cordless Electric Knife

Model: CK9810
Batch: PR4439
Included Stainless-Steel Carving Blade Set
Double security Safety Activation
No Blade Sharpening Required
PLEASE READ AND RETAIN THESE INSTRUCTIONS FOR FUTURE REFERENCE.
THIS APPLIANCE IS INTENDED FOR HOUSEHOLD USE ONLY.
The illustrations used in the manual are to illustrate the operation method and structure of the product. Where there is a small difference between the physical item and the illustrations, please take the physical as the standard.
IMPORTANT SAFEGUARDS:
Like any electrical appliance, the Cordless Electric Knife must be handled with care at all times. To ensure your own safety, the following precautions should be followed.
- Take care handling the blade as it is sharp.
- When operating, do not put hands or sharp objects near the blade.
- Ensure the charging cord is unplugged from the outlet in the following situations:
• When appliance is not being used.
• Before parts are being assembled/disassembled.
• Before cleaning. - To avoid the risk of electric shock, never put your knife in water or other liquids and never operate under running water. If the handle falls into liquids with the charging cord plugged in, immediately unplug the cord from outlet and do not reach into the liquid.
- Never immerse the appliance, charge lead or plug in water or other liquid.
- Do not touch the appliance, charge lead or plug with wet hands.
- Do not use the appliance if the charge lead, plug or appliance itself are damaged.
- If the charge lead is damaged, it needs to be replaced in order to avoid an electrical hazard.
- Plug the charging plug into an appropriate power point. To provide continued protection against risk of electric shock, connect it to properly grounded power points only.
- Do not connect the plug into a power point which is exposed to splashing
- To avoid injury, do not allow children to operate the knife. Keep away from children at all times.
- Children should be supervised to ensure that they do not touch or play with the appliance.
- This appliance is not intended for use by person (including children) with reduced physical, sensory or mental capability has or lack of experience and knowledge, unless they have been given supervision or instruction concerning use of the appliance by a person responsible for their safety.
- This appliance is only intended to be used in household and similar applications such as:
– staff kitchen areas in shops, offices, and other work environments
– farm houses
– by clients in hotels, motels, bed and breakfast and other residential environments. - While the knife is turned on, never touch any of its moving parts. Keep hands, hair, clothing and other utensils away from the blade to avoid risk of injury to people and damage to the knife.
- If your knife appears to be damaged or malfunctioning, do not use it.
- Never use your knife for anything other than its intended purpose.
- Do not cut ingredients that are too hard.
- Place the food to be sliced onto a flat cutting board (not included).
- Never use any third-party accessories not approved by the manufacturer. Only use attachments that are included in the packaging of the appliance. The use of other attachments may cause fire, electric shock or injury.
- Do not operate the appliance without the blade.
- Always ensure that the blade is securely locked into place before
- While the appliance is being charged, never let the charging cord hang over the edge of a table or counter. This reduces the risks of the knife being pulled off the area and resulting in injury to people and/or damage to the knife.
- Never allow the charging cord to contact hot surfaces, including a stove, to avoid damage to cord and potential fire or electrocution hazard.
- Do not use in a bathroom or in an area that could allow it to get wet.
- Do not submerge the main unit in water during cleaning.
- Do not use the knife outdoors. It is for indoor household use only.
- There are no internally serviceable parts, do not attempt to disassemble.
- Never insert or allow fingers or foreign objects to enter any ventilation or exhaust openings as it may cause an electrical shock or fire.
- The maximum continuous operating time is 2 minutes. Allow it to rest for at least 4 minutes before using it again. After operating 3 cycles continuously, allow it to cool down to the room temperature.
BEFORE FIRST USE:
Carefully unpack the appliance and remove all packaging materials, check the contents to ensure that all the parts and accessories are present and are in good condition.
To get the most value from your new appliance, please read these instructions carefully.
CLEANING:
Remove any dirt and dust from your knife before its first use. Clean the detachable handle with a damp cloth. Wash the blade separately with hot, soapy water. Dry all parts thoroughly.
CHARGING:
Your knife’s battery is only partially charged. Charge the batteries completely before using the appliance. When charging the indicator light will turn red. Do not operate the knife while connected to the charger.
Connect the charger connection from the charger into the charging port on the knife.
Connect the 240v plug on the charger into the power point.
The batteries are completely charged when the battery indicator light turns green.
When charging is complete, remove the charger from the knife.
It will take around 1.5 – 2 hours to fully charge a dead battery.
On a full charge, you can use your knife for approximately 70 minutes.

IMPORTANT:
Only use the charger provided by the manufacturer.
Do not leave your knife connected to the charger for longer than necessary, as this will reduce your battery life.
Never use knife while charging.
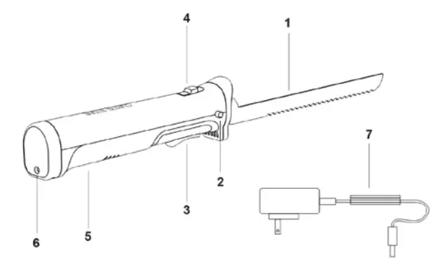
PARTS AND ACCESSORIES:

- Carving blade assembly
- Blade release buttons (one each side)
- On/Off button
- Lock/Unlock safety switch
- Handle
- Electric charging jack
- Charging plug
USE AND OPERATION:
Important: the blade on your knife is very sharp. Always handle them with care, keeping sharp edgesaway from your hands, hair, and body.
ASSEMBLE YOUR BLADE
Your blade assembly consists of two pieces. Hold the end of one piece by its safety guard. Insert its rivet into the keyhole of the other piece. Align the two pieces, ensuring the tips remain together (see Figure 1).

CONNECT YOUR BLADE
Hold in the blade release buttons on either side of your handle. Insert and push your blade assembly into the slots in the handle until they will go no further (see Figure 2). Release the buttons to lock the blade assembly into place. After inserting blade, check they are secure before using.

OPERATE YOUR KNIFE:
Step 1. Unlock the ON/OFF button on the handle by pushing and holding the safety switch forward (see Figure 3). Ensure you hold the knife firmly.
Step 2. Hold the blade parallel to the cutting surface and while continuing to hold the safety switch forward press the ON/OFF button to begin cutting (see Figure 3).

Step 3. Release the ON/OFF button to stop the blade moving. The safety switch will automatically return to the lock position when the ON/OFF button is released.
The maximum continuous operating time is 2 minutes. Allow it to rest for at least 4 minutes before using it again. After operating 3 cycles continuously, allow it to cool down to the room temperature.
REMOVE BLADE
Press and hold both blade release buttons with one hand. With your other hand, carefully remove the blade assembly from its slots. Remove the blade with care and wash in hot soapy water and dry thoroughly.
TIPS:
- Your knife can easily scratch your kitchen bench tops. Always slice your food on a wooden or plastic cutting board.
- Don’t force your blade through the food. Let the knife cut gently at its own pace and avoid sawing motions.
- To keep your blade sharp, avoid cutting through hard substances like bone and fruit pits.
- After cooking your meat, let it sit for at least 10 minutes before you cut it. This gives the juices time to set and makes the meat easier to cut.
- You can leave string on your meat but remove any skewers before cutting.
- Use a carving fork (not included) to steady your meat while cutting.
- Do not attempt to sharpen your knife’s blade. This is unnecessary and may damage the appliance.
- Your knife requires little to no maintenance. Do not attempt to service or repair this appliance yourself.
- Should you experience any difficulty in using your knife, please contact our customer service
team.
CLEANING AND MAINTENANCE:
This appliance requires little maintenance. It contains no user serviceable parts. Do not try to repair it yourself. Contact the customer service department for any unusual issues you may experience.
- The blade does not require any sharpening.
- There are no service parts inside the unit. No lubrication is needed.
- Remove blade and wash with hot soapy water. Dry thoroughly. The blade is also dishwasher safe.
- Clean the housing with damp cloth. Do not use abrasive cleaners.
- Do not immerse the handle in water or other liquids or place it under running water.
- Store the cordless electric knife in a clean, dry place.
- Maintenance: should be performed by an authorized service representative.
DISPOSAL:
Always dispose of a product with a battery pack according to federal, state, and local regulations.
Contact a recycling agency in your area for recycling locations.
Even discharged battery packs contain some energy.






![Lankim Mighty Carver Electric Knife User Manual [ek1126] Lankim Mighty Carver Electric Knife User Manual [ek1126]](https://static-data1.manualsee.com/1/img/105/14922/2020/12/Lankim-Mighty-Carver-Electric-Knife-featured.jpg)













