HOME DECORATORS COLLECTION SP6778 42 in. Infrared Wall Mount Electric Fireplace
Important Safety Instructions
Please read and understand this entire manual before attempting to assemble, operate or install the product. If you have any question regarding the product, please call customer service at
1-800-986-3460, 8 a.m.-7 p.m., EST, Monday-Friday,
9 a.m. – 6 p.m., EST, Saturday.
When using electrical appliances, basic precautions should always
persons including the following:
- Read all instructions before installing or using the heater.
- This appliance is hot when in use. To avoid burns, DO NOT let bare skin touch hot surfaces. Keep combustible material, such as furniture, pillows, bedding, papers, clothes and curtains, at least 3 ft. (1 m) from the front of the heater and keep them away from the side and rear.
- Extreme caution is necessary when any heater is used by or near children or individuals with disabilities and whenever the
- ALWAYS unplug this appliance when not in use.
- DO NOT operate any heater with a damaged cord or plug or after the heater malfunctions. DO NOT operate any heater if it has been dropped or damaged in any manner. Disconnect power at service panel and have heater inspected by a reputable electrician before reusing. Discard heater, or return to authorized service facility for examination and/or repair.
- DO NOT use outdoors.
- This heater is not intended for use in bathrooms, laundry areas and similar indoor locations. NEVER place heater where it may fall into a bathtub or other water container.
- DO NOT run cord under carpeting. DO NOT cover cord with throw rugs, runners, or similar covering. Do not route cord under and where it will not be tripped over.
- To disconnect this appliance, turn controls to the off position, then remove the plug from the outlet.
- ONLY connect to properly grounded outlets.
- Do NOT insert or allow foreign objects to enter any ventilation or damage the appliance.
- To prevent a possible fire, DO NOT block air intakes or exhaust in any manner. DO NOT use on soft surfaces, like a bed, where opening may become blocked.
- Use this appliance only as described in the manual. Any other use is NOT recommended by the manufacturer and may cause fire, electric shock or injury to persons.
- This appliance has hot and arcing or sparking parts inside DO NOT use it in areas where gasoline, paint or flammable vapors or liquids are used or stored. This fireplace should not be used as a drying rack for clothing. Christmas stockings or decorations should not be hung in the area of it.
- ALWAYS plug heaters directly into a wall outlet/receptacle. NEVER use with an extension cord or re-locatable power tap= (outlet/power strip). IT NEEDS A DEDICATED BREAKER.
- This appliance, when installed, must be electrically grounded in accordance with local codes, with the current CSA C22.1 Canadian Electrical Code or follow the National Electrical Code, ANSI/NFPA N0.70
- CAUTION: DO NOT place any objects on top of fireplace and top air intake vents as this will cause unit to overheat and can cause a fire.
- CAUTION: The heaters MUST NOT be located immediately below a socket-outlet.
- CAUTION: There is a thermostat protective device provided inside of the unit. If the inner temperature overheats or abnormal heating occurs, the thermostat protective device will cut off power supply to prevent damage or risk of fire.
- CAUTION: Any repairs to this fireplace should be carried out by a qualified service person.
- CAUTION: If the information in this manual is not followed exactly, an electric shock or fire may result causing property damage, personal injury or loss of life.
- CAUTION: Under no circumstances should this fireplace be modified. Parts having to be removed for servicing must be replaced prior to operating this fireplace again
ELECTRICAL CONNECTION
- This product is equipped with a polarized plug (one blade is wider than the other blade). To reduce the risk of electrical shock, this plug will fit into a polarized outlet only one way. This is a safety feature. If you are unable to insert the plug into the electrical outlet, try reversing the plug. If the plug still does not fit, contact a qualified electrician.
Warranty
1 Year Limited Warranty: The manufacturer warrants this product to be free from manufacturing and material defects for a period of one year from date of purchase, subject to the following conditions and limitations:
- Install and operate this Electric Fireplace in accordance with the installation and operating instructions furnished with the product at all times. Any unauthorized repair, alteration, willful abuse, accident, or misuse of the product shall nullify this warranty.
- This warranty is non-transferable and is made to the original owner, provided that the purchase was made through an authorized supplier of the product.
- The warranty is limited to the repair or replacement of part(s) found to be defective in material or workmanship, provided that such
- The manufacturer may, at its discretion, fully discharge all obligations with respect to this warranty by refunding the wholesale price of the defective part(s).
- Any installation, labor, construction, transportation, or other related costs/expenses arising from defective part(s), repair, replacement, or otherwise of same, will not be covered by this warranty, nor shall the manufacturer assume responsibility for same.
- The owner/user assumes all other risks, if any, including the risk of any direct, indirect or consequential loss or damage arising out of the use, or inability to use the product, except as provided by law.
- All other warranties – expressed or implied – with respect to the product, its components and accessories, or any obligations/liabilities on the part of the manufacturer are hereby expressly excluded.
- The manufacturer neither assumes, nor authorizes any third party to assume on its behalf, any other liabilities with respect to the sale of the product.
- The warranties as outlined within this document do not apply to non-accessories used in conjunction with the installation of this product.
- This warranty gives you specific legal rights, and you may also have other rights which vary from state to state.
This warranty is void if:- The fireplace is subjected to prolonged periods of dampness or condensation.
- There has been unauthorized alteration, willful abuse, accident, or misuse of the product.
- You do not have the original receipt of purchase.
Pre-Installation
PLANNING ASSEMBLY
- Before you begin, locate the instructions and hardware. Be sure you have all of the parts and can identify them.
- To avoid scratching the finish, assemble the product on a soft, non-abrasive surface such as carpet or cardboard.
- Assembly of this product may require more than one person.
TOOLS REQUIRED

PRODUCT SPECIFICATIONS
- Voltage: 120 VAC, 60 Hz
- Amps: 12.5 Amps
- Watts: 1500 Watts
HARDWARE INCLUDED
NOTE: Hardware not shown to actual size
NOTE: Number of the hardware in ( ) is separated for backup.
WARNING: The included plastic wall anchors (BB) are intended for use with solid wall applications only (tile and concrete). DO NOT USE WITH DRYWALL OR OTHER HOLLOW WALL APPLICATIONS.
| Part | Description | Quantity |
| AA | Screws #8-1 1/2” | 6 + (1) |
| BB | Wall Anchor | 6 |
| CC | Screw M6 *12 | 4 |
| DD | Screw M4*8 | 4 + (1) |
PACKAGE CONTENTS

| Part | Description | Quantity |
| A | Top Mounting Bracket | 1 |
| B | Fireplace | 1 |
| C | Heater directional bracket (optional) | 1 |
| D | Front Glass | 1 |
| E | Decorative crystals | 1 |
| F | Bottom Mounting Bracket | 1 |
| G | Left Foot | 1 |
| H | Right Foot | 1 |
| I | Remote Control | 1 |
Installation
The Fireplace can be installed with 2 options:
- Mount the unit on the wall…..Page 8

- Freestanding…..Page 12

Installation – Wall Mount
- Determine the desired location
- Before installing your fireplace, determine the desired location
WARNING: For the best effect install the fireplace out of direct sunlight and away from overhead lighting.
WARNING: For safe operation choose a mounting location with at least 6″ of clear space around the unit
- Before installing your fireplace, determine the desired location
- Mark the drill holes
- Use a level to align the bracket and mark the holes with a pencil.

- Use a level to align the bracket and mark the holes with a pencil.
- Secure the top bracket to the wall
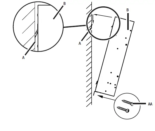
- Select hardware best suited for your wall type and secure the top mounting bracket (A) to the wall.
WARNING: Enclosed wall anchors (BB) only can be used on the concrete wall.
STUD WALL:
Secure the top mounting bracket (A) to the wall using the screws (AA) at the marked stud locations.
DRYWALL:
Screw wall anchors (not included) Secure the top mounting bracket (A) onto the wall using the screws (not included) into the wall anchors.
CONCRETE WALL:
Drill holes at marked locations, then insert wall anchors (BB) into the holes. Secure the top mounting bracket (A) to the wall using the screws (AA).

- Select hardware best suited for your wall type and secure the top mounting bracket (A) to the wall.
- Remove the front glass
- Remove the front glass for easy installation.

- Remove the front glass for easy installation.
- Install the bottom bracket
- Secure the bottom bracket ( ) to the fireplace ( ) using two screws (DD) as shown.

- Secure the bottom bracket ( ) to the fireplace ( ) using two screws (DD) as shown.
- Hang the fireplace to the wall
- Hang the fireplace ( ) to the wall as shown.
- Select hardware best suited for your wall type and secure the bottom bracket (F) to the wall.
WARNING: Enclosed wall anchors (BB) only can be used on the concrete wall.
STUD WALL:
Secure the bottom mounting bracket (F) to the wall using the screws (AA) at the marked stud locations.
DRYWALL:
Screw wall anchors (not included) Secure the bottom mounting bracket (F) onto the wall using the screws (not included) into the wall anchors.
CONCRETE WALL:
Drill holes at marked locations, then insert wall anchors (BB) into the holes. Secure the bottom mounting bracket (F) to the wall using the screws (AA). - Put the decorative crystals (E) into the fireplace media tray, and mount the front glass (D) to the fireplace (B).
- Put back the front glass and secure the screws.

Freestanding
- Remove the front glass and assemble the base
- Remove the front glass.
- Attach the heater directional bracket (C) using two screws (DD) to the fireplace (B).

- Attach the feet to the fireplace
- Attach the feet (G) and (H) to the fireplace (B) as shown.

- Attach the feet (G) and (H) to the fireplace (B) as shown.
- Put the crystals in and mount the front glass back
- Put the decorative crystals (E) into the fireplace media tray, and mount the front glass (D) to the fireplace (B).

- Put the decorative crystals (E) into the fireplace media tray, and mount the front glass (D) to the fireplace (B).
Operation

The fireplace can be operated by either the remote control or the control panel unit side.
- Powering the Fireplace
- Push the Power button to supply power to all functions of
- Push the Power button again to turn off all functions.
- When the unit is in ON mode, the power icon indicator light is green.
- When the unit is in OFF mode, the power icon indicator light is red. When the power is OFF, the unit stops working. If the heater was operating before the power was turned OFF, the fan will continue to run for 20 seconds to ensure there is no heat trapped inside the unit.
NOTE: The unit has a memory function with last unless the main power to the unit has been interrupted.
NOTE: When you plug in the unit each time, an internal check program runs for 5 seconds before the fan and heater turn on.
- Adjusting the Temperature
- The Heater button controls the heater’s thermostat setting.
- Press button to select the desired temperature.
- The thermostat setting range is 65°F (18°C) to 90°F (32°C), ON & OF (OFF).
- When the ambient temperature is higher than the set temperature, heater will turn off automatically.
NOTE: Hold the Heater button for 3 seconds. This allows the temperature unit to change from °C to °F or °F to °C. The unit default is °F. This function is only available if using the control panel.
- Setting the Timer
- The timer setting should be used to set the countdown for the unit’s main power.
- Press the button to adjust the timer setting cycle around from 0 hour (OFF) to 9 hours with 1 hour interval.
- Adjusting the Flame Brightness
- The Brightness button is to set the flame brightness of the unit.
- Press the button to scroll through the flame brightness from F4 ( brightness), F3, F2, F1, FO ( flame off, emberbed glows).
- Adjusting the Flame and Emberbed Colors
- The Flame button controls the flame and emberbed colors.
- Press Flame button to scroll through the flame color settings: C5, C4, C3, C2 and C1.
Setting Flame Color Emberbed Color C1 Blue Blue C2 Yellow+Red+Blue fading Red+Blue fading C3 Yellow + Red Red C4 Yellow + Red + Blue fading Red C5 Yellow+Red+Blue Red + Blue
- Using the Child Lock feature
- When the unit is ON, hold the Lock button for 3 seconds to activate the Child Lock function. E3 will be displayed, buzz and flash 3 times. When E3 is ON, heater is locked, E3 will display when adjust temperature setting.
- To deactivate the Child Lock function, hold the Power button for 3 seconds.
FCC/IC Information
Please read and understand this entire manual before attempting to assemble, operate or install the product.
This equipment has been tested and found to comply with the limits for Class B digital devices, pursuant to part 15 of the FCC rules. These limits are designed to provide reasonable protection against harmful interference in a residential installation. The equipment generates, uses and can radiate radio frequency energy and, if not installed and used in accordance with the instructions, may cause harmful interference to radio or television reception, which can be determined by turning the equipment off and on. The user is encouraged to try and correct the interference by one or more of the following measures:
- Reorient or relocate the receiving antenna
- Increase the separation between the equipment and the receiver
- Connect the equipment into an outlet on a circuit different from that to which the receiver is connected.
- Consult the dealer or an experienced radio/TV technician for help.
This device complies with Part 15 of the FCC rules. Operation is subject to the following two conditions:
- This device may not cause harmful interference
- This device must accept any interference received, including interference that may cause undesired operation.
Modifications not approved by the party responsible for compliance could void user’s authority to operate the equipment.
This Class B digital apparatus complies with Canadian ICES-003.
Care And Maintenance
- Make sure the unit is turned OFF, unplugged and the heating elements of heater are cool whenever you are cleaning the heater.
- Clean the metal trim using a water-dampened soft, clean cloth. DO NOT use brass polish or household cleaners as these products will damage the metal trim.
- The motors used on the fan and the flame generator assembly are pre-lubricated for extended bearing life and require no further lubrication. However, periodic cleaning/vacuuming of the fan/heater and air intake/output vents is recommended.
- Any other servicing should be performed by an authorized service representative.
WARNING: Make sure the power is turned off before proceeding. Any electrical repairs or rewiring of this unit should be carried out by a licensed electrician in accordance with national and local codes
WARNING: If repairing or replacing an electrical component or wiring, the original wire routing, color coding and securing locations must be followed.
WARNING: Electrical outlet wiring must comply with local building codes and other applicable regulations to reduce the risk of fire, electrical shock and injury to persons.
WARNING: During any service of this appliance, the power to the unit must be turned off. First turn the main power switch to the “OFF” position. Then remove the electrical plug from the wall outlet
NOTE: When the heater is not in use, the heater should be stored in a dry location, away from possible damage. The power cord should be stored properly to avoid contact with hot or sharp objects.
Replacing the Remote Control Battery
When the remote control stops operating or its range seems reduced, it is time to replace the batteries.
- The battery compartment is located on the back end of the remote control.
- Press the small tab inward as you slide the battery door open and remove the old battery.
- Do not mix old and new batteries; Do not mix alkaline, standard (carbon-zinc), or rechargeable (ni-cad, ni-mh, etc) batteries.
- Re-insert the battery door.
NOTE: The batteries should be removed if the product is to be left unused for a long time
CAUTION: Non-rechargeable battery is not to be recharged. Exhausted battery is to be removed from the Product.
Disposal of Used Battery
A battery may contain hazardous substances that could be endangering to environment and human health.
- This symbol marked on the battery and/or packaging indicates that used battery shall not be treated as municipal waste. Instead it shall be left at the appropriate collection point for recycling.
- By ensuring the used battery is disposed of correctly, you will help prevent potential negative consequences for the environment and human health. The recycling of materials will help to conserve natural resources.
For more information about collection and recycling of used batteries, please contact your local municipality, your waste disposal service or the point of sale where you purchased this item.
Troubleshooting
| Problem | Possible Cause | Corrective Action |
| There is no power and the logs do not glow. | The unit does not have power. | Check that the unit is plugged into a standard 120 volt outlet. Then make sure power is set to the “ON” position. |
| E1 displayed on control panel. | The overheat protection device has been engaged. | Unplug the unit and wait 5-10 minutes to allow the sensor to reset itself. Plug the unit back in and turn on the heater. If the problem persists, call customer service. |
| E2 displayed on control panel. | The ambient temperature sensor is broken or not working correctly. | Unplug the unit and wait 5-10 minutes to allow the sensor to reset itself. Plug the unit back in and turn on the heater. If the problem persists, call customer service. |
| E3 displayed on control panel. | Child lock function is activated. | To deactivate the Child Lock function, hold the Lock button for 3 seconds. |
| E4 displayed on control panel. | The fan blower is not working. | Unplug the unit and wait 5-10 minutes to allow it to reset itself. Plug the unit back in and turn it on. If the problem persists, call customer service. |
| Fan motor continues to blow after unit is powered off. | Normal operation. | This is a standard feature; the blower runs for an additional 20 seconds to ensure heat will not be trapped inside the unit. |
|
Power cord gets warm to the touch. |
Normal operation. | This is normal for a heater appliance as it requires more current to operate. Check the connections of the appliance cord and the outlet. During use, check the plug and outlet frequently to determine if it is HOT; if so, discontinue use of the appliance and consult with a qualied electrician to check or change the overheating outlet(s). |
Questions, problems, missing parts? Before returning to the store, call Home Decorators Collection Customer Service
8 a.m. – 7 p.m., EST, Monday – Friday, 9 a.m. – 6 p.m., EST, Saturday
1-800-986-3460
HOMEDEPOT.COM/HOMEDECORATORS




WARNING: For the best effect install the fireplace out of direct sunlight and away from overhead lighting.
STUD WALL:
DRYWALL:
CONCRETE WALL:


WARNING: Enclosed wall anchors (BB) only can be used on the concrete wall.
DRYWALL:
CONCRETE WALL:


















