Read this manual carefully before use, and retain it for future reference.
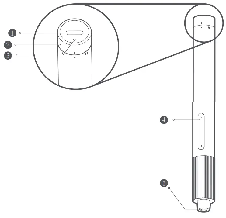
Product Overview
Thank you for using Xiaomi Electric Precision Screwdriver.

- Type-C Charging Port
- Torque Adjustment Knob
- Charging Indicator
- Screw Turning Button
- Bit Holder
How to Use
Screw Turning Button
- Press R to tighten the screw.
- Press L to loosen the screw.

Torque Adjustment Knob
- Turn the torque adjustment knob to gear to turn off the screwdriver.
- Turn the torque adjustment knob to I gear to set the screwdriver to the low-torque mode.
- Turn the torque adjustment knob to II gear to set the screwdriver to the high-torque mode.

Installing the bit
- Take the bit out of the inner storage case, and insert it into the bit holder.

Indicator status
- When the screwdriver is working and its battery level is less than 20%, the indicator will quickly blink red for 5 seconds. And the indicator will be off after the button is
released. Please charge the screwdriver immediately. - During charging, the indicator will breathe red.
- When the screwdriver is fully charged, the indicator will turn white.

This screwdriver is equipped with a USB charging cable and features a universal Type-C charging port.
- Inner Storage Case
- Bit
- Screwdriver Handle
- Storage Case Shell

Opening and closing the storage case
- Press the inner storage case from the top to open it.
- Press the inner storage case from the top again to close it.
Note: Once being pressed, the inner storage case will pop up and can easily slide out.
Bit storage
- The bits in the inner storage case are held in place by magnetic absorption.
- Place the bit in its slot after using it, which will stick into the slot by itself.
Screwdriver storage
- The screwdriver is held in place by the clip in the inner storage case. Follow the direction of taking it out. Press the screwdriver into place after using.

General Power Tool Safety Warnings
WARNING! Read all safety warnings, instructions, illustrations, and specifications provided with this power tool. Failure to follow all instructions listed below may result
in electric shock, fire, and/or serious injury. Save all warnings and instructions for future reference. The term “power tool” in the warnings refers to your mains-operated (corded) power tool or battery-operated (cordless) power tool.
Work Area Safety
- Keep work area clean and well-lit. Cluttered or dark areas invite accidents.
- Do not operate power tools in explosive atmospheres, such as in the presence of flammable liquids, gases, or dust. Power tools create sparks that may ignite dust or fumes.
- Keep children and bystanders away while operating a power tool. Distractions can cause you to lose control.
Electrical safety
- Power tool plugs must match the outlet. Never modify the plug in any way. Do not use any adapter plugs with earthed (grounded) power tools. Unmodified plugs and matching outlets will reduce the risk of electric shock.
- Avoid body contact with earthed or grounded surfaces, such as pipes, radiators, ranges, and refrigerators. There is an increased risk of electric shock if your body is earthed or grounded.
- Do not expose power tools to rain or wet conditions. Water entering a power tool will increase the risk of electric shock.
- Do not abuse the cord. Never use the cord for carrying, pulling, or unplugging the power tool. Keep cord away from heat, oil, sharp edges, or moving parts. Damaged
or entangled cords increase the risk of electric shock. - When operating a power tool outdoors, use an extension cord suitable for outdoor use. The use of a cord suitable for outdoor use reduces the risk of electric shock.
- If operating a power tool in a damp location is unavoidable, use a residual current device (RCD) protected supply. The use of an RCD reduces the risk of electric shock.
Personal Safety
- Stay alert, watch what you are doing, and use common sense when operating a power tool. Do not use a power tool while you are tired or under the influence of drugs, alcohol or medication. A moment of inattention while operating power tools may result in serious personal injury.
- Use personal protective equipment. Always wear eye protection. Protective equipment such as a dust mask, non-skid safety shoes, hard hat, or hearing protection used for appropriate conditions will reduce personal injuries. Prevent unintentional starting. Ensure the switch is in the off-position before connecting to a power source and/or battery pack, picking up or carrying the tool. Carrying power tools with your finger on the switch or energizing power tools that have the switch on invites accidents.
- Remove any adjusting key or wrench before turning the power tool on. A wrench or a key left attached to a rotating part of the power tool may result in personal injury.
Do not overreach. Keep proper footing and balance at all times. This enables better - control of the power tool in unexpected situations.
- Dress properly. Do not wear loose clothing or jewelry. Keep your hair and clothing away from moving parts. Loose clothes, jewelry, or long hair can be caught in
moving parts. - If devices are provided for the connection of dust extraction and collection facilities, ensure these are connected and properly used. The use of dust collection can reduce
dust-related hazards. - Do not let familiarity gained from frequent use of tools allow you to become complacent and ignore tool safety principles. A careless action can cause severe injury within a fraction of a second.
Power Tool Use And Care
- Do not force the power tool. Use the correct power tool for your application. The correct power tool will do the job better and safer at the rate at which it was designed.
- Do not use the power tool if the switch does not turn on and off. Any power tool that cannot be controlled with the switch is dangerous and must be repaired.
- Disconnect the plug from the power source and/or remove the battery pack, if detachable, from the power tool before making any adjustments, changing accessories, or storing power tools. Such preventive safety measures reduce the risk of starting the power tool accidentally.
- Store idle power tools out of the reach of children and do not allow persons unfamiliar with the power tool or these instructions to operate the power tool. Power tools are dangerous in the hands of untrained users.
- Maintain power tools and accessories. Check for misalignment or binding of moving parts, breakage of parts, and any other condition that may affect the power tool’s operation. If damaged, have the power tool repaired before use. Many accidents are caused by poorly maintained power tools.
- Use the power tool, accessories and tool bits, etc. in accordance with these instructions, taking into account the working conditions and the work to be performed. Use of the power tool for operations different from those intended could result in a hazardous situation.
- Keep handles and grasping surfaces dry, clean, and free from oil and grease. Slippery handles and grasping surfaces do not allow for safe handling and control of the tool in unexpected situations.
Battery tool use and care
- Recharge only with the charger specified by the manufacturer. A charger that is suitable for one type of battery pack may create a risk of fire when used with another battery pack.
- Use power tools only with specifically designated battery packs. Use of any other battery packs may create a risk of injury and fire.
- When the battery pack is not in use, keep it away from other metal objects, like paper clips, coins, keys, nails, screws, or other small metal objects, that can make a connection from one terminal to another. Shorting the battery terminals together may cause burns or a fire.
- Under abusive conditions, liquid may be ejected from the battery; avoid contact. If contact accidentally occurs, flush with water. If liquid contacts eyes, additionally seek medical help. Liquid ejected from the battery may cause irritation or burns.
- Do not use a battery pack or tool that is damaged or modified. Damaged or modified batteries may exhibit unpredictable behavior resulting in fire, explosion or
risk of injury. - Do not expose a battery pack or tool to fire or excessive temperature. Exposure to fire or temperature above 130°C may cause an explosion.
- Follow all charging instructions and do not charge the battery pack or tool outside the temperature range specified in the instructions. Charging improperly or at temperatures outside the specified range may damage the battery and increase the risk of fire.
Service
- Have your power tool serviced by a qualified repair person using only identical replacement parts. This will ensure that the safety of the power tool is maintained.
- Never service damaged battery packs. Service of battery packs should only be performed by the manufacturer or authorized service providers.
Safety instructions for all operations
- Hold the power tool by insulated gripping surfaces, when performing an operation where the cutting accessory or fasteners may contact hidden wiring. Cutting accessory contacting a “live” wire may make exposed metal parts of the power tool “live” and could give the operator an electric shock.
Safety instructions when using long drill bits
- Never operate at a higher speed than the maximum speed rating of the drill bit. At higher speeds, the bit is likely to bend if allowed to rotate freely without contacting
the workpiece, resulting in personal injury. - Always start drilling at low speed and with the bit tip in contact with the workpiece. At higher speeds, the bit is likely to bend if allowed to rotate freely without
contacting the workpiece, resulting in personal injury. - Apply pressure only in direct line with the bit and do not apply excessive pressure. Bits can bend causing breakage or loss of control, resulting in personal injury.
Additional safety information
- Secure the workpiece. A workpiece clamped with clamping devices or in a vice is held more secure than by hand.
- Always wait until the power tool has come to a complete stop before placing it down. The application tool can jam and cause you to lose control of the power tool.
- Switch the power tool off immediately if the application tool becomes blocked. Be prepared for high torque reactions which cause kickback. The application tool becomes blocked when it becomes jammed in the workpiece or when the power tool becomes overloaded.
- Use suitable detectors to determine if there are hidden supply lines or contact the local utility company for assistance. Contact with electric cables can cause fire and
electrical shock. Damaging gas lines can lead to explosions. Breaking water pipes causes property damage. - Hold the power tool securely. When tightening and loosening screws be prepared for temporarily high torque reactions.
- In case of damage and improper use of the battery, vapors may be emitted. The battery can set alight or explode. Ensure the area is well ventilated and seek medical
attention should you experience any adverse effects. The vapors may irritate the respiratory system. - Do not open the battery. There is a risk of short-circuiting.
- The battery can be damaged by pointed objects such as nails or screwdrivers or by force applied externally. An internal short circuit may occur, causing the battery to burn, smoke, explode or overheat.
- Only use the battery with products from the manufacturer. This is the only way in which you can protect the battery against dangerous overload.
- Protect the battery against heat, e.g. against continuous intense sunlight, fire, dirt, water, and moisture. There is a risk of explosion and short-circuiting.
- Power Adapter Output:
14A Max. - Ambient Temperature while Charging: 0 to 45°C
All products bearing this symbol are waste electrical and electronic equipment (WEEE as in directive 2012/19/EU) which should not be mixed with unsorted household waste. Instead, you should protect human health and the environment by handing over your waste equipment to a designated collection point for the recycling of waste electrical and electronic equipment, appointed by the government or local authorities. Correct disposal and recycling will help prevent potential negative consequences to the environment and human health. Please contact the installer or local authorities for more information about the location as well as the terms and conditions of such collection points.
We Shanghai HOTO Technology Co., Ltd., hereby, declare that this equipment is in compliance with the applicable Directives and European Norms, and amendments. The full text of the EU declaration of conformity is available at the following internet address:http://www.mi.com/global/service/support/declaration.html
Federal Communications Commission Supplier’s
Declaration of Conformity
This supplier’s declaration of conformity is hereby for
Product: Xiaomi Electric Precision Screwdriver
Model Number(s): MJDDLSD003QW
Brand/Trade: Xiaomi
We declare that the above-mentioned device has been tested
and found in compliance with CFR 47 Part 15 Regulation.
This device complies with part 15 of the FCC Rules. Operation is subject to the following two conditions: (1) This device may not cause harmful interference, and (2) this device
must accept any interference received, including interference that may cause undesired operation.
Note: This equipment has been tested and found to comply with the limits for a Class B digital device, pursuant to part 15 of the FCC Rules. These limits are designed to provide reasonable protection against harmful interference in a residential installation. This equipment generates, uses, and can radiate radio frequency energy and, if not installed and used in accordance with the instructions, may cause harmful interference to radio communications. However, there is no guarantee that interference will not occur in a particular installation. If this equipment does cause harmful interference to radio or television reception, which can be determined by turning the equipment off and on, the user is encouraged to try to correct the interference by one or more of the following measures:
- Reorient or relocate the receiving antenna.
- Increase the separation between the equipment and receiver.
- Connect the equipment into an outlet on a circuit different from that to which the receiver is connected.
- Consult the dealer or an experienced radio/TV technician for help.
Responsible Party – U.S. Contact Information
Company: TEKMOVIL LLC
Address: 601 BRICKELL KEY DR #723 Miami, FL 33131
Country: U.S.A.
Telephone No.: +1(312)282-5246
Internet contact information: [email protected]
Representative of Responsible Party for SDoC
Company: Shanghai HOTO Technology Co., Ltd.
Address: Building 45, No.50 Moganshan Road, Putuo District, Shanghai, China
Country: China
Telephone No.: 400-021-8696
Troubleshooting
| Error | Possible Causes | Solutions |
| The screwdriver does not work | The torque adjustment knob is turned to gear, or the lithium battery level is low. | Turn the torque adjustment knob to the I gear or II gear as needed, or charge the device. |
| Bit cannot be installed | Bit size does not match the size of the bit holder. | Use the C4 bits. |
| Bit is covered with rust | The storage environment is overly humid. | Store the bites in a dry environment, and regularly apply antirust oil on the surface of the bits. |
| Screw cannot be turned or is stripped | A wrong torque mode is used. | First set the screwdriver to the low-torque mode, and then set it to the high-torque mode if the force is not enough. Or tighten or loosen the screw manually. |
| Battery cannot be charged | The USB cable is not properly plugged in or the charging voltage is not suitable. | Check if the charging indicator is on, properly plug in the USB cable, and use the special ed charging voltage. |
Specifications
| Model: MJDDLSD003QW | Maximum Torque for I Gear: 0.05 N·m |
| Color: Gray | Maximum Torque for II Gear: 0.2 N·m |
| Item Dimensions: 201.8 × 74.2 × 25.2 mm | Manual Maximum Torque: 3 N·m |
| Net Weight: 353 g | Charging Specifications: 5 V |
| Screwdriver Dimensions: 159 × Φ16.4 mm | Rated Voltage: 3.7 V |
| Screwdriver Net Weight: 59 g | Lithium Battery: 350 mAh |
| Charging Time: 160–200 min | Rotation per Minute (Unloaded): 170 rpm |
Bit
| Bit Specifications: C4×28 mm 、C4×45 mm | Bit Materials: S2 Steel |
| Phillips-head: PH000/PH00/PH0/PH1 | Penta: P2/P5 |
| Allen: H0.7/H0.9/H1.5/H2.0 | W Shape: W1.5 |
| Standard: SL1.5/SL2.0 | Y Shape: Y0.6/Y1 |
| Torx: T2/T3/T4 | Triangular: 2.3 |
| Torx with a Hole: T5H/T6H/T8H/T9H/T10H |
Note: The specifications of PH0/PH1/SL2.0/T8H/T10H/H2.0 are C4 × 45 mm, and the specifications of others are C4 × 28 mm.
Manufactured for: Xiaomi Communications Co., Ltd.
Manufactured by: Shanghai HOTO Technology Co., Ltd.
(a Mi Ecosystem company)
Address: Building 45, No.50 Moganshan Road, Putuo District, Shanghai, China
For further information, please go to www.mi.com
User Manual Version: V1.0




















