THULE 187029 Roof Racks Instruction Manual
Package Contents
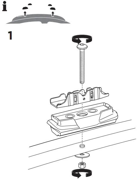
This kit is only for vehicles with fixpoint mounting.

Induction


- MERCEDES VOLKSWAGEN

FORD
- MERCEDES VOLKSWAGEN

FORD





© Thule Group 2021. All rights reserved.
Thule Sweden AB, Borggatan 5
335 73 Hillerstorp, SWEDEN
[email protected]
www.thule.com




























