kogan KAVACSTC07B C7 Cordless 22.2V Stick Vacuum Cleaner

SAFETY & WARNINGS
To reduce the risk of fire, electric shock or injury to persons or property, the following basic safety precautions should always be followed:
- Never use this appliance with a damaged cord, plug or other damaged parts. Check if the voltage indicated on the label corresponds with the local mains voltage before you connect the appliance.
- Always ensure the charging connector, cord and plug are dry. Never immerse the appliance into the water or any other liquid. Do not rinse it under a tap except for the dust cup, the HEPA filter and the rolling brush parts.
- Always ensure that your hands are dry before removing the plug from the mains outlet. Never pull the plug out of the mains outlet by its cord.
- Children should always be supervised to ensure that they do not play with this appliance.
- The appliance should not be used by adults or children who lack experience, product knowledge or disability which might cause a hazard unless they have been correctly instructed.
- Always keep the battery pack far from the fire and flammable items.
- Never use this appliance to suck liquids, glass, metal fragments and burning things such as ashes, cigarette butts and matches and so on.
- Always ensure that the dust cup and the battery pack are installed before using.
- If the cord, plug and any other parts get damaged or the appliance falls into water, stop use and immediately unplug from the main power. Never disassemble the main body, repair or replace any parts by yourself.
Do not use any non-original parts with the unit as they may cause damage.
OVERVIEW

- Main unit
- Dust cup
- Cyclone cone
- Battery pack
- Electrical tube
- Floor brush
COMPONENTS LIST
- Main body
- Floor brush
- Battery pack
- Crevice tool
- Electrical tube
- Adapter
- Storage base
- Stretch brush
- User guide
Note:
Illustrations in this user guide are for reference only and may differ slightly.
ASSEMBLY
- Insert the battery pack into the main body as picture shows. You will hear a click sound when fitted.
- Connect the tube to the main body.
- Connect the floor brush to the tube.
Note:
A new unit may become hot with a slight plastic odour after running the motor at high speed for several minutes. This is normal and not a cause for concern.



OPERATION
Press the ON/OFF button to cycle between on, high power and off.

Lithium battery charging
Attention: Use only the original charger or a replacement specified by Kogan.com; otherwise, the lithium battery can be damaged.
The battery needs to be charged when the indicator lights blink. The indicator lights will continue blinking while charging and turn green when fully charged.

CLEANING & CARE
Storage
Place the machine into the storage base when not in use.
Dust cup cleaning and maintenance
Method 1:
- Press the dust drop button and empty the dust into a rubbish bin.

Method 2:
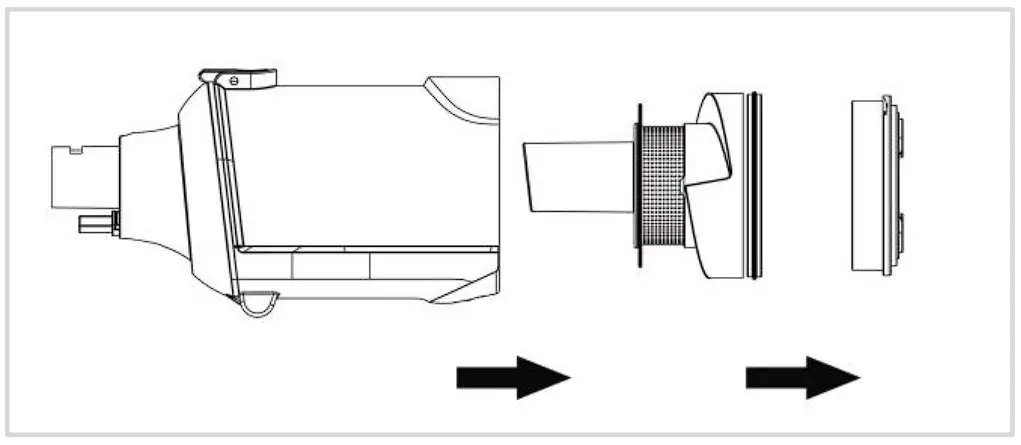
- Press the dust cup release button and take out the dust cup from the main body as the picture below.

- Take off the HEPA filter and cyclone cone, empty all the rubbish and clean it. Install them back as the picture below after the parts have air dried.

- Attention: Do not use the machine before reinstalling the HEPA filter and cyclone cone or it may damage the unit.
Floor brush cleaning and maintenance
Step 1:
- Press the roll brush release button.

Step 2:
- Take the roll brush out.

Step 3:
- Wash the roll brush and dry it.
Install as illustrated below.
Step 4:
- Reset the roll brush release button to the lock position.
TROUBLESHOOTING
| Problem | Possible causes | Resolutions |
| Not working |
|
|
| Weak suction |
|
|
| No LED light is shown when charging |
|
|
| Not full battery after charging |
|
|
| Floor brush not working |
|
|
SPECIFICATIONS
| Lithium battery | 2200mAh |
| Voltage | 22.2V |
| Adaptor voltage | ~100-240V |
| Adaptor output | 27V 0.5A |
| Power | 120W |
| Noise | Approx. 68dB |
| Usage time | Approx. 30 minutes |
| Charging time | Approx. 4 hours |
| Item size | 390 x 220mm |
| Item weight | 1.44kg (Main unit) 2.47kg (Main unit attached to the electrical tube and floor brush) |
NOTES
___________________________________________________________________________________________________________________________________________________________________________________________________________________________________________________________________________________________________________________________________________________________________________________________________________________________________________________________________________________________________________________________________________________________________________________________________________________________________________________________________________________________________________________________________________________________________________________________________________________________________________________
Need more information?
We hope that this user guide has given you the assistance needed for a simple set-up.
For the most up-to-date guide for your product, as well as any additional assistance you may require, head online to help.kogan.com


























