IKEA SONGESAND Wardrobe

Product Information
The product is called SONGESAND. It is a piece of furniture that comes with drawers, doors, and shelves for storage purposes. The user manual provides important warnings and instructions to ensure safety while using the product. It highlights the risk of furniture tip-over and emphasizes the need to secure the furniture to the wall using tip-over restraints. It also provides specific recommendations to reduce the risk of serious injury and death:
- Place the heaviest items in the lower drawer.
- Do not set TVs or other heavy objects on top of this product.
- Never let children climb or hang on drawers, doors, or shelves.
Product Usage Instructions
- Before using the product, make sure to secure it to the wall using tip-over restraints. Follow the instructions provided in the user manual for proper installation.
- When organizing items in the drawers, place the heaviest items in the lower drawer to maintain stability.
- Avoid placing TVs or other heavy objects on top of the product as it can increase the risk of tipping over.
- Ensure that children do not climb or hang on drawers, doors, or shelves to prevent accidents and injuries.
- If you are uncertain about the type of wall you have, seek professional advice to determine the appropriate screws and plugs to use for installation.
By following these instructions and taking necessary precautions, you can safely use the SONGESAND product and minimize the risk of accidents or injuries.
WARNING
- Serious or fatal crushing injuries can occur from furniture tip-over.
- ALWAYS secure this furniture to the wall using tip-over restraints.
To further reduce the risk of serious injury and death from tip-overs:
- Place heaviest items in the lower drawer.
- Do not set TVs or other heavy objects on top of this product.
- Never let children climb or hang on drawers, doors, or shelves.
Tools


Warning


Info

Parts



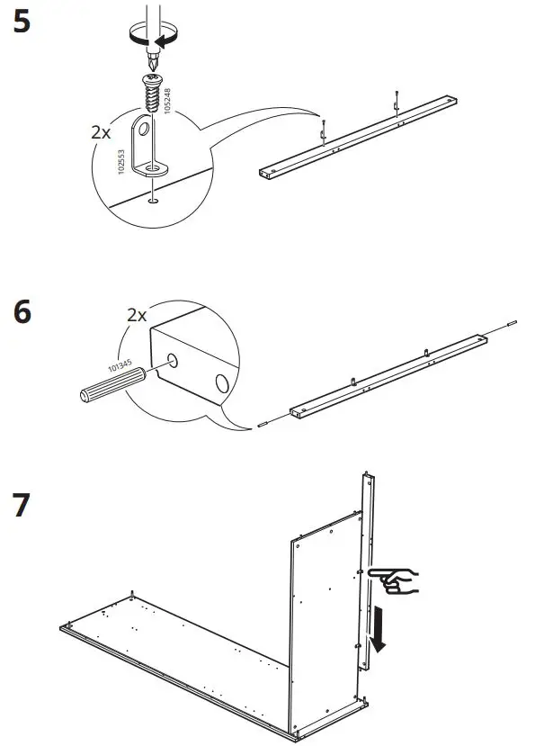
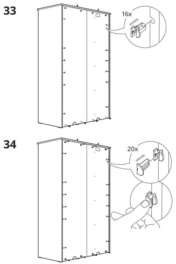
Installation Instructions























Warning
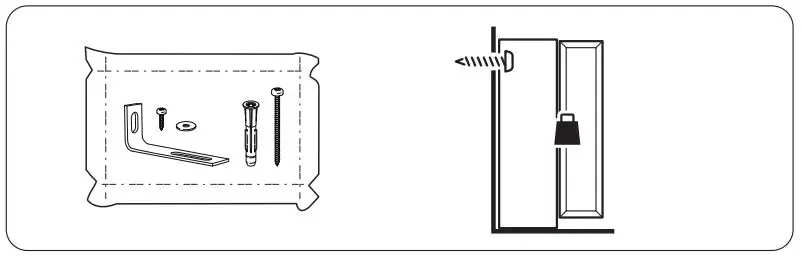
- The screw(s) and plug(s) supplied can be used with most solid (A) and hollow (B) walls. For solid wood (C) use the screw(s) without plug(s).
- If you are uncertain, seek professional advice.








Info


Care and cleaning
- Wipe clean with a cloth damped in a mild cleaner.
- Wipe dry with a clean cloth.
More Information

© Inter IKEA Systems B.V. 2020









